TOP
|
特許
|
意匠
|
商標
特許ウォッチ
Twitter
他の特許を見る
公開番号
2025143091
公報種別
公開特許公報(A)
公開日
2025-10-01
出願番号
2024042830
出願日
2024-03-18
発明の名称
焼成炉
出願人
ノリタケ株式会社
,
株式会社ノリタケTCF
代理人
個人
,
個人
主分類
F27B
9/30 20060101AFI20250924BHJP(炉,キルン,窯;レトルト)
要約
【課題】被処理物から発生した揮発物質が、焼成炉の扉に付着することを抑制することができる。
【解決手段】ここで開示される焼成炉1は、トンネル状の焼成空間を有する炉体10と、前記炉体の底壁を覆うように焼成空間10aに設けられた底板20と、を有する。炉体10は、被処理物が搬入される搬入口11と、被処理物が搬出される搬出口12と、被処理物を加熱処理するための加熱室70と、を備える。前記搬入口11には、第1シャッター41aが設けられている。前記搬出口12には、第2シャッター41bが設けられている。前記炉体10の底壁10bは、前記搬入口11側の端部11aと前記搬出口12側の端部12bとのうち少なくとも一方の端部に給気口50を有し、前記底板20の底面20bとの間隙に、前記給気口50から前記底板20の端部に至る流路を有する。
【選択図】図6
特許請求の範囲
【請求項1】
被処理物を加熱処理するためのトンネル状の焼成空間を有する加熱室と、
前記加熱室の第1側に設けられた搬入口と、
前記加熱室の第2側に設けられた搬出口と、
を備える炉体と、
前記炉体の底壁を覆うように焼成空間に設けられた底板と、
前記搬入口を開閉する第1シャッターと、
前記搬出口を開閉する第2シャッターと、
を有し、
前記炉体の底壁は、前記搬入口側の端部と前記搬出口側の端部とのうち少なくとも一方の端部に給気口を有し、
前記底板の底面と前記炉体の底壁との間隙に、前記給気口から前記底板の端部に至る流路を有する、焼成炉。
続きを表示(約 300 文字)
【請求項2】
前記第1シャッター及び/又は第2シャッターの外周縁部には、シール材が設けられている、請求項2に記載の焼成炉。
【請求項3】
前記第1シャッター及び/又は第2シャッターのシール材を冷却するための冷却機構が設けられている、請求項3に記載の焼成炉。
【請求項4】
前記搬入口には、第1置換室が備えられており、
前記搬出口には、第2置換室が備えられている、請求項1に記載の焼成炉。
【請求項5】
前記給気口から前記底板の端部に至る流路は、前記底板の底面に設けられた凹みである、請求項1から5のいずれか1項に記載の焼成炉。
発明の詳細な説明
【技術分野】
【0001】
本開示は、焼成炉に関する。
続きを表示(約 1,900 文字)
【背景技術】
【0002】
特開2023-148905号公報には、処理物が搬送される搬送空間を隔離するトンネル状のマッフル炉が開示されている。かかるマッフル炉は、プッシャー炉であるため、処理物が押されながら進む。マッフル炉は、搬入部と、搬送部と、搬送用プッシャーと、搬出用プッシャーとを有している。搬送用プッシャーは、マッフル炉内の搬送部の処理物を前方に向けて押し出す。搬出用プッシャーは、マッフル炉内の搬送部の処理物を搬出部に向けて押し出す。マッフル炉では、典型的には、マッフルの底面や側面に雰囲気ガスを導入するための給気装置が接続されている。
【0003】
特開平10-267544号公報には、ガス供給手段を備えた連続式熱処理炉が開示されている。かかるガス供給手段としては、マッフルの天井部または側壁部の表面に沿ってガスを供給する第1ガス供給手段と、該第1ガス供給手段よりも遅い速度で被熱処理物(ワーク)に向けてガスを供給する第2ガス供給手段とからなる。この連続式熱処理炉では、天井部や側壁部には速い速度のガスが供給されているため、ワークから発生した揮発物質が炉本体の天井部や側壁部に付着することを防止できる。
【0004】
特開2011-64423号公報には、炉体内部に第1ゾーン(予備ゾーン)と第2ゾーン(熱処理ゾーン)を備える熱処理装置が開示されている。上記予備ゾーンでは、ガス吸引口と、被処理物から発生した反応ガスを露点温度以下まで冷却する冷却器と、上記蒸発ガスの液化物を排出する排水機構とが、搬送路の下方に配置されている。上記予備ゾーンは、熱処理装置の搬入口を通過直後に被処理物が通る区画である。この熱処理装置では、搬送路の下方に反応ガスを誘引させるため、被処理物の上方における蒸発ガスの結露と被処理物への滴下を防止できる。
【先行技術文献】
【特許文献】
【0005】
特開2023-148905号公報
特開平10-267544号公報
特開2011-64423号公報
【発明の概要】
【発明が解決しようとする課題】
【0006】
被処理物は、高温加熱によって被処理物中の成分が気化若しくは昇華し、反応ガスとしてマッフル内で滞留する。このような被処理物から発生した反応ガスの一部(例えば、バインダやタール等)又は溶融若しくは半溶融状態の飛灰粒子は、焼成炉の出入り口近傍等の温度の低下しやすい領域で固化しやすい。焼成炉の出入口の扉に固化した被処理物が付着した場合、開閉機能を損なうおそれがある。
【0007】
本開示は、かかる点に鑑みてなされたものであり、その目的とするところは、反応ガスに含まれる被処理物に由来する成分が、焼成炉の出入口の扉やその周辺に付着することを低減させることにある。
【0008】
ここで開示される焼成炉の一態様は、被処理物を加熱処理するためのトンネル状の焼成空間を有する加熱室と、前記加熱室の第1側に設けられた搬入口と、前記加熱室の第2側に設けられた搬出口と、を備える炉体を有している。前記炉体の底壁には、該底壁を覆うように設けられた底板が備えられている。前記炉体の搬入口は、第1シャッターを有している。また、前記搬出口は、第2シャッターを有している。前記炉体の底壁は、前記搬入口側の端部と前記搬出口側の端部とのうち少なくとも一方の端部に給気口を有しており、前記底板の底面と前記炉体の底壁との間隙に、前記給気口から前記底板の端部に至る流路を有する。
【0009】
かかる焼成炉によれば、開閉機構の表面にガス流動層が形成される。このため、反応ガスが、開閉機構の表面に形成されたガス流動層により、開閉機構に近づくことを妨げることができる。かかる効果は、反応ガス中に含まれる被処理物に由来する成分が、開閉機構に付着することを低減することができる。
【図面の簡単な説明】
【0010】
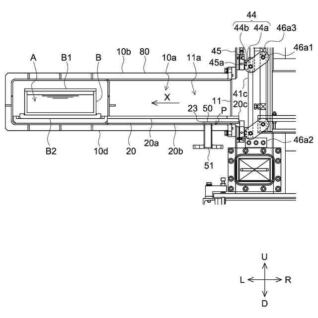
図1は、焼成炉1の模式的な平面図である。
図2は、加熱室70の縦断面側面図である。
図3は、搬入室80の縦断側面図である。
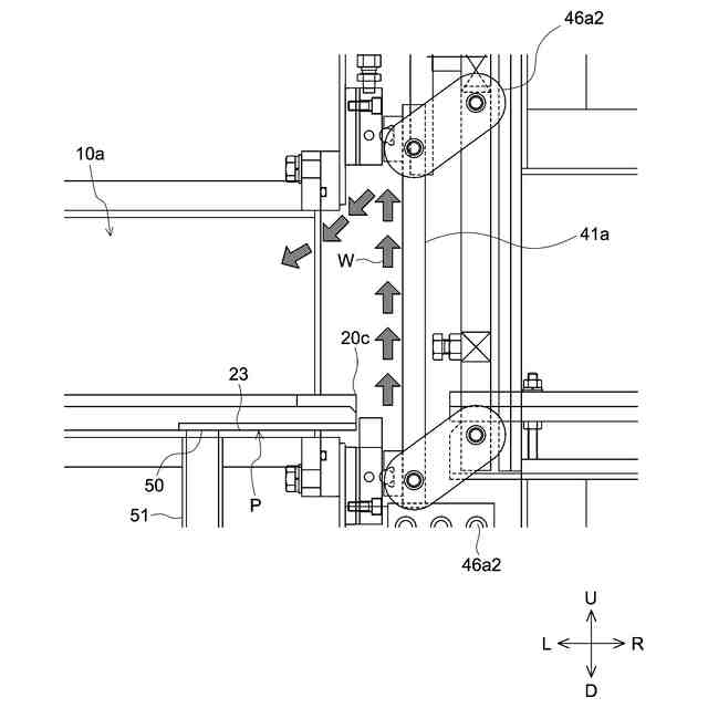
図4は、底板20の底面20bを下から見た模式図である。
図5は、第1シャッター41aの閉鎖時における雰囲気ガスの流れを模式的に示した図である。
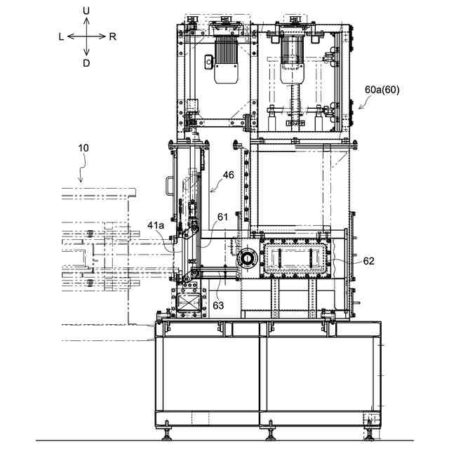
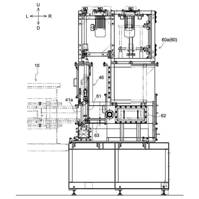
図6は、第1置換室60aの縦断側面図である。
【発明を実施するための形態】
(【0011】以降は省略されています)
この特許をJ-PlatPat(特許庁公式サイト)で参照する
関連特許
ノリタケ株式会社
焼成炉
2日前
ノリタケ株式会社
焼成炉
2日前
ノリタケ株式会社
焼成炉
2日前
ノリタケ株式会社
熱処理設備
1か月前
ノリタケ株式会社
熱処理設備
1か月前
ノリタケ株式会社
熱処理装置
1か月前
ノリタケ株式会社
金ペースト
4日前
ノリタケ株式会社
ガス吸収シート
15日前
ノリタケ株式会社
砥材及びその製造方法
今日
ノリタケ株式会社
インクジェットインク
1か月前
ノリタケ株式会社
搬送装置および熱処理装置
今日
ノリタケ株式会社
搬送装置および熱処理装置
今日
ノリタケ株式会社
砥粒内包型高強度研磨パッド
4日前
ノリタケ株式会社
シリコンウエーハの研磨方法
1か月前
ノリタケ株式会社
導電性インク用インクジェット装置
16日前
ノリタケ株式会社
冷却装置およびそれを備えた熱処理装置
14日前
ノリタケ株式会社
砥材、砥材の製造方法及び砥石の製造方法
今日
ノリタケ株式会社
導電ペーストおよび導電ペーストの製造方法
28日前
ノリタケ株式会社
半導体基板の平面研磨方法及び平面研磨装置
今日
ノリタケ株式会社
タンパク質吸着方法、タンパク質精製方法、ならびにタンパク質精製装置
14日前
東邦チタニウム株式会社
ニッケル含有粒子、ニッケル含有粒子の製造方法及び、スラリー
24日前
ノリタケ株式会社
タンパク質吸着方法、タンパク質精製方法、ならびにタンパク質精製装置
14日前
ノリタケ株式会社
ビトリファイド砥石の製造方法、それに用いる砥材、および、ビトリファイド砥石
1か月前
株式会社サンコー
浸漬ヒーター
15日前
東京窯業株式会社
セッター
4か月前
中外炉工業株式会社
熱処理炉
4日前
株式会社プロテリアル
スラグ除滓装置
9か月前
中外炉工業株式会社
処理炉
3か月前
ノリタケ株式会社
熱処理装置
2か月前
ノリタケ株式会社
連続加熱炉
5か月前
有限会社ヨコタテクニカ
リフロー炉
2か月前
ノリタケ株式会社
連続加熱炉
5か月前
ファーネス重工株式会社
熱風循環炉
5か月前
株式会社不二越
搬送システム
4か月前
ノリタケ株式会社
熱処理装置
4か月前
ノリタケ株式会社
サヤ
3か月前
続きを見る
他の特許を見る