TOP
|
特許
|
意匠
|
商標
特許ウォッチ
Twitter
他の特許を見る
公開番号
2025140746
公報種別
公開特許公報(A)
公開日
2025-09-29
出願番号
2024040311
出願日
2024-03-14
発明の名称
金ペースト
出願人
ノリタケ株式会社
代理人
個人
,
個人
主分類
H01C
1/142 20060101AFI20250919BHJP(基本的電気素子)
要約
【課題】焼成時に生じる発泡を抑制し、表面が平滑な導体膜を形成できる金ペーストの提供を目的とする。
【解決手段】ここに開示される金ペーストは、少なくとも、金粒子と、ガラス粒子と、分散媒とを含み、上記ガラス粒子はアルカリ金属元素またはアルカリ土類金属元素から選択される少なくとも一種を含み、BET換算に基づく上記金粒子の平均粒子径D
BET
(μm)に対する上記金ペースト中に含まれるガラスの総表面積S
t
(m
2
)の比(S
t
/D
BET
)が0.11以下であることを特徴とする。かかる構成の金ペーストによれば、焼成時に生じる発泡を抑制し、表面が平滑な導体膜を形成することができる。
【選択図】図2
特許請求の範囲
【請求項1】
少なくとも、金粒子と、ガラス粒子と、分散媒とを含み、
前記ガラス粒子はアルカリ金属元素またはアルカリ土類金属元素から選択される少なくとも一種を含み、
BET換算に基づく前記金粒子の平均粒子径D
BET
(μm)に対する金ペースト中に含まれる前記金粒子1gあたりのガラスの総表面積S
t
(m
2
)の比(S
t
/D
BET
)が0.11以下である、
金ペースト。
続きを表示(約 720 文字)
【請求項2】
前記金ペースト中に含まれる前記金粒子を100重量部とした時、前記ガラス粒子の含有量が0.8重量部以上3.2重量部以下である、
請求項1に記載の金ペースト。
【請求項3】
前記ガラス粒子全体に占めるアルカリ金属成分またはアルカリ土類金属成分の含有率は、酸化物換算で15wt%以上35wt%以下である、
請求項1または2に記載の金ペースト。
【請求項4】
前記ガラス粒子の軟化点は、800℃以上900℃以下である、
請求項1または2に記載の金ペースト。
【請求項5】
前記金粒子の平均粒子径D
BET
(μm)が、0.35μm以上1.5μm以下である、
請求項1または2に記載の金ペースト。
【請求項6】
前記金ペーストは、鉛を実質的に含まない、
請求項1または2に記載の金ペースト。
【請求項7】
前記ガラス粒子は、酸化物換算で以下の組成:
SiO
2
:35wt%~70wt%
B
2
O
3
:2wt%~20wt%
Al
2
O
3
:5wt%~20wt%
RO :15wt%~35wt%
(ここで、RはMg,Ca,Sr,Baからなる群から選択される少なくとも1種の元素を含む)を含む、
請求項1または2に記載の金ペースト。
【請求項8】
サーミスタの導体膜形成に用いられる、
請求項1または2に記載の金ペースト。
発明の詳細な説明
【技術分野】
【0001】
本開示は、金ペーストに関する。
続きを表示(約 1,800 文字)
【背景技術】
【0002】
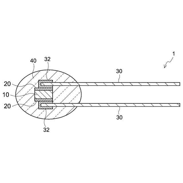
近年、サーミスタ、積層セラミックコンデンサ、積層型インダクタ、積層型圧電素子(積層バリスタ)などのセラミック電子部品が広い分野で使用されている。このようなセラミック電子部品においては、絶縁性基板に導電性材料を用いて導体膜を形成し、この導体膜により配線する技術が広く採用されている。かかる導体膜は、例えば、導電性粒子とガラス粒子を含むペーストを焼成することによって形成される。例えば、サーミスタは、サーミスタ素体と、該サーミスタ素体の表面に導体膜の一例としての表層電極とを備える構成であり得る。
【0003】
従来、化学的な安定性や優れた導電性の観点から上記導電性粒子として金(Au)粒子が用いられている。これに関連する技術として、例えば、特許文献1には、粒径1.0μm以下の金粒子と、軟化点450℃以下のガラスフリットと、有機ビヒクルとを混練分散せしめてなる低温焼成金ペーストが開示されている。そしてガラス粒子に含まれるガラス成分として、ガラス粒子の軟化点と溶融後のガラス成分の流動性を制御する観点からアルカリ金属酸化物やアルカリ土類金属酸化物を含むものが用いられている。このような技術として、例えば特許文献2のような技術が挙げられる。
【先行技術文献】
【特許文献】
【0004】
特開平10-340619号公報
特許7082408号公報
【発明の概要】
【発明が解決しようとする課題】
【0005】
ところで、本発明者の検討によれば、アルカリ金属酸化物やアルカリ土類金属酸化物を含むガラス粒子と金粒子とを含むペーストを焼成した際、ガラス粒子の発泡により、得られた導体膜の表面に凹凸が生じる課題があることを見出した。導体膜の表面に凹凸があると、外観不良の観点で好ましくない。
【0006】
ここに開示される技術は上述の事情に鑑みて創出されたものであり、焼成時に生じる発泡を抑制し、表面が平滑な導体膜を形成できる金ペーストの提供を目的とする。
【課題を解決するための手段】
【0007】
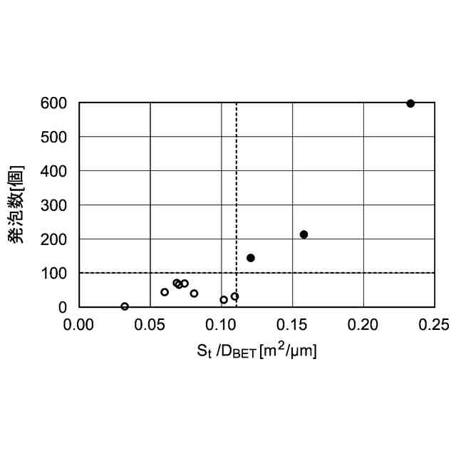
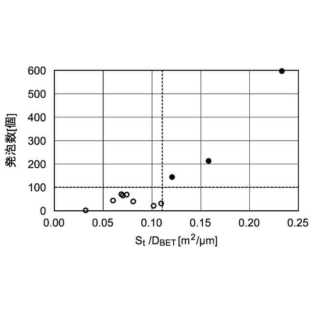
上記目的を実現すべく、本発明者が検討を行った結果、金ペースト中の金粒子とガラス粒子との関係に着目した。具体的には、金ペースト中のガラス粒子は、焼成時に溶融して液状のガラス成分となる。上述の観点に基づいて、本発明者は、さらに鋭意検討を重ねた結果、上記ガラス成分と金粒子とが接触することにより、ガラス成分が反応を起こし、発泡が生じることが分かった。そして、本発明者は、さらに鋭意検討を重ねた結果、金ペースト中のBET換算に基づく金粒子の平均粒子径D
BET
に対する上記金粒子1gあたりのガラス粒子の総表面積Sの比(S
t
/D
BET
)が指標となり、また、上記S
t
/D
BET
を所定の範囲とすることにより、焼成時に生じる発泡を抑制することを見出した。
【0008】
すなわち、ここに開示される金ペーストは、少なくとも、金粒子と、ガラス粒子と、分散媒とを含み、上記ガラス粒子はアルカリ金属元素またはアルカリ土類金属元素から選択される少なくとも一種を含み、BET換算に基づく上記金粒子の平均粒子径D
BET
(μm)に対する上記金ペースト中に含まれるガラスの総表面積S
t
(m
2
)の比(S
t
/D
BET
)が0.11以下であることを特徴とする。
【0009】
かかる構成によれば、上記金ペーストのS
t
/D
BET
を0.11以下とすることにより、該金ペースト中において、上記ガラス粒子と上記金粒子との接触が好適に制御されている。そのため、ガラス粒子の反応を抑制し、発泡を抑制することができる。したがって、ここに開示される金ペーストによれば、焼成時に生じる発泡を抑制し、表面が平滑な導体膜を形成することが可能となる。
【0010】
ここに開示される金ペーストの好適な一態様では、該金ペースト中に含まれる上記金粒子100重量部とした時、上記ガラス粒子の含有量が0.8重量部以上3.2重量部以下である。
(【0011】以降は省略されています)
この特許をJ-PlatPat(特許庁公式サイト)で参照する
関連特許
ノリタケ株式会社
焼成炉
4日前
ノリタケ株式会社
焼成炉
4日前
ノリタケ株式会社
焼成炉
4日前
ノリタケ株式会社
熱処理設備
1か月前
ノリタケ株式会社
熱処理設備
1か月前
ノリタケ株式会社
熱処理装置
1か月前
ノリタケ株式会社
金ペースト
6日前
ノリタケ株式会社
ガス吸収シート
17日前
ノリタケ株式会社
砥材及びその製造方法
2日前
ノリタケ株式会社
インクジェットインク
1か月前
ノリタケ株式会社
搬送装置および熱処理装置
2日前
ノリタケ株式会社
搬送装置および熱処理装置
2日前
ノリタケ株式会社
砥粒内包型高強度研磨パッド
6日前
ノリタケ株式会社
シリコンウエーハの研磨方法
1か月前
ノリタケ株式会社
導電性インク用インクジェット装置
18日前
ノリタケ株式会社
冷却装置およびそれを備えた熱処理装置
16日前
ノリタケ株式会社
砥材、砥材の製造方法及び砥石の製造方法
2日前
ノリタケ株式会社
導電ペーストおよび導電ペーストの製造方法
1か月前
ノリタケ株式会社
半導体基板の平面研磨方法及び平面研磨装置
2日前
ノリタケ株式会社
タンパク質吸着方法、タンパク質精製方法、ならびにタンパク質精製装置
16日前
東邦チタニウム株式会社
ニッケル含有粒子、ニッケル含有粒子の製造方法及び、スラリー
26日前
ノリタケ株式会社
タンパク質吸着方法、タンパク質精製方法、ならびにタンパク質精製装置
16日前
ノリタケ株式会社
ビトリファイド砥石の製造方法、それに用いる砥材、および、ビトリファイド砥石
1か月前
個人
安全なNAS電池
1か月前
日本発條株式会社
積層体
6日前
個人
フリー型プラグ安全カバー
1か月前
東レ株式会社
多孔質炭素シート
25日前
ローム株式会社
半導体装置
25日前
個人
防雪防塵カバー
6日前
エイブリック株式会社
半導体装置
27日前
ローム株式会社
半導体装置
4日前
ローム株式会社
半導体装置
4日前
エイブリック株式会社
半導体装置
27日前
ローム株式会社
半導体装置
2日前
ローム株式会社
半導体装置
4日前
キヤノン株式会社
電子機器
25日前
続きを見る
他の特許を見る