TOP
|
特許
|
意匠
|
商標
特許ウォッチ
Twitter
他の特許を見る
10個以上の画像は省略されています。
公開番号
2025151786
公報種別
公開特許公報(A)
公開日
2025-10-09
出願番号
2024053376
出願日
2024-03-28
発明の名称
ヘッドユニット、及び液体吐出装置
出願人
セイコーエプソン株式会社
代理人
個人
,
個人
,
個人
主分類
B41J
2/14 20060101AFI20251002BHJP(印刷;線画機;タイプライター;スタンプ)
要約
【課題】駆動信号の信号波形に歪みが生じ得るおそれを低減できるヘッドユニットを提供すること。
【解決手段】配線基板は、第1辺、及び第1辺と向かい合って位置する第2辺と、第1駆動信号が供給される第1供給点と、含み、第1辺と第2辺とを結ぶ第1軸と直交する第2軸に沿ってみて、第1電極に第1基準電圧信号が供給され、第2電極にグラウンド信号が供給される第1コンデンサーは、第1プリントヘッドと電気的に接続される出力コネクターと第1供給点との間に位置し、出力コネクターと第1電極との最短距離は、出力コネクターと第2電極との最短距離よりも短く、第1供給点と第1電極との最短距離は、第1供給点と第2電極との最短距離よりも長い、ヘッドユニット。
【選択図】図22
特許請求の範囲
【請求項1】
一端に第1駆動信号が供給され、他端に電圧値が一定の第1基準電圧信号が供給される第1駆動素子を含み、前記第1駆動素子の駆動に応じて液体を吐出する第1プリントヘッドと、
前記第1駆動信号、及び前記第1基準電圧信号を前記第1プリントヘッドに出力する駆動ユニットと、
を備え、
前記駆動ユニットは、
前記第1駆動信号を出力する第1駆動回路と、
前記第1基準電圧信号を出力する第1基準電圧信号出力回路と、
前記第1プリントヘッドと電気的に接続される出力コネクターと、
第1電極に前記第1基準電圧信号が供給され、第2電極にグラウンド信号が供給される第1コンデンサーと、
前記出力コネクターが設けられ、前記第1駆動信号及び前記第1基準電圧信号が伝搬する配線基板と、
を有し、
前記配線基板は、第1辺、及び前記第1辺と向かい合って位置する第2辺と、前記第1駆動信号が供給される第1供給点と、含み、
前記第1辺と前記第2辺とを結ぶ第1軸と直交する第2軸に沿ってみて、前記第1コンデンサーは、前記出力コネクターと前記第1供給点との間に位置し、
前記出力コネクターと前記第1電極との最短距離は、前記出力コネクターと前記第2電極との最短距離よりも短く、
前記第1供給点と前記第1電極との最短距離は、前記第1供給点と前記第2電極との最短距離よりも長い、
ことを特徴とするヘッドユニット。
続きを表示(約 2,700 文字)
【請求項2】
前記第1電極と前記第2電極とは、前記第1軸に沿って位置している、
ことを特徴とする請求項1に記載のヘッドユニット。
【請求項3】
前記駆動ユニットは、
第3電極に前記第1基準電圧信号が供給され、第4電極にグラウンド信号が供給される第2コンデンサーを有し、
前記第2軸に沿ってみて、前記第2コンデンサーは、前記出力コネクターと前記第1供給点との間に位置し、
前記出力コネクターと前記第3電極との最短距離は、前記出力コネクターと前記第4電極との最短距離よりも短く、
前記第1供給点と前記第3電極との最短距離は、前記第1供給点と前記第4電極との最短距離よりも長い、
ことを特徴とする請求項1に記載のヘッドユニット。
【請求項4】
一端に第2駆動信号が供給され、他端に電圧値が一定の第2基準電圧信号が供給される第2駆動素子を含み、前記第2駆動素子の駆動に応じて液体を吐出する第2プリントヘッドを備え、
前記駆動ユニットは、
前記第2駆動信号を出力する第2駆動回路と、
前記第2基準電圧信号を出力する第2基準電圧信号出力回路と、
第5電極に前記第2基準電圧信号が供給され、第6電極にグラウンド信号が供給される第3コンデンサーと、
を有し、
前記出力コネクターは、前記第2プリントヘッドと電気的に接続され、
前記配線基板は、前記第2駆動信号が供給される第2供給点を含み、前記第2駆動信号及び前記第2基準電圧信号を伝搬し、
前記第2軸に沿ってみて、前記第3コンデンサーは、前記出力コネクターと前記第2供給点との間に位置し、
前記出力コネクターと前記第5電極との最短距離は、前記出力コネクターと前記第6電極との最短距離よりも短く、
前記第2供給点と前記第5電極との最短距離は、前記第2供給点と前記第6電極との最短距離よりも長い、
ことを特徴とする請求項1に記載のヘッドユニット。
【請求項5】
前記配線基板は、第1面と、前記第1面と向かい合って位置する第2面と、を含み、
前記第1駆動回路は、前記第1面に設けられ、前記第1コンデンサーは、前記第2面に設けられている、
ことを特徴とする請求項1に記載のヘッドユニット。
【請求項6】
前記駆動ユニットは、前記第1駆動回路が設けられた駆動回路基板を有し、
前記配線基板は、第1面と、前記第1面と向かい合って位置する第2面と、を含み、
前記駆動回路基板は、BtoBコネクターを介して前記第1面と電気的に接続され、前記第1コンデンサーは、前記第2面に設けられている、
ことを特徴とする請求項1に記載のヘッドユニット。
【請求項7】
媒体を搬送する搬送ユニットと、
一端に第1駆動信号が供給され、他端に電圧値が一定の第1基準電圧信号が供給される第1駆動素子を含み、前記第1駆動素子の駆動に応じて前記媒体に液体を吐出する第1プリントヘッドと、
前記第1駆動信号、及び前記第1基準電圧信号を前記第1プリントヘッドに出力する駆動ユニットと、
を備え、
前記駆動ユニットは、
前記第1駆動信号を出力する第1駆動回路と、
前記第1基準電圧信号を出力する第1基準電圧信号出力回路と、
前記第1プリントヘッドと電気的に接続される出力コネクターと、
第1電極に前記第1基準電圧信号が供給され、第2電極にグラウンド信号が供給される第1コンデンサーと、
前記出力コネクターが設けられ、前記第1駆動信号及び前記第1基準電圧信号が伝搬する配線基板と、
を有し、
前記配線基板は、第1辺、及び前記第1辺と向かい合って位置する第2辺と、前記第1駆動信号が供給される第1供給点と、含み、
前記第1辺と前記第2辺とを結ぶ第1軸と直交する第2軸に沿ってみて、前記第1コンデンサーは、前記出力コネクターと前記第1供給点との間に位置し、
前記出力コネクターと前記第1電極との最短距離は、前記出力コネクターと前記第2電極との最短距離よりも短く、
前記第1供給点と前記第1電極との最短距離は、前記第1供給点と前記第2電極との最短距離よりも長い、
ことを特徴とする液体吐出装置。
【請求項8】
前記第1電極と前記第2電極とは、前記第1軸に沿って位置している、
ことを特徴とする請求項7に記載の液体吐出装置。
【請求項9】
前記駆動ユニットは、
第3電極に前記第1基準電圧信号が供給され、第4電極にグラウンド信号が供給される第2コンデンサーを有し、
前記第2軸に沿ってみて、前記第2コンデンサーは、前記出力コネクターと前記第1供給点との間に位置し、
前記出力コネクターと前記第3電極との最短距離は、前記出力コネクターと前記第4電極との最短距離よりも短く、
前記第1供給点と前記第3電極との最短距離は、前記第1供給点と前記第4電極との最短距離よりも長い、
ことを特徴とする請求項7に記載の液体吐出装置。
【請求項10】
一端に第2駆動信号が供給され、他端に電圧値が一定の第2基準電圧信号が供給される第2駆動素子を含み、前記第2駆動素子の駆動に応じて液体を吐出する第2プリントヘッドを備え、
前記駆動ユニットは、
前記第2駆動信号を出力する第2駆動回路と、
前記第2基準電圧信号を出力する第2基準電圧信号出力回路と、
第5電極に前記第2基準電圧信号が供給され、第6電極にグラウンド信号が供給される第3コンデンサーと、
を有し、
前記出力コネクターは、前記第2プリントヘッドと電気的に接続され、
前記配線基板は、前記第2駆動信号が供給される第2供給点を含み、前記第2駆動信号及び前記第2基準電圧信号を伝搬し、
前記第2軸に沿ってみて、前記第3コンデンサーは、前記出力コネクターと前記第2供給点との間に位置し、
前記出力コネクターと前記第5電極との最短距離は、前記出力コネクターと前記第6電極との最短距離よりも短く、
前記第2供給点と前記第5電極との最短距離は、前記第2供給点と前記第6電極との最短距離よりも長い、
ことを特徴とする請求項7に記載の液体吐出装置。
(【請求項11】以降は省略されています)
発明の詳細な説明
【技術分野】
【0001】
本発明は、ヘッドユニット、及び液体吐出装置に関する。
続きを表示(約 3,000 文字)
【背景技術】
【0002】
液体を吐出して媒体に文書や画像を形成する液体吐出装置には、圧電素子を用いたものが知られている。圧電素子は、プリントヘッドにおいて複数の吐出部のそれぞれに対応して設けられる。そして、圧電素子が駆動信号にしたがって駆動されることにより、対応する吐出部から圧電素子の駆動に応じて量の液体が吐出され、媒体にドットが形成される。
【0003】
例えば、特許文献1には、圧電素子を駆動する駆動信号の伝搬経路を最適に配置することで、駆動信号の信号波形に歪みが生じるおそれを低減する技術が開示されている。
【先行技術文献】
【特許文献】
【0004】
特開2023-063709号公報
【発明の概要】
【発明が解決しようとする課題】
【0005】
しかしながら、駆動信号の信号波形に歪みが生じ得るおそれを低減するとの観点において、特許文献1に記載の技術のみでは十分でなく、さらなる改善の余地があった。
【課題を解決するための手段】
【0006】
本発明に係るヘッドユニットの一態様は、
一端に第1駆動信号が供給され、他端に電圧値が一定の第1基準電圧信号が供給される第1駆動素子を含み、前記第1駆動素子の駆動に応じて液体を吐出する第1プリントヘッドと、
前記第1駆動信号、及び前記第1基準電圧信号を前記第1プリントヘッドに出力する駆動ユニットと、
を備え、
前記駆動ユニットは、
前記第1駆動信号を出力する第1駆動回路と、
前記第1基準電圧信号を出力する第1基準電圧信号出力回路と、
前記第1プリントヘッドと電気的に接続される出力コネクターと、
第1電極に前記第1基準電圧信号が供給され、第2電極にグラウンド信号が供給される第1コンデンサーと、
前記出力コネクターが設けられ、前記第1駆動信号及び前記第1基準電圧信号が伝搬する配線基板と、
を有し、
前記配線基板は、第1辺、及び前記第1辺と向かい合って位置する第2辺と、前記第1駆動信号が供給される第1供給点と、含み、
前記第1辺と前記第2辺とを結ぶ第1軸と直交する第2軸に沿ってみて、前記第1コンデンサーは、前記出力コネクターと前記第1供給点との間に位置し、
前記出力コネクターと前記第1電極との最短距離は、前記出力コネクターと前記第2電極との最短距離よりも短く、
前記第1供給点と前記第1電極との最短距離は、前記第1供給点と前記第2電極との最短距離よりも長い。
【0007】
本発明に係る液体吐出装置の一態様は、
媒体を搬送する搬送ユニットと、
一端に第1駆動信号が供給され、他端に電圧値が一定の第1基準電圧信号が供給される第1駆動素子を含み、前記第1駆動素子の駆動に応じて前記媒体に液体を吐出する第1プリントヘッドと、
前記第1駆動信号、及び前記第1基準電圧信号を前記第1プリントヘッドに出力する駆動ユニットと、
を備え、
前記駆動ユニットは、
前記第1駆動信号を出力する第1駆動回路と、
前記第1基準電圧信号を出力する第1基準電圧信号出力回路と、
前記第1プリントヘッドと電気的に接続される出力コネクターと、
第1電極に前記第1基準電圧信号が供給され、第2電極にグラウンド信号が供給される第1コンデンサーと、
前記出力コネクターが設けられ、前記第1駆動信号及び前記第1基準電圧信号が伝搬する配線基板と、
を有し、
前記配線基板は、第1辺、及び前記第1辺と向かい合って位置する第2辺と、前記第1駆動信号が供給される第1供給点と、含み、
前記第1辺と前記第2辺とを結ぶ第1軸と直交する第2軸に沿ってみて、前記第1コンデンサーは、前記出力コネクターと前記第1供給点との間に位置し、
前記出力コネクターと前記第1電極との最短距離は、前記出力コネクターと前記第2電極との最短距離よりも短く、
前記第1供給点と前記第1電極との最短距離は、前記第1供給点と前記第2電極との最短距離よりも長い。
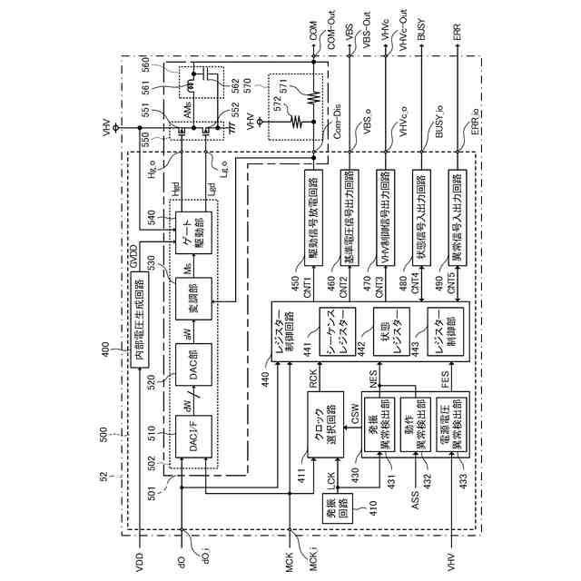
【図面の簡単な説明】
【0008】
液体吐出装置の概略構成を示す図である。
ヘッドユニットの概略構成を示す図である。
駆動信号COMA,COMB,COMCの信号波形の一例を示す図である。
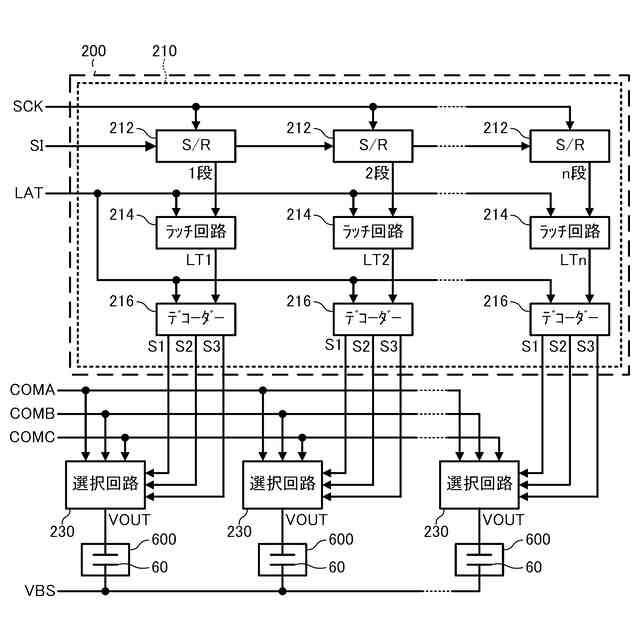
駆動信号選択回路の機能構成を示す図である。
デコーダーにおけるデコード内容の一例を示す図である。
吐出部の1個分に対応する選択回路の構成の一例を示す図である。
駆動信号選択回路の動作を説明するための図である。
駆動回路の構成の一例を示す図である。
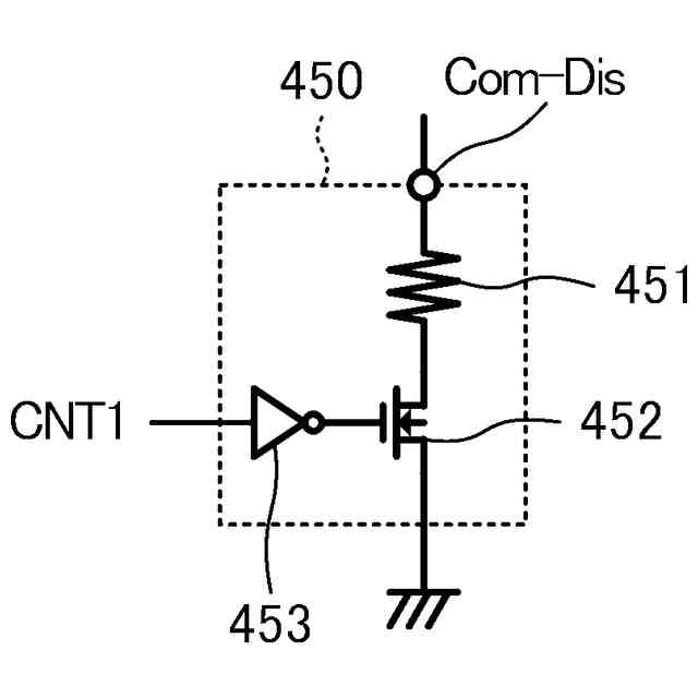
駆動信号放電回路の構成の一例を示す図である。
基準電圧信号出力回路の構成の一例を示す図である。
VHV制御信号出力回路の構成の一例を示す図である。
状態信号入出力回路の構成を示す図である。
異常信号入出力回路の構成を示す図である。
降圧回路の構成の一例を示す図である。
第1降圧回路の構成の一例を示す図である。
吐出ユニットの構造を示す図である。
プリントヘッドの構造の一例を示す図である。
プリントヘッドの断面の一例を示す図である。
駆動ユニットの構造を示す図である。
駆動回路モジュールの構造の一例を示す図である。
ヘッド基板の断面構造の一例を示す図である。
ヘッド基板に実装される複数の電子部品の配置の一例を示す図である。
ヘッド基板に形成される駆動信号COMA1~COMA6を伝搬する配線パターンの一例を示す図である。
ヘッド基板に形成される駆動信号COMB1~COMB6を伝搬する配線パターンの一例を示す図である。
ヘッド基板に形成される駆動信号COMC1~COMC6、及び基準電圧信号VBS1~VBS3を伝搬する配線パターンの一例を示す図である。
ヘッド基板に形成される基準電圧信号VBS4~VBS6を伝搬する配線パターンの一例を示す図である。
【発明を実施するための形態】
【0009】
以下、本発明の好適な実施形態について図面を用いて説明する。用いる図面は説明の便宜上のものである。なお、以下に説明する実施形態は、特許請求の範囲に記載された本発明の内容を不当に限定するものではない。また、以下で説明される構成の全てが本発明の必須構成要件であるとは限らない。
【0010】
1.液体吐出装置の構成
図1は、液体吐出装置1の概略構成を示す図である。図1に示すように、液体吐出装置1は、搬送ユニット4によって搬送される媒体Pに対して、所望のタイミングでインクを吐出することで、媒体Pに所望の画像を形成する所謂ライン方式のインクジェットプリンターである。ここで、以下の説明において、媒体Pが搬送される方向を搬送方向と称し、搬送される媒体Pの幅方向を主走査方向と称する場合がある。
(【0011】以降は省略されています)
この特許をJ-PlatPat(特許庁公式サイト)で参照する
関連特許
個人
箔熱転写装置
1か月前
シヤチハタ株式会社
印判
4か月前
東レ株式会社
凸版印刷版原版
10か月前
三菱製紙株式会社
感熱記録材料
10か月前
シヤチハタ株式会社
反転式印判
9か月前
独立行政法人 国立印刷局
印刷物
7か月前
キヤノン株式会社
記録装置
24日前
三光株式会社
感熱記録材料
6か月前
日本製紙株式会社
感熱記録体
7か月前
独立行政法人 国立印刷局
貼付装置
1か月前
株式会社リコー
液体吐出装置
2か月前
独立行政法人 国立印刷局
貼付機構
1か月前
株式会社リコー
画像形成装置
1か月前
株式会社リコー
液体吐出装置
5か月前
株式会社リコー
液体吐出装置
7か月前
株式会社リコー
画像形成装置
12日前
株式会社リコー
印刷システム
12日前
株式会社リコー
液体吐出装置
4か月前
独立行政法人 国立印刷局
記録媒体
8か月前
株式会社リコー
液体吐出装置
4か月前
株式会社リコー
画像形成装置
8日前
株式会社リコー
液体吐出装置
6か月前
株式会社リコー
液体吐出装置
8か月前
株式会社リコー
液体吐出装置
7か月前
キヤノン株式会社
画像形成装置
10か月前
キヤノン株式会社
画像処理装置
4か月前
ブラザー工業株式会社
プリンタ
1か月前
キヤノン株式会社
画像形成装置
8か月前
独立行政法人 国立印刷局
潜像印刷物
1か月前
キヤノン株式会社
画像形成装置
7か月前
ブラザー工業株式会社
プリンタ
1か月前
キヤノン株式会社
画像形成装置
8か月前
ブラザー工業株式会社
プリンタ
4か月前
ブラザー工業株式会社
液体吐出ヘッド
24日前
キヤノン株式会社
画像形成装置
8か月前
ブラザー工業株式会社
プリンタ
8か月前
続きを見る
他の特許を見る