TOP
|
特許
|
意匠
|
商標
特許ウォッチ
Twitter
他の特許を見る
10個以上の画像は省略されています。
公開番号
2025151803
公報種別
公開特許公報(A)
公開日
2025-10-09
出願番号
2024053393
出願日
2024-03-28
発明の名称
液体吐出ヘッドおよび液体吐出装置
出願人
セイコーエプソン株式会社
代理人
個人
,
個人
,
個人
主分類
B41J
2/14 20060101AFI20251002BHJP(印刷;線画機;タイプライター;スタンプ)
要約
【課題】吐出特性に優れる液体吐出ヘッド、および液体吐出装置提供すること。
【解決手段】液体吐出ヘッドは、複数の圧力室が設けられた圧力室基板と、振動板と、前記複数の圧力室に対して共通に設けられ、時間によって変化しない基準電圧が印加される第1共通電極と、第1薄膜圧電体と、前記複数の圧力室に対して個別に設けられ、時間によって変化する駆動電圧が印加される個別電極と、第2薄膜圧電体と、前記複数の圧力室に対して共通に設けられ、前記基準電圧が印加される第2共通電極と、が下側から上側にこの順に積層された液体吐出ヘッドであって、前記第2薄膜圧電体と前記個別電極との間には、所定の面方位に自己配向する性質を有し、前記第2薄膜圧電体の配向を制御するための第2配向制御層が設けられる。
【選択図】図4
特許請求の範囲
【請求項1】
複数の圧力室が設けられた圧力室基板と、
振動板と、
前記複数の圧力室に対して共通に設けられ、時間によって変化しない基準電圧が印加される第1共通電極と、
第1薄膜圧電体と、
前記複数の圧力室に対して個別に設けられ、時間によって変化する駆動電圧が印加される個別電極と、
第2薄膜圧電体と、
前記複数の圧力室に対して共通に設けられ、前記基準電圧が印加される第2共通電極と、が下側から上側にこの順に積層された液体吐出ヘッドであって、
前記第2薄膜圧電体と前記個別電極との間には、所定の面方位に自己配向する性質を有し、前記第2薄膜圧電体の配向を制御するための第2配向制御層が設けられることを特徴とする液体吐出ヘッド。
続きを表示(約 700 文字)
【請求項2】
前記第2配向制御層は、(100)面に自己配向することを特徴とする請求項1に記載の液体吐出ヘッド。
【請求項3】
前記個別電極は、(111)面に優先配向することを特徴とする請求項1に記載の液体吐出ヘッド。
【請求項4】
前記第1薄膜圧電体は、(100)面に優先配向することを特徴とする請求項3に記載の液体吐出ヘッド。
【請求項5】
前記第2配向制御層は、Bi、Fe、Ti、Pbを含み、ペロブスカイト構造を有する複合酸化物であることを特徴とする請求項1に記載の液体吐出ヘッド。
【請求項6】
前記第2配向制御層は、Fe、Ti、Pbを含み、ペロブスカイト構造を有する複合酸化物であることを特徴とする請求項1に記載の液体吐出ヘッド。
【請求項7】
前記第2配向制御層は、La、Niを含み、ペロブスカイト構造を有する複合酸化物であることを特徴とする請求項1に記載の液体吐出ヘッド。
【請求項8】
前記第1薄膜圧電体と前記第1共通電極の間には、所定の面方位に自己配向しない性質を有し、前記第1薄膜圧電体の配向を制御するための第1配向制御層が設けられることを特徴とする請求項1に記載の液体吐出ヘッド。
【請求項9】
前記第1配向制御層は、ペロブスカイト構造を有さないことを特徴とする請求項8に記載の液体吐出ヘッド。
【請求項10】
前記第1配向制御層は、Tiを含む非酸化物であることを特徴とする請求項8に記載の液体吐出ヘッド。
(【請求項11】以降は省略されています)
発明の詳細な説明
【技術分野】
【0001】
本発明は、液体吐出ヘッドおよび液体吐出装置に関する。
続きを表示(約 1,900 文字)
【背景技術】
【0002】
印刷用紙等の媒体に対してインク等の液体を吐出する液体吐出ヘッドを備える液体吐出装置が従来から提案される。当該液体吐出装置として、ピエゾ方式のインクジェットプリンターが知られている。ピエゾ方式では、圧力室の壁面の一部を構成する振動板を振動させる圧電素子が用いられる。圧電素子によって振動板を振動させることで、圧力室に充填された液体がノズルから吐出される。
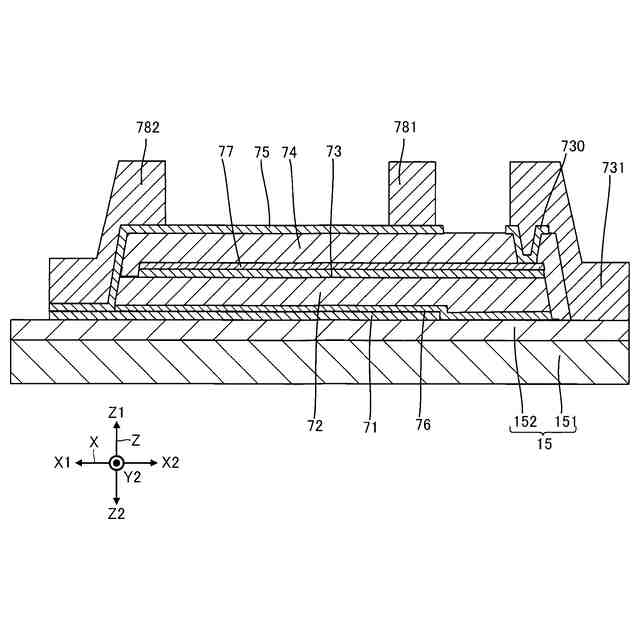
【0003】
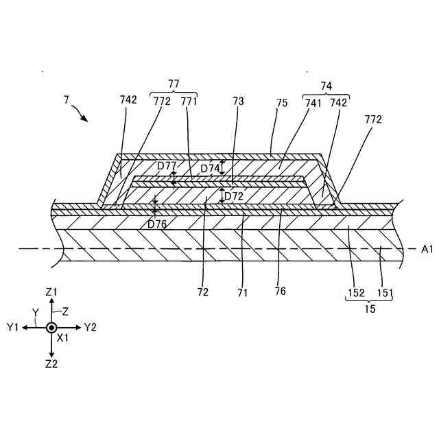
特許文献1に記載の液体吐出ヘッドが有する圧電素子では、第1共通電極、薄膜の下圧電体層、個別電極、薄膜の上圧電体層、および第2共通電極が順に積層される。つまり、当該圧電素子は、2つの薄膜圧電体が積層された構成である。
【先行技術文献】
【特許文献】
【0004】
特開2013-256137号公報
【発明の概要】
【発明が解決しようとする課題】
【0005】
特許文献1のように薄膜圧電体を積層した場合、薄膜圧電体を単一層にする場合に比べて、単位電圧当たりの変位量を2倍近くにすることができる。このため、単一層と同じ電圧で吐出特性を向上させることができたり、定格電圧を低い部品に替えてコストを削減したりすることができる。しかしながら、発明者らの更なる検討の結果、下圧電体層と上圧電体層との各物性を適切な値に設定することにより、より好ましい効果を得られることを見出した。
【0006】
薄膜圧電体を単層で設ける場合、薄膜圧電体の下層に当該薄膜圧電体の結晶を所定の方向に配向させるための配向制御層を用いることが知られている。当該配向制御層としてチタンの単結晶または酸化チタンを用いることが知られている。チタンの単結晶および酸化チタンは低コストでありつつも配向制御層上の薄膜圧電体の配向制御を好適に行うことができる。
【0007】
しかし、複数の圧電体を積層する場合には、チタンの単結晶または酸化チタンの配向制御層では上圧電体層を十分に配向させることができなかった。そこで、複数の薄膜圧電体のそれぞれの配向制御が好適に行われている圧電素子を見出すことが望まれている。その理由は定かではいが、次のように推測される。
【0008】
従来の液体吐出ヘッドでは、例えば、チタン単結晶および酸化チタンは薄膜圧電体に含まれる鉛等の成分と反応することでPbTiOxを形成し、これを核として圧電体の結晶成長が行われる。しかし、複数の薄膜圧電体を積層する場合には、上圧電体層の形成時はその下地が従来の単層のものとまったく異なる。このため、PbTiOxが好適に形成されないためであると考えらえる。また、仮にPbTiOxが好適に形成されたとしても、PbTiOxそれ自体が自己配向性を有するものではない。このため、PbTiOxが下層圧電体および個別電極の各配向の影響を受けてしまい、PbTiOxによる上圧電体層の配向が好適に行われないという問題が生じると考えらえる。
【課題を解決するための手段】
【0009】
本発明の好適な態様に係る液体吐出ヘッドは、複数の圧力室が設けられた圧力室基板と、振動板と、前記複数の圧力室に対して共通に設けられ、時間によって変化しない基準電圧が印加される第1共通電極と、第1薄膜圧電体と、前記複数の圧力室に対して個別に設けられ、時間によって変化する駆動電圧が印加される個別電極と、第2薄膜圧電体と、前記複数の圧力室に対して共通に設けられ、前記基準電圧が印加される第2共通電極と、が下側から上側にこの順に積層された液体吐出ヘッドであって、前記第2薄膜圧電体と前記個別電極との間には、所定の面方位に自己配向する性質を有し、前記第2薄膜圧電体の配向を制御するための第2配向制御層が設けられる。
【0010】
本発明の好適な態様に係る液体吐出ヘッドは、振動板と、前記複数の圧力室に対して共通に設けられ、時間によって変化しない基準電圧が印加される第1共通電極と、第1薄膜圧電体と、前記複数の圧力室に対して個別に設けられ、時間によって変化する駆動電圧が印加される個別電極と、第2薄膜圧電体と、前記複数の圧力室に対して共通に設けられ、前記基準電圧が印加される第2共通電極と、が下側から上側にこの順に積層された液体吐出ヘッドであって、前記第2薄膜圧電体と前記個別電極との間には、Bi、Fe、Ti、Pbを含み、ペロブスカイト構造を有する複合酸化物である第2配向制御層であって、前記第2薄膜圧電体の配向を制御するための前記第2配向制御層が設けられる。
(【0011】以降は省略されています)
この特許をJ-PlatPat(特許庁公式サイト)で参照する
関連特許
個人
箔熱転写装置
1か月前
シヤチハタ株式会社
印判
4か月前
三光株式会社
感熱記録材料
6か月前
キヤノン株式会社
記録装置
1か月前
独立行政法人 国立印刷局
印刷物
7か月前
株式会社リコー
液体吐出装置
2か月前
独立行政法人 国立印刷局
貼付機構
2か月前
株式会社リコー
印刷システム
20日前
独立行政法人 国立印刷局
貼付装置
1か月前
株式会社リコー
液体吐出装置
8か月前
株式会社リコー
画像形成装置
1か月前
日本製紙株式会社
感熱記録体
7か月前
株式会社リコー
液体吐出装置
4か月前
株式会社リコー
画像形成装置
20日前
株式会社リコー
液体吐出装置
8か月前
株式会社リコー
液体吐出装置
5か月前
株式会社リコー
画像形成装置
16日前
独立行政法人 国立印刷局
記録媒体
8か月前
株式会社リコー
液体吐出装置
6か月前
株式会社リコー
液体吐出装置
7か月前
株式会社リコー
液体吐出装置
4か月前
キヤノン株式会社
画像形成装置
5か月前
キヤノン株式会社
画像形成装置
7か月前
キヤノン株式会社
画像形成装置
1か月前
理想科学工業株式会社
印刷装置
6か月前
ブラザー工業株式会社
プリンタ
2か月前
キヤノン株式会社
画像形成装置
6か月前
ブラザー工業株式会社
プリンタ
2か月前
独立行政法人 国立印刷局
潜像形成体
16日前
キヤノン株式会社
画像形成装置
8か月前
キヤノン株式会社
画像形成装置
8か月前
理想科学工業株式会社
印刷装置
24日前
キヤノン株式会社
画像形成装置
3日前
キヤノン株式会社
画像処理装置
4か月前
ブラザー工業株式会社
プリンタ
6か月前
キヤノン株式会社
印刷システム
7か月前
続きを見る
他の特許を見る