TOP
|
特許
|
意匠
|
商標
特許ウォッチ
Twitter
他の特許を見る
10個以上の画像は省略されています。
公開番号
2025152001
公報種別
公開特許公報(A)
公開日
2025-10-09
出願番号
2024053689
出願日
2024-03-28
発明の名称
情報フィードバック装置、情報フィードバック方法及び情報フィードバックプログラム
出願人
日東電工株式会社
代理人
個人
,
個人
主分類
G06Q
50/20 20120101AFI20251002BHJP(計算;計数)
要約
【課題】学習者の心理状態を示す時系列データに基づくフィードバック情報を提供する。
【解決手段】情報フィードバック装置は、学習者の心理状態を示す時系列データであって、所定の時間単位の時系列データを格納する格納部と、前記時系列データに対応する、前記学習者の学習行為に関わる各項目のデータを収集する収集部と、前記学習者の心理状態を示す時系列データが各レベルに属する時間長さを算出する算出部と、前記学習者の学習行為に関わる各項目の中から指定される項目のデータが互いに等しい時系列データについて、前記各レベルに属する時間長さを集計する集計部と、算出結果または集計結果を表示する表示部とを有する。
【選択図】図6
特許請求の範囲
【請求項1】
学習者の心理状態を示す時系列データであって、所定の時間単位の時系列データを格納する格納部と、
前記時系列データに対応する、前記学習者の学習行為に関わる各項目のデータを収集する収集部と、
前記学習者の心理状態を示す時系列データが各レベルに属する時間長さを算出する算出部と、
前記学習者の学習行為に関わる各項目の中から指定される項目のデータが互いに等しい時系列データについて、前記各レベルに属する時間長さを集計する集計部と、
算出結果または集計結果を表示する表示部と
を有する情報フィードバック装置。
続きを表示(約 1,200 文字)
【請求項2】
算出された各レベルに属する時間長さの割合、または、集計された各レベルに属する時間長さの割合を示すグラフを生成するグラフ生成部を更に有し、
前記表示部は、生成されたグラフを、前記算出結果または集計結果として表示する、
請求項1に記載の情報フィードバック装置。
【請求項3】
前記算出部は、特定の学習者が受けた各授業または各テストに対応する時系列データについて、各レベルに属する時間長さを算出し、
前記集計部は、
特定の学習者が受けた各授業に対応する時系列データについて算出された算出結果を、授業担当者単位または科目単位で集計する、または、
特定の学習者が受けた各テストに対応する時系列データについて算出された算出結果を、科目単位で集計する、
請求項2に記載の情報フィードバック装置。
【請求項4】
前記グラフ生成部は、
特定の学習者について授業単位またはテスト単位で算出された各レベルに属する時間長さの割合を示すグラフ、または、
特定の学習者について前記授業担当者単位または前記科目単位で集計された各レベルに属する時間長さの割合を示すグラフ、
を生成する、
請求項3に記載の情報フィードバック装置。
【請求項5】
前記表示部は、特定の学習者について授業単位またはテスト単位で算出された各レベルに属する時間長さの割合を示すグラフを表示する場合、対応する時系列データを合わせて表示する、
請求項4に記載の情報フィードバック装置。
【請求項6】
前記表示部は、前記対応する時系列データにおいて、所定の条件を満たす時間範囲が指定された場合に、指定された時間範囲に対応する動画像データを再生する、
請求項5に記載の情報フィードバック装置。
【請求項7】
前記表示部は、前記算出結果または前記集計結果に応じて課金する、
請求項1に記載の情報フィードバック装置。
【請求項8】
前記表示部は、前記指定された時間範囲に対応する動画像データを再生した場合、再生時間に応じて課金する、
請求項6に記載の情報フィードバック装置。
【請求項9】
前記算出部は、特定の授業担当者の授業を受けた各学習者の心理状態を示す時系列データについて、各レベルに属する時間長さを算出し、
前記集計部は、特定の授業担当者の授業を受けた各学習者の心理状態を示す時系列データについて算出した算出結果を、授業担当者単位で集計する、
請求項2に記載の情報フィードバック装置。
【請求項10】
前記グラフ生成部は、特定の授業担当者について授業担当者単位で集計された各レベルに属する時間長さの割合を示すグラフを生成する、
請求項9に記載の情報フィードバック装置。
(【請求項11】以降は省略されています)
発明の詳細な説明
【技術分野】
【0001】
本開示は、情報フィードバック装置、情報フィードバック方法及び情報フィードバックプログラムに関する。
続きを表示(約 2,200 文字)
【背景技術】
【0002】
学習塾等の各種教育機関において授業中の学習者の生体情報を取得し、学習者の心理状態を分析する装置が提案されている。当該装置によれば、授業中の学習者の心理状態を適切に判定することができる。
【先行技術文献】
【特許文献】
【0003】
特開2018-41049号公報
【発明の概要】
【発明が解決しようとする課題】
【0004】
一方で、学習者の心理状態を示す時系列データは、教育サービスの向上や学習効率の向上等につながる有益なフィードバック情報として提供されることが望ましい。
【0005】
本開示は、学習者の心理状態を示す時系列データに基づくフィードバック情報を提供することを目的としている。
【課題を解決するための手段】
【0006】
一態様によれば、情報フィードバック装置は、
学習者の心理状態を示す時系列データであって、所定の時間単位の時系列データを格納する格納部と、
前記時系列データに対応する、前記学習者の学習行為に関わる各項目のデータを収集する収集部と、
前記学習者の心理状態を示す時系列データが各レベルに属する時間長さを算出する算出部と、
前記学習者の学習行為に関わる各項目の中から指定される項目のデータが互いに等しい時系列データについて、前記各レベルに属する時間長さを集計する集計部と、
算出結果または集計結果を表示する表示部とを有する。
【発明の効果】
【0007】
本開示によれば、学習者の心理状態を示す時系列データに基づくフィードバック情報を提供することができる。
【図面の簡単な説明】
【0008】
情報フィードバック装置が適用される教育機関の一例を示す図である。
情報フィードバック装置が取得する、学習者の心理状態に関わる時系列データの一例を示す図である。
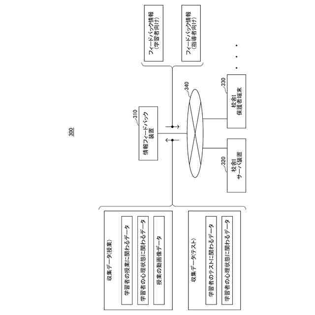
情報フィードバック装置を含むシステムのシステム構成の一例を示す図である。
収集データの具体例を示す図である。
フィードバック情報の具体例を示す図である。
情報フィードバック装置のハードウェア構成の一例を示す図である。
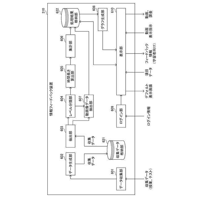
情報フィードバック装置の機能構成の一例を示す第1の図である。
1の学習者の心理状態を示す時系列データについて、各レベルに属する時間長さを算出及び集計することで生成した処理結果の一例を示す第1の図である。
1の学習者の心理状態を示す時系列データについて、各レベルに属する時間長さを算出及び集計することで生成した処理結果の一例を示す第2の図である。
フィードバック情報(学習者向け)を表示する表示画面の一例を示す第1の図である。
フィードバック情報(学習者向け)を表示する表示画面の一例を示す第2の図である。
フィードバック情報(学習者向け)を表示する表示画面の一例を示す第3の図である。
フィードバック情報(学習者向け)を表示する表示画面の一例を示す第4の図である。
フィードバック情報(学習者向け)を表示する表示画面の一例を示す第5の図である。
情報収集及び生成処理の流れを示す第1のフローチャートである。
情報収集及び生成処理の流れを示す第2のフローチャートである。
情報フィードバック処理の流れを示す第1のフローチャートである。
グラフ表示処理の流れを示すフローチャートである。
情報フィードバック処理の流れを示す第2のフローチャートである。
情報フィードバック装置の機能構成の一例を示す第2の図である。
1の授業担当者の授業を受けた学習者の心理状態を示す時系列データについて、各レベルに属する時間長さを算出及び集計することで生成した処理結果の一例を示す図である。
成績データの一例を示す図である。
フィードバック情報(指導者向け)を表示する表示画面の一例を示す図である。
情報収集処理の流れを示すフローチャートである。
情報フィードバック処理の流れを示す第3のフローチャートである。
他の表示画面の一例を示す第1の図である。
他の表示画面の一例を示す第2の図である。
他の表示画面の一例を示す第3の図である。
他の表示画面の一例を示す第4の図である。
他の表示画面の一例を示す第5の図である。
他の表示画面の一例を示す第6の図である。
他の表示画面の一例を示す第7の図である。
【発明を実施するための形態】
【0009】
以下、各実施形態について添付の図面を参照しながら説明する。なお、本明細書及び図面において、実質的に同一の機能構成を有する構成要素については、同一の符号を付することにより重複した説明を省略する。
【0010】
[第1の実施形態]
<情報フィードバック装置の適用例>
はじめに、第1の実施形態に係る情報フィードバック装置が適用される教育機関の一例について説明する。図1は、情報フィードバック装置が適用される教育機関の一例を示す図である。
(【0011】以降は省略されています)
この特許をJ-PlatPat(特許庁公式サイト)で参照する
関連特許
日東電工株式会社
吸着材
10日前
日東電工株式会社
積層体
4日前
日東電工株式会社
発光装置
11日前
日東電工株式会社
電子装置
6日前
日東電工株式会社
照明装置
3日前
日東電工株式会社
光学積層体
1か月前
日東電工株式会社
光ファイバ
5日前
日東電工株式会社
光学積層体
25日前
日東電工株式会社
粘着シート
3日前
日東電工株式会社
粘着シート
3日前
日東電工株式会社
調光フィルム
4日前
日東電工株式会社
温度測定装置
5日前
日東電工株式会社
粘着剤組成物
5日前
日東電工株式会社
スイッチ装置
11日前
日東電工株式会社
スイッチ装置
3日前
日東電工株式会社
粘着剤組成物
5日前
日東電工株式会社
温度測定装置
5日前
日東電工株式会社
複合ケーブル
1か月前
日東電工株式会社
偏光フィルム
1か月前
日東電工株式会社
光学粘着シート
12日前
日東電工株式会社
光学粘着シート
12日前
日東電工株式会社
光学粘着シート
12日前
日東電工株式会社
偏光子の製造方法
1か月前
日東電工株式会社
ガラス樹脂複合体
1か月前
日東電工株式会社
反射防止フィルム
10日前
日東電工株式会社
反射防止フィルム
10日前
日東電工株式会社
ロール体の製造方法
14日前
日東電工株式会社
光学積層体の製造方法
11日前
日東電工株式会社
調光用導電性フィルム
24日前
日東電工株式会社
導光体、及び照明装置
3日前
日東電工株式会社
光学積層体の製造方法
1か月前
日東電工株式会社
光学積層体の製造方法
11日前
日東電工株式会社
延伸フィルムの製造方法
24日前
日東電工株式会社
ウレア化合物の製造方法
18日前
日東電工株式会社
延伸フィルムの製造方法
24日前
日東電工株式会社
積層フィルムの製造方法
4日前
続きを見る
他の特許を見る