TOP
|
特許
|
意匠
|
商標
特許ウォッチ
Twitter
他の特許を見る
公開番号
2025152916
公報種別
公開特許公報(A)
公開日
2025-10-10
出願番号
2024055098
出願日
2024-03-28
発明の名称
燃料極の評価方法および電気化学セルの製造方法
出願人
ノリタケ株式会社
代理人
個人
主分類
C25B
15/00 20060101AFI20251002BHJP(電気分解または電気泳動方法;そのための装置)
要約
【課題】セル構築前の燃料極の性能を正確に評価できる評価方法を提供する。
【解決手段】ここに開示される燃料極の評価方法は、燃料極10の断面SEM画像を取得する工程と、触媒粒子12同士が接触する触媒粒子間界面12aの合計長さである触媒粒子間界面長Xを取得する工程と、触媒粒子12とイオン伝導粒子14と内部細孔16とが接触する三相界面18の合計数である三相界面数Yを取得する工程と、三相界面数Yに対する触媒粒子間界面長Xの比率X/Yに基づいて燃料極の良品判定を実施する工程とを備えている。かかる評価方法によると、電気化学セルを構築して電流密度を測定しなくても、上記比率X/Yに基づいて燃料極10の性能を評価できる。
【選択図】図3
特許請求の範囲
【請求項1】
触媒粒子とイオン伝導粒子と内部細孔とを有する電気化学セル用の燃料極を評価する方法であって、
前記燃料極を樹脂に包埋した試験体を準備する工程と、
前記燃料極の断面が露出するように前記試験体を研磨する工程と、
電界放出型走査電子顕微鏡(FESEM)を用いて、前記燃料極の断面SEM画像を取得する工程と、
前記断面SEM画像を分析することによって、前記触媒粒子同士が接触する界面の合計長さである触媒粒子間界面長Xを取得する工程と、
前記断面SEM画像を分析することによって、前記触媒粒子と前記イオン伝導粒子と前記内部細孔とが接触する界面の合計数である三相界面数Yを取得する工程と、
前記三相界面数Yに対する前記触媒粒子間界面長Xの比率X/Yに基づいて前記燃料極の良品判定を実施する工程と
を備えた、燃料極の評価方法。
続きを表示(約 1,100 文字)
【請求項2】
前記触媒粒子は、ニッケル、銅、鉄、コバルト、ルテニウムからなる群から選択される少なくとも一種を含む金属粒子または金属酸化物粒子である、請求項1に記載の燃料極の評価方法。
【請求項3】
前記イオン伝導粒子は、ガドリニウムドープセリア、サマリウムドープセリア、スカンジア安定化ジルコニア、イットリア安定化ジルコニアからなる群から選択される少なくとも一種を含む、請求項1に記載の燃料極の評価方法。
【請求項4】
前記断面SEM画像に対して2値化処理を実施し、前記触媒粒子のみが表示された触媒画像と、前記イオン伝導粒子のみが表示されたイオン伝導材画像と、前記内部細孔のみが表示された細孔画像とを取得し、
前記触媒画像と前記イオン伝導材画像と前記細孔画像とに基づいて前記触媒粒子間界面長Xと前記三相界面数Yを取得する、請求項1に記載の燃料極の評価方法。
【請求項5】
前記触媒粒子間界面長Xを取得する工程は、
前記触媒画像に基づいて、前記触媒粒子と前記イオン伝導粒子との界面と、前記触媒粒子と前記内部細孔との界面との合計長さである第1界面長を取得する工程と、
画像処理によって前記触媒画像上で前記触媒粒子同士の界面を表示し、前記触媒粒子と前記イオン伝導粒子との界面と、前記触媒粒子と前記内部細孔との界面と、前記触媒粒子同士の界面との合計長さである第2界面長を取得する工程と、
前記第2界面長と前記第1界面長との差分を求めることによって、前記触媒粒子間界面長Xを取得する工程と
を備えている、請求項4に記載の燃料極の評価方法。
【請求項6】
前記三相界面数Yを取得する工程は、
前記触媒画像と前記イオン伝導材画像と前記細孔画像とを重ねたレイヤード画像を作成する工程と、
前記レイヤード画像において、前記触媒粒子と前記イオン伝導粒子と前記内部細孔とが接触している界面の数を計測することによって前記三相界面数Yを取得する工程と
を備えている、請求項4に記載の燃料極の評価方法。
【請求項7】
触媒粒子とイオン伝導粒子と気孔形成材とを含むペーストを調製する工程と、
前記ペーストを焼成することによって試験用燃料極を作製する工程と、
前記試験用燃料極に対して、請求項1~6のいずれか一項に記載の燃料極の評価方法を実施する工程と、
前記評価方法において良品と判定された場合、前記試験用燃料極を作製したペーストを用いて燃料極を作製し、当該燃料極を用いて電気化学セルを構築する工程と
を備えた、電気化学セルの製造方法。
発明の詳細な説明
【技術分野】
【0001】
本開示は、燃料極の評価方法および電気化学セルの製造方法に関する。
続きを表示(約 3,300 文字)
【背景技術】
【0002】
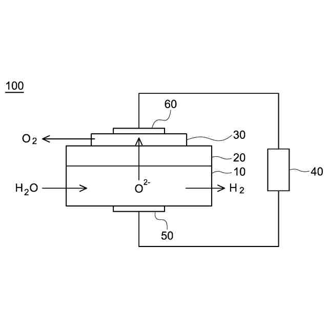
近年、再生可能エネルギーの導入が推進される中で、エネルギーの貯蔵・輸送の観点から二次エネルギーとして水素エネルギーが注目されている。固体酸化物形電解セル(SOEC:Solid Oxide Electrolysis Cell)は、この水素エネルギーを、CO
2
を排出せずに生成できる技術の一つとして着目されている。SOECは、固体電解質層を介して燃料極と空気極とを対向させた構成を有している。このSOECを使用する際には、燃料極に水蒸気を供給しながら通電する。このとき、燃料極では、水(H
2
O)が還元されて、水素ガス(H
2
)と酸素イオン(O
2-
)とが生じる。また、燃料極で生じた酸素イオン(O
2-
)は、固体電解質層を介して空気極に移動する。そして、空気極に到達した酸素イオンは、酸化によって酸素ガス(O
2
)となる。以上の通り、SOECは、水の電解反応によって酸素ガスと水素ガスを生成する。これによって、貯蔵が困難な電気エネルギーを、貯蔵・輸送が容易な水素エネルギーに変換できる。この種のSOECの一例が特許文献1に開示されている。
【0003】
一方、SOEC用セルの中には、固体酸化物形燃料電池(SOFC:Solid Oxide Fuel Cell)としても使用できるものもある。上記構成のセルをSOFCとして使用する場合、燃料極に水素ガスを供給すると共に、空気極に酸素ガスを供給する。SOFCの空気極では、酸素が還元されて酸素イオン(O
2-
)となる。酸素イオンは、固体電解質層を介して燃料極に移動する。そして、燃料極に到達した酸素イオンが水素ガスと反応することによって水(H
2
O)が生じる。この水の生成時に電子(e
-
)が放出される。SOFCでは、この電子を外部負荷に供給することによって発電する。本明細書では、このSOFCやSOECとして機能するセル構造を「電気化学セル」と称する。このような電気化学セルの一例が特許文献2に開示されている。
【先行技術文献】
【特許文献】
【0004】
特許第7309642号
特開2023-140335号公報
【発明の概要】
【発明が解決しようとする課題】
【0005】
上述の通り、電気化学セルの燃料極では、SOECとSOFCの何れの使用態様においても電子の移動が生じる。このため、燃料極の電流密度は、電気化学セルの性能に大きな影響を与える。一方で、燃料極の電流密度は、材料の状態や分散度などの様々な要素の影響を受ける。このため、同じ製造ラインの燃料極でも電流密度にばらつきが生じることがある。そして、電気化学セルの製造現場では、不良品の流通を防止するため、電流密度が低い燃料極が廃棄されている。しかしながら、電極反応による燃料極の電流密度は、電気化学セルを構築した後でなければ測定できない。このため、セル構築後に燃料極が不良品であることが判明した場合には、不良品である燃料極だけでなく、正常な固体電解質層や空気極も廃棄しなければならない。これによって、電気化学セルの製造コストが増加することがあった。また、燃料極の電流密度を測定するには、電気化学セルを電源装置やガス供給装置と接続した上で電気化学セルを700℃以上に加熱する必要がある。このため、燃料極の電流密度を測定するには、高い検査コストと、数日間という長い検査期間が必要になる。
【0006】
ここに開示される技術は、上述の事情に鑑みてなされたものであり、セル構築前の燃料極の性能を正確かつ簡便に評価できる評価方法を提供することを目的とする。
【課題を解決するための手段】
【0007】
ここで開示される燃料極の評価方法は、触媒粒子とイオン伝導粒子と内部細孔とを有する電気化学セル用の燃料極を評価する。かかる評価方法は、燃料極を樹脂に包埋した試験体を準備する工程と、燃料極の断面が露出するように試験体を研磨する工程と、電界放出型走査電子顕微鏡(FESEM)を用いて、燃料極の断面SEM画像を取得する工程と、断面SEM画像を分析することによって、触媒粒子同士が接触する界面の合計長さである触媒粒子間界面長Xを取得する工程と、断面SEM画像を分析することによって、触媒粒子とイオン伝導粒子と内部細孔とが接触する界面の合計数である三相界面数Yを取得する工程と、三相界面数Yに対する触媒粒子間界面長Xの比率X/Yに基づいて燃料極の良品判定を実施する工程とを備えている。
【0008】
一般的な燃料極の内部には、触媒粒子とイオン伝導粒子と内部細孔とが接触する三相界面が存在している。そして、電気化学セルをSOECとして使用する場合、燃料極の三相界面では、内部細孔を通じて水蒸気が充分に供給されると共に、イオン伝導粒子を通じて酸素イオン(O
2-
)が他の領域へ伝達される。このため、燃料極の三相界面では、触媒粒子を触媒とした水の還元分解(H
2
O+2e
-
→H
2
+O
2-
)が適切に生じる。このため、燃料極の電流密度は、燃料極内に存在する三相界面の数が増大するにつれて向上する傾向がある。一方、燃料極の作製では、触媒粒子同士の凝集が生じやすい。このとき、触媒粒子同士が接触する界面では、水蒸気が供給されにくく、かつ、分解後の酸素イオンが伝達されにくいため、水の還元分解が生じにくい。すなわち、触媒粒子同士の接触界面の長さが増大するにつれて燃料極の電流密度が低下する傾向がある。上述の知見に基づいて、本発明者らは、触媒粒子とイオン伝導粒子と内部細孔との三相界面の数(三相界面数Y)に対する触媒粒子同士の接触界面の長さ(触媒粒子間界面長X)の比率X/Yを用いれば、電気化学セルを構築しなくても、燃料極の電流密度を評価できると考えた。そして、本発明者らは、実験を重ねた結果、上記比率X/Yが低減するにつれて燃料極の電流密度が低下するという傾向を発見した。ここに開示される評価方法は、上述の知見に基づいてなされたものである。そして、この評価方法は、電気化学セルを構築しなくても、燃料極の電流密度を評価できる。このため、ここに開示される技術によると、電気化学セルに使用する前の燃料極の性能を正確かつ簡便に評価できる。
【0009】
また、ここに開示される技術の他の側面として、電気化学セルの製造方法が提供される。この電気化学セルの製造方法は、触媒粒子とイオン伝導粒子と気孔形成材とを含むペーストを調製する工程と、ペーストを焼成することによって試験用燃料極を作製する工程と、試験用燃料極に対して、上述した燃料極の評価方法を実施する工程と、評価方法において良品と判定された場合、試験用燃料極を作製したペーストを用いて燃料極を作製し、当該燃料極を用いて電気化学セルを構築する工程とを備えている。
【0010】
一般的な電気化学セルの製造現場では、1つの原料ペーストから数百個の燃料極を作製するバッチ式の製造方法が採用されている。このとき、燃料極の原料ペーストに何らかの不良がある場合には、大量生産された電気化学セルの全てが不良品となるおそれがある。これに対して、上記構成の製造方法によると、電気化学セルの大量生産を開始する前に、三相界面数Yに対する触媒粒子間界面長Xの比率X/Yに基づいて、試験用燃料極が良品であるか否かを評価する。そして、この製造方法では、良品と判定された試験用燃料極を用いて電気化学セルの製造を実施する。これによって、不良品の大量廃棄のリスクを抑えつつ、優れた性能の電気化学セルを安定的に製造できる。
【図面の簡単な説明】
(【0011】以降は省略されています)
この特許をJ-PlatPat(特許庁公式サイト)で参照する
関連特許
ノリタケ株式会社
サヤ
3か月前
ノリタケ株式会社
冷却炉
4日前
ノリタケ株式会社
加熱炉
4日前
ノリタケ株式会社
焼成炉
10日前
ノリタケ株式会社
焼成炉
10日前
ノリタケ株式会社
焼成炉
10日前
ノリタケ株式会社
洗浄装置
1日前
ノリタケ株式会社
熱処理容器
1日前
ノリタケ株式会社
金ペースト
12日前
ノリタケ株式会社
焼成用治具
2日前
ノリタケ株式会社
焼成用治具
2日前
ノリタケ株式会社
担体構造体
2日前
ノリタケ株式会社
焼成用治具
2日前
ノリタケ株式会社
熱処理設備
1か月前
ノリタケ株式会社
研磨パッド
1日前
ノリタケ株式会社
熱処理設備
1か月前
ノリタケ株式会社
熱処理装置
1か月前
ノリタケ株式会社
熱処理装置
2か月前
ノリタケ株式会社
熱処理装置
2か月前
ノリタケ株式会社
熱処理装置
2か月前
ノリタケ株式会社
棒材切断機
1日前
ノリタケ株式会社
熱処理装置
2か月前
ノリタケ株式会社
熱伝導シート
1日前
ノリタケ株式会社
導電性ペースト
1日前
ノリタケ株式会社
超砥粒ホイール
1日前
ノリタケ株式会社
ガス吸収シート
23日前
ノリタケ株式会社
ローラ式搬送装置
4日前
ノリタケ株式会社
ローラ式搬送装置
4日前
ノリタケ株式会社
封止用グリーンシート
1日前
ノリタケ株式会社
静電容量タッチパネル
2日前
ノリタケ株式会社
静電容量タッチパネル
2日前
ノリタケ株式会社
砥材及びその製造方法
8日前
ノリタケ株式会社
砥材及びその製造方法
2日前
ノリタケ株式会社
インクジェットインク
1か月前
ノリタケ株式会社
触媒材料およびその利用
2日前
ノリタケ株式会社
触媒材料およびその利用
2日前
続きを見る
他の特許を見る