TOP
|
特許
|
意匠
|
商標
特許ウォッチ
Twitter
他の特許を見る
公開番号
2025153245
公報種別
公開特許公報(A)
公開日
2025-10-10
出願番号
2024055624
出願日
2024-03-29
発明の名称
衛星間光通信における光通信装置およびドップラシフト補償方法
出願人
日本電気株式会社
代理人
個人
,
個人
,
個人
,
個人
主分類
H04B
10/118 20130101AFI20251002BHJP(電気通信技術)
要約
【課題】送信側および受信側の協働により効率的なドップラシフト補償を達成できる光通信装置を提供する。
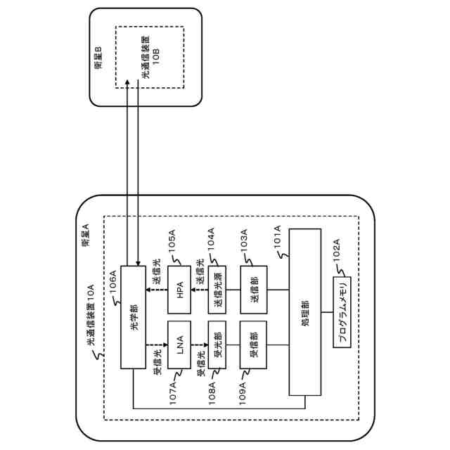
【解決手段】第1衛星(A)に搭載され、第2衛星(B)との間で光通信を行う光通信装置(10A)であって、第2衛星との間で信号光の送受信を行う光送受信部(103A~109A)と、光送受信部による信号光の送受信により第2衛星との間でドップラシフト補償を実行する処理部(101A)と、を備え、処理部が、第2衛星に対する光捕捉追尾を確立した後、第2衛星との間でドップラシフト補償方式を決定し、ドップラシフト補償方式に従って第2衛星との間でドップラシフト周波数の補償を分担する。
【選択図】図1
特許請求の範囲
【請求項1】
第1衛星に搭載され、第2衛星との間で光通信を行う光通信装置であって、
前記第2衛星との間で信号光の送受信を行う光送受信部と、
前記光送受信部による信号光の送受信により前記第2衛星との間でドップラシフト補償を実行する処理部と、
を備え、
前記処理部が、
前記第2衛星に対する光捕捉追尾を確立した後、前記第2衛星との間でドップラシフト補償方式を決定し、
前記ドップラシフト補償方式に従って前記第2衛星との間でドップラシフト周波数の補償を分担する、
ことを特徴とする光通信装置。
続きを表示(約 1,900 文字)
【請求項2】
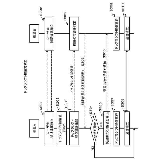
前記ドップラシフト補償方式は、前記ドップラシフト周波数を前記第2衛星で補償できる場合は前記第2衛星が前記ドップラシフト補償を担当し、前記第2衛星で補償できない場合は前記光送受信部が送信光の周波数を変更可能な第1周波数範囲内で前記ドップラシフト補償を担当する方式であることを特徴とする請求項1に記載の光通信装置。
【請求項3】
前記ドップラシフト補償方式は、前記ドップラシフト周波数の大きさに依存して前記第1衛星と前記第2衛星との間のドップラシフト補償の分担を決定する方式であることを特徴とする請求項1に記載の光通信装置。
【請求項4】
前記光送受信部が送信光の周波数を第1周波数範囲内で変更可能であり、
前記第2衛星が受信光を第2周波数範囲内で受信可能であり、
前記処理部が、
前記第2衛星へ前記ドップラシフト周波数を通知し、
前記第2衛星から前記第2周波数範囲を含む分担可否を受信すると、前記第1周波数範囲および前記第2周波数範囲に基づいて前記第1衛星の第1補償分担値と前記第2衛星の第2補償分担値とを算出し、
前記第2補償分担値を前記第2衛星へ送信し、
前記第1補償分担値に従ってドップラシフト補償を実行する、
ことを特徴とする請求項3に記載の光通信装置。
【請求項5】
前記処理部が、前記第2周波数範囲以下を示す第1閾値と前記第1周波数範囲を示す第2閾値とを用意し、
前記ドップラシフト周波数が前記第1閾値より小さければ、前記ドップラシフト補償を実行しないで前記第2衛星のドップラシフト補償に任せ、
前記ドップラシフト周波数が前記第1閾値以上前記第2閾値以下であれば、前記第2補償分担値を前記第2衛星へ送信し、前記第1補償分担値により前記ドップラシフト補償の分担分を実行する、
ことを特徴とする請求項4に記載の光通信装置。
【請求項6】
前記第2衛星に対する光捕捉追尾を確立した後であって前記ドップラシフト補償の完了前では、前記光送受信部による通信は信号光の強度変調により行われることを特徴とする請求項1-5のいずれか1項に記載の光通信装置。
【請求項7】
第1衛星に搭載され、第2衛星との間で光通信を行う光通信装置におけるドップラシフト補償方法であって、前記光通信装置が前記第2衛星との間で信号光の送受信を行う光送受信部と、前記光送受信部による信号光の送受信により前記第2衛星との間でドップラシフト補償を実行する処理部と、を備え、
前記処理部が、
前記第2衛星に対する光捕捉追尾を確立した後、前記第2衛星との間でドップラシフト補償方式を決定し、
前記ドップラシフト補償方式に従って前記第2衛星との間でドップラシフト周波数の補償を分担する、
ことを特徴とするドップラシフト補償方法。
【請求項8】
前記ドップラシフト補償方式は、前記ドップラシフト周波数を前記第2衛星で補償できる場合は前記第2衛星が前記ドップラシフト補償を担当し、前記第2衛星で補償できない場合は前記光送受信部が送信光の周波数を変更可能な第1周波数範囲内で前記ドップラシフト補償を担当する方式であることを特徴とする請求項7に記載のドップラシフト補償方法。
【請求項9】
相対速度で航行する第1衛星と第2衛星との間で光通信を行う光通信システムであって、
前記第1衛星が送信光の周波数を第1周波数範囲で変更可能であり、前記第2衛星が受信光の周波数を第2周波数範囲で変更可能であり、
前記第1衛星と前記第2衛星との間で光捕捉追尾が確立した後、前記第1衛星と前記第2衛星との間でドップラシフト補償方式を決定し、
前記ドップラシフト補償方式に従って前記第1衛星と前記第2衛星との間でドップラシフト周波数の補償を分担する、
ことを特徴とする光通信システム。
【請求項10】
第1衛星に搭載され、第2衛星との間で光通信を行う光通信装置としてコンピュータを機能させるプログラムであって、前記光通信装置が前記第2衛星との間で信号光の送受信を行う光送受信部を備え、
前記第2衛星に対する光捕捉追尾を確立した後、前記第2衛星との間でドップラシフト補償方式を決定する機能と、
前記ドップラシフト補償方式に従って前記第2衛星との間でドップラシフト周波数の補償を分担する機能と、
を前記コンピュータに実現するプログラム。
発明の詳細な説明
【技術分野】
【0001】
本発明は衛星間光通信システムに係り、特に衛星間のドップラシフト補償技術に関する。
続きを表示(約 2,400 文字)
【背景技術】
【0002】
電波や光を用いて衛星間で通信を行う場合、互いの衛星が相対的に移動することによりドップラシフトが発生する。このドップラシフトを補償する技術はこれまで多く提案されている。一般的には衛星の軌道情報に基づいてドップラシフトを算出し、光送信機がドップラ周波数を相殺するように送信レーザ光の周波数(波長)を制御する(特許文献1)。
【先行技術文献】
【特許文献】
【0003】
国際公開第WO2020-110956号パンフレット
【発明の概要】
【発明が解決しようとする課題】
【0004】
しかしながら、ドップラシフトの補償には様々なケースが考えられる。たとえばノンコヒーレント方式の光通信であれば、受信側の低ノイズ増幅器に波長フィルタが必要であるために受信側での受信周波数シフトは困難である。これに対して、コヒーレント方式の場合は、受信側のローカル光源の周波数をシフトさせることにより対応可能である。ただしローカル光源で対応できる周波数範囲には限りがあり、ドップラシフトが大きい場合は受信機側だけで対応することが困難な場合もある。
【0005】
このように受信側でのドップラシフト補償には限界があるものの対応可能な場合もある。上記背景技術では、受信側で対応可能であっても一律に送信側だけでドップラシフト補償を実行していた。
【0006】
そこで、本発明の目的は、送信側および受信側の協働により効率的なドップラシフト補償を達成できる光通信装置、ドップラシフト補償方法および光通信システムを提供することにある。
【課題を解決するための手段】
【0007】
本開示における光通信装置は、第1衛星に搭載され、第2衛星との間で光通信を行う光通信装置であって、前記第2衛星との間で信号光の送受信を行う光送受信部と、前記光送受信部による信号光の送受信により前記第2衛星との間でドップラシフト補償を実行する処理部と、を備え、前記処理部が、前記第2衛星に対する光捕捉追尾を確立した後、前記第2衛星との間でドップラシフト補償方式を決定し、前記ドップラシフト補償方式に従って前記第2衛星との間でドップラシフト周波数の補償を分担する、ことを特徴とする。
本開示におけるドップラシフト補償方法は、第1衛星に搭載され、第2衛星との間で光通信を行う光通信装置におけるドップラシフト補償方法であって、前記光通信装置が前記第2衛星との間で信号光の送受信を行う光送受信部と、前記光送受信部による信号光の送受信により前記第2衛星との間でドップラシフト補償を実行する処理部と、を備え、前記処理部が、前記第2衛星に対する光捕捉追尾を確立した後、前記第2衛星との間でドップラシフト補償方式を決定し、前記ドップラシフト補償方式に従って前記第2衛星との間でドップラシフト周波数の補償を分担する、ことを特徴とする。
本開示における光通信システムは、相対速度で航行する第1衛星と第2衛星との間で光通信を行う光通信システムであって、前記第1衛星が送信光の周波数を第1周波数範囲で変更可能であり、前記第2衛星が受信光の周波数を第2周波数範囲で変更可能であり、前記第1衛星と前記第2衛星との間で光捕捉追尾が確立した後、前記第1衛星と前記第2衛星との間でドップラシフト補償方式を決定し、前記ドップラシフト補償方式に従って前記第1衛星と前記第2衛星との間でドップラシフト周波数の補償を分担する、ことを特徴とする。
本開示におけるプログラムは、第1衛星に搭載され、第2衛星との間で光通信を行う光通信装置としてコンピュータを機能させるプログラムであって、前記光通信装置が前記第2衛星との間で信号光の送受信を行う光送受信部を備え、前記第2衛星に対する光捕捉追尾を確立した後、前記第2衛星との間でドップラシフト補償方式を決定する機能と、前記ドップラシフト補償方式に従って前記第2衛星との間でドップラシフト周波数の補償を分担する機能と、を前記コンピュータに実現する。
【発明の効果】
【0008】
本発明によれば、送信側および受信側の協働により効率的なドップラシフト補償を達成できる。
【図面の簡単な説明】
【0009】
図1は本開示の一実施形態に係る光通信装置の概略的構成を例示するブロック図である。
図2は本開示に係る光通信装置を搭載した衛星間でのドップラシフト補償方式の第1例を示すシーケンス図である。
図3は本開示に係る光通信装置を搭載した衛星間でのドップラシフト補償方式の第2例を示すシーケンス図である。
図4は本開示に係る光通信装置における送信側および受信側のドップラシフト補償範囲の一例を示す模式図である。
図5は本開示の他の実施形態に係る光通信装置の概略的構成を例示するブロック図である。
【発明を実施するための形態】
【0010】
<実施形態の概要>
本開示の一実施形態によれば、衛星間で光捕捉追尾を確立した後、ドップラシフト補償方式を決定し、そのドップラシフト補償方式に従って衛星間でドップラシフト周波数の補償を分担する。ドップラシフト補償方式としては、1)ドップラシフト周波数を受信側衛星で補償できる場合は受信側衛星がドップラシフト補償を担当し、補償できない場合は自局衛星が送信光の周波数を変更可能な第1周波数範囲内でドップラシフト補償を担当する方式、および2)ドップラシフト周波数の大きさに依存して衛星間のドップラシフト補償の分担を決定する方式がある。すなわち、受信側衛星で、あるいは送信側および受信側の双方の衛星でドップラシフト周波数の補償を分担する。これにより効率的なドップラシフト補償が可能となる。
(【0011】以降は省略されています)
この特許をJ-PlatPat(特許庁公式サイト)で参照する
関連特許
日本電気株式会社
光集積回路素子
2日前
日本電気株式会社
超伝導量子回路装置
3日前
日本電気株式会社
システム、装置及び方法
3日前
日本電気株式会社
制御装置、プログラム及び方法
3日前
日本電気株式会社
推定装置、推定方法及びプログラム
3日前
日本電気株式会社
情報処理装置、制御方法及び記憶媒体
3日前
日本電気株式会社
情報処理装置、情報処理方法及びプログラム
3日前
日本電気株式会社
追跡支援装置、追跡支援方法及びプログラム
2日前
日本電気株式会社
追跡支援装置、追跡支援方法及びプログラム
2日前
日本電気株式会社
情報処理装置、提示方法、およびプログラム
3日前
日本電気株式会社
情報処理装置、計算方法、およびプログラム
3日前
日本電気株式会社
認証支援装置、システム、方法及びプログラム
3日前
日本電気株式会社
原子発振器、制御方法、制御装置、プログラム
3日前
日本電気株式会社
セルロース系樹脂組成物及びこれを用いた成形体
2日前
日本電気株式会社
情報処理装置、情報処理方法、及び、プログラム
3日前
日本電気株式会社
診療記録支援装置、システム、方法及びプログラム
3日前
日本電気株式会社
情報処理装置、情報処理方法及び情報処理プログラム
3日前
日本電気株式会社
情報処理装置、情報処理方法及び情報処理プログラム
3日前
日本電気株式会社
健康改善支援装置、健康改善支援方法及びプログラム
2日前
日本電気株式会社
診断支援装置、診断支援プログラム、および診断支援方法
3日前
日本電気株式会社
不動産取引支援装置、不動産取引支援方法、及びプログラム
3日前
日本電気株式会社
不動産取引支援装置、不動産取引支援方法、及びプログラム
3日前
日本電気株式会社
情報処理システム、情報処理方法、及び情報処理プログラム
2日前
日本電気株式会社
情報処理システム、情報処理方法、及び情報処理プログラム
3日前
日本電気株式会社
情報処理装置、情報処理システム、情報処理方法、プログラム
3日前
日本電気株式会社
画像処理装置、情報処理装置、画像処理方法、及びプログラム
2日前
日本電気株式会社
情報処理装置、情報処理システム、情報処理方法及びプログラム
3日前
日本電気株式会社
衛星間光通信における光通信装置およびドップラシフト補償方法
2日前
日本電気株式会社
情報処理装置、情報管理システム、情報処理方法、およびプログラム
2日前
日本電気株式会社
通信品質解析システム、通信品質解析方法及び通信品質解析プログラム
3日前
日本電気株式会社
通信品質解析システム、通信品質解析方法及び通信品質解析プログラム
3日前
日本電気株式会社
情報処理装置、推論モデルの生成方法、推論方法、及び推論プログラム
2日前
日本電気株式会社
コンテンツ生成装置、コンテンツ生成方法、及びコンテンツ生成プログラム
2日前
日本電気株式会社
生体情報処理システム、情報処理装置、生体情報処理方法及び生体情報処理プログラム
3日前
サクサ株式会社
中継装置
4日前
WHISMR合同会社
収音装置
1か月前
続きを見る
他の特許を見る