TOP
|
特許
|
意匠
|
商標
特許ウォッチ
Twitter
他の特許を見る
公開番号
2025151878
公報種別
公開特許公報(A)
公開日
2025-10-09
出願番号
2024053500
出願日
2024-03-28
発明の名称
情報処理装置、情報処理システム、情報処理方法、プログラム
出願人
日本電気株式会社
代理人
個人
主分類
G06Q
30/0201 20230101AFI20251002BHJP(計算;計数)
要約
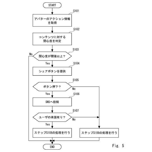
【課題】仮想空間において、ユーザの属性情報を適切に収集することができる、情報処理装置、情報処理システム、情報処理方法、プログラムを提供する。
【解決手段】情報処理装置は、仮想空間においてコンテンツを視聴するアバターのアクションに関する情報であるアクション情報を取得するアクション情報取得部と、アクション情報に基づいて、アバターに対応するユーザのコンテンツに対する関心度を判定する判定部と、ユーザの承諾が有る場合に、ユーザの属性情報と関心度とを反応情報として収集し、ユーザの承諾が無い場合に、関心度を反応情報として収集する収集部と、を備える。
【選択図】図1
特許請求の範囲
【請求項1】
仮想空間においてコンテンツを視聴するアバターのアクションに関する情報であるアクション情報を取得するアクション情報取得部と、
前記アクション情報に基づいて、前記アバターに対応するユーザの前記コンテンツに対する関心度を判定する判定部と、
前記ユーザの承諾が有る場合に、前記ユーザの属性情報と前記関心度とを反応情報として収集し、前記ユーザの承諾が無い場合に、前記関心度を前記反応情報として収集する収集部と、
を備える、
情報処理装置。
続きを表示(約 1,500 文字)
【請求項2】
前記ユーザの承諾を、前記ユーザのユーザ端末へ前記仮想空間を提供するためのアプリケーションソフトをインストールする際、前記アバターが前記仮想空間に入る際、前記アバターが前記仮想空間内の所定の箇所にいる際、の少なくとも何れかのタイミングで取得する承諾取得部、
を備える、
請求項1に記載の情報処理装置。
【請求項3】
前記アクション情報取得部は、前記アバターの視野の動きを前記アクション情報として取得する、
請求項1に記載の情報処理装置。
【請求項4】
前記アクション情報取得部は、前記アバターの発話又はチャット欄の内容を前記アクション情報として取得する、
請求項1に記載の情報処理装置。
【請求項5】
前記判定部は、所定の測定期間における、前記アバターの視線が前記コンテンツに向いていた時間が占める割合が所定の閾値以上である場合に、前記割合が前記所定の閾値未満である場合よりも、前記関心度が高いと判定する、
請求項1に記載の情報処理装置。
【請求項6】
前記収集部は、前記関心度が所定値以上である場合に、前記反応情報を収集する、
請求項1に記載の情報処理装置。
【請求項7】
前記関心度が所定値以上である場合に、前記ユーザに対して、前記コンテンツに対して関心があることを他のユーザに対して発信することについて同意することを促すシェア制御部
を備える、
請求項1に記載の情報処理装置。
【請求項8】
仮想空間を提供する仮想空間運営システム、又は、前記仮想空間へ広告を含むコンテンツを配信する広告配信システムを備え、
前記仮想空間運営システム又は前記広告配信システムは、
前記仮想空間において前記コンテンツを視聴するアバターのアクションに関する情報であるアクション情報を取得するアクション情報取得部と、
前記アクション情報に基づいて、前記アバターに対応するユーザの前記コンテンツに対する関心度を判定する判定部と、
前記ユーザの承諾が有る場合に、前記ユーザの属性情報と前記関心度とを反応情報として収集し、前記ユーザの承諾が無い場合に、前記関心度を前記反応情報として収集する収集部と、
を備える、
情報処理システム。
【請求項9】
コンピュータが、
仮想空間においてコンテンツを視聴するアバターのアクションに関する情報であるアクション情報を取得するアクション情報取得処理と、
前記アクション情報に基づいて、前記アバターに対応するユーザの前記コンテンツに対する関心度を判定する判定処理と、
前記ユーザの承諾が有る場合に、前記ユーザの属性情報と前記関心度とを反応情報として収集し、前記ユーザの承諾が無い場合に、前記関心度を前記反応情報として収集する収集処理と、
を実行する、
情報処理方法。
【請求項10】
コンピュータに、
仮想空間においてコンテンツを視聴するアバターのアクションに関する情報であるアクション情報を取得するアクション情報取得処理と、
前記アクション情報に基づいて、前記アバターに対応するユーザの前記コンテンツに対する関心度を判定する判定処理と、
前記ユーザの承諾が有る場合に、前記ユーザの属性情報と前記関心度とを反応情報として収集し、前記ユーザの承諾が無い場合に、前記関心度を前記反応情報として収集する収集処理と、
を実行させる、
プログラム。
発明の詳細な説明
【技術分野】
【0001】
本開示は、情報処理装置、情報処理システム、情報処理方法、プログラムに関する。
続きを表示(約 1,900 文字)
【背景技術】
【0002】
例えばメタバース等と呼ばれる、コンピュータによってインターネット上に構築された仮想空間では、広告等を含むコンテンツが提供される。ユーザは、例えばアバター等と呼ばれる形態で仮想空間に参入する。アバターは、ユーザのアクションを模倣したアクションを行う。特許文献1には、ある広告を見たアバターのアクションをトラッキングし、広告主にトラッキングしたアバターのアクションに関する情報を提供することが記載されている。また、特許文献1には、データマイニング及びプロファイリングを行って、当該アバターに対応するユーザの、予め定義された好き嫌い、地理的位置、言語、及びその他の属性の情報を決定することが記載されている。
【先行技術文献】
【特許文献】
【0003】
特表2010-535362号公報
【発明の概要】
【発明が解決しようとする課題】
【0004】
しかしながら、特許文献1では、ユーザの属性情報を取得することに対して、ユーザの許可を得ることは記載されていない。2016年、欧州において、GDPR(General Data Protection Regulation)が制定されたように、近年、個人データやプライバシーの保護が厳格化されている。そのため、ユーザの許可なく、ユーザの属性情報を取得することは難しい。
【0005】
本開示の目的は、仮想空間において、ユーザの属性情報を適切に収集することができる、情報処理装置、情報処理システム、情報処理方法、プログラムを提供することである。
【課題を解決するための手段】
【0006】
本開示に係る情報処理装置は、仮想空間においてコンテンツを視聴するアバターのアクションに関する情報であるアクション情報を取得するアクション情報取得部と、前記アクション情報に基づいて、前記アバターに対応するユーザの前記コンテンツに対する関心度を判定する判定部と、前記ユーザの承諾が有る場合に、前記ユーザの属性情報と前記関心度とを反応情報として収集し、前記ユーザの承諾が無い場合に、前記関心度を前記反応情報として収集する収集部と、を備える。
【0007】
本開示に係る情報処理システムは、仮想空間を提供する仮想空間運営システム、又は、前記仮想空間へ広告を含むコンテンツを配信する広告配信システムを備え、前記仮想空間運営システム又は前記広告配信システムは、前記仮想空間において前記コンテンツを視聴するアバターのアクションに関する情報であるアクション情報を取得するアクション情報取得部と、前記アクション情報に基づいて、前記アバターに対応するユーザの前記コンテンツに対する関心度を判定する判定部と、前記ユーザの承諾が有る場合に、前記ユーザの属性情報と前記関心度とを反応情報として収集し、前記ユーザの承諾が無い場合に、前記関心度を前記反応情報として収集する収集部と、を備える。
【0008】
本開示に係る情報処理方法は、コンピュータが、仮想空間においてコンテンツを視聴するアバターのアクションに関する情報であるアクション情報を取得するアクション情報取得処理と、前記アクション情報に基づいて、前記アバターに対応するユーザの前記コンテンツに対する関心度を判定する判定処理と、前記ユーザの承諾が有る場合に、前記ユーザの属性情報と前記関心度とを反応情報として収集し、前記ユーザの承諾が無い場合に、前記関心度を前記反応情報として収集する収集処理と、を実行する方法である。
【0009】
本開示に係るプログラムは、コンピュータに、仮想空間においてコンテンツを視聴するアバターのアクションに関する情報であるアクション情報を取得するアクション情報取得処理と、前記アクション情報に基づいて、前記アバターに対応するユーザの前記コンテンツに対する関心度を判定する判定処理と、前記ユーザの承諾が有る場合に、前記ユーザの属性情報と前記関心度とを反応情報として収集し、前記ユーザの承諾が無い場合に、前記関心度を前記反応情報として収集する収集処理と、を実行させる、プログラムである。
【発明の効果】
【0010】
本開示によれば、仮想空間において、ユーザの属性情報を適切に収集することができる、情報処理装置、情報処理システム、情報処理方法、プログラムを提供することができる。
【図面の簡単な説明】
(【0011】以降は省略されています)
この特許をJ-PlatPat(特許庁公式サイト)で参照する
関連特許
日本電気株式会社
管理装置
4日前
日本電気株式会社
監視装置
4日前
日本電気株式会社
監視装置
4日前
日本電気株式会社
海底分岐装置
5日前
日本電気株式会社
光集積回路素子
9日前
日本電気株式会社
レーザモジュール
10日前
日本電気株式会社
超伝導量子回路装置
10日前
日本電気株式会社
受信器および通信装置
11日前
日本電気株式会社
システム、装置及び方法
10日前
日本電気株式会社
通信装置および通信方法
16日前
日本電気株式会社
送信装置および通信装置
16日前
日本電気株式会社
光伝送システムおよび方法
12日前
日本電気株式会社
ラインカード及びイジェクタ
2日前
日本電気株式会社
分析方法および分析システム
17日前
日本電気株式会社
制御装置、プログラム及び方法
10日前
日本電気株式会社
兆候検知装置および兆候検知方法
12日前
日本電気株式会社
演算処理装置および演算処理方法
12日前
日本電気株式会社
放送用システムおよび字幕作成方法
12日前
日本電気株式会社
推定装置、推定方法及びプログラム
10日前
日本電気株式会社
情報処理装置、制御方法及び記憶媒体
10日前
日本電気株式会社
波長可変レーザ装置及びその構成方法
16日前
日本電気株式会社
ソーナー装置、通信方法、プログラム
12日前
日本電気株式会社
端末、端末の制御方法及びプログラム
2日前
日本電気株式会社
判別装置、判別方法、およびプログラム
12日前
日本電気株式会社
安否確認支援装置、方法及びプログラム
5日前
日本電気株式会社
注文端末、注文受付方法及びプログラム
16日前
日本電気株式会社
学習装置、学習方法及び学習プログラム
10日前
日本電気株式会社
通信システム、通信方法及び、プログラム
16日前
日本電気株式会社
動作認識装置、動作認識方法、プログラム
12日前
日本電気株式会社
性能監視装置、性能監視方法、プログラム
16日前
日本電気株式会社
情報処理装置、情報処理方法及びプログラム
10日前
日本電気株式会社
追跡支援装置、追跡支援方法及びプログラム
9日前
日本電気株式会社
情報表示装置、情報表示方法及びプログラム
16日前
日本電気株式会社
追跡支援装置、追跡支援方法及びプログラム
9日前
日本電気株式会社
情報処理装置、計算方法、およびプログラム
10日前
日本電気株式会社
制御装置、車両、制御方法およびプログラム
17日前
続きを見る
他の特許を見る