TOP
|
特許
|
意匠
|
商標
特許ウォッチ
Twitter
他の特許を見る
10個以上の画像は省略されています。
公開番号
2025151510
公報種別
公開特許公報(A)
公開日
2025-10-09
出願番号
2024052978
出願日
2024-03-28
発明の名称
通信品質解析システム、通信品質解析方法及び通信品質解析プログラム
出願人
日本電気株式会社
代理人
個人
主分類
H04W
24/08 20090101AFI20251002BHJP(電気通信技術)
要約
【課題】ユーザ端末の使用状況に応じた良好な通信品質を有する通信事業者を選択するための情報を提供する。
【解決手段】通信品質解析システム2は、第1の通信事業者を利用する第1のユーザ端末と第2の通信事業者を利用する第2のユーザ端末とを含む複数のユーザ端末から、ユーザ端末毎に時系列に記録された通信品質データを収集して蓄積するデータ収集手段11と、第1のユーザ端末と第2のユーザ端末との両方から得られた通信品質データを解析して、第1のユーザ端末に提示する通信品質解析情報を生成する提示情報生成手段12と、を有し、提示情報生成手段12は、第1の通信事業者の通信品質と第2の通信事業者の通信品質とを比較可能な通信品質解析情報DOを生成する通信品質評価値(CQV)生成装置を含む。
【選択図】図5
特許請求の範囲
【請求項1】
第1の通信事業者を利用する第1のユーザ端末と第2の通信事業者を利用する第2のユーザ端末とを含む複数のユーザ端末から、ユーザ端末毎に時系列に記録された通信品質データを収集して蓄積するデータ収集手段と、
前記第1のユーザ端末と前記第2のユーザ端末との両方から得られた前記通信品質データを解析して、前記第1のユーザ端末に提示する通信品質解析情報を生成する提示情報生成手段と、を有し、
前記提示情報生成手段は、前記第1の通信事業者の通信品質と前記第2の通信事業者の通信品質とを比較可能な前記通信品質解析情報を生成する通信品質解析システム。
続きを表示(約 1,500 文字)
【請求項2】
前記提示情報生成手段は、通信事業者毎に同一時間帯、同一地域における通信品質データを統計処理した情報を時間帯毎、及び、前記通信事業者毎に比較可能な状態で前記通信品質解析情報を生成する請求項1に記載の通信品質解析システム。
【請求項3】
前記提示情報生成手段は、過去の前記通信品質データに基づき現時点より先の時点における前記通信品質の推定値を前記通信品質解析情報に含める請求項1に記載の通信品質解析システム。
【請求項4】
前記提示情報生成手段は、前記第1のユーザ端末上で実行され、前記第1の通信事業者が提供するネットワークを介して通信を行うアプリケーションプログラム毎の通信品質を、前記第2の通信事業者と比較可能な状態で前記通信品質解析情報を生成する請求項1に記載の通信品質解析システム。
【請求項5】
前記通信品質解析情報は、地図上にマッピング可能な形式で生成される請求項1に記載の通信品質解析システム。
【請求項6】
前記第1のユーザ端末は、通信観測プログラムを実行し、
前記通信観測プログラムは、
通信速度の観測対象となる被観測プログラムが通信要求を行っていない期間においては、前記被観測プログラムとは異なる観測用のパケット通信を行うことで、前記通信品質データを取得する請求項1に記載の通信品質解析システム。
【請求項7】
前記通信観測プログラムは、
取得された前記通信品質データにより算出される第1の通信品質において、電波強度の強弱に対して通信速度が早い場合に低い値となり、遅い場合に高い値となる輻輳度が予め設定した輻輳度閾値以上になった場合に、前記第1のユーザ端末の利用者に前記輻輳度が高くなったことを通知する請求項6に記載の通信品質解析システム。
【請求項8】
前記通信品質解析情報には、電波強度の強弱に対して通信速度が早い場合に低い値となり、遅い場合に高い値となる輻輳度が通信事業者別に含まれる請求項1に記載の通信品質解析システム。
【請求項9】
データ収集プログラムが実行されるデータ収集手段を用いて、第1の通信事業者を利用する第1のユーザ端末と第2の通信事業者を利用する第2のユーザ端末とを含む複数のユーザ端末から、ユーザ端末毎に時系列に記録された通信品質データを収集し、
提示情報生成プログラムが実行される提示情報生成手段を用いて、前記第1のユーザ端末と前記第2のユーザ端末との両方から得られた前記通信品質データを解析して、前記第1のユーザ端末に提示する通信品質解析情報を生成し、
前記提示情報生成手段において、前記第1の通信事業者の通信品質と前記第2の通信事業者の通信品質とを比較可能な前記通信品質解析情報を生成する通信品質解析方法。
【請求項10】
データ収集手段上の演算部で実行され、第1の通信事業者を利用する第1のユーザ端末と第2の通信事業者を利用する第2のユーザ端末とを含む複数のユーザ端末から、ユーザ端末毎に時系列に記録された通信品質データを収集するデータ収集プログラムと、
提示情報生成手段上の演算部で実行され、前記第1のユーザ端末と前記第2のユーザ端末との両方から得られた前記通信品質データを解析して、前記第1のユーザ端末に提示する通信品質解析情報を生成する提示情報生成プログラムと、を有し、
前記提示情報生成プログラムが、前記第1の通信事業者の通信品質と前記第2の通信事業者の通信品質とを比較可能な前記通信品質解析情報を生成する通信品質解析プログラム。
発明の詳細な説明
【技術分野】
【0001】
本開示は、通信品質解析システム、通信品質解析方法及び通信品質解析プログラムに関する。
続きを表示(約 2,400 文字)
【背景技術】
【0002】
モバイルネットワークにおいては、電波強度が強い状態であってもデータ通信速度が遅くなるネットワークの輻輳が発生することがある。この輻輳は、電波強度の値だけでは判断出来ないため、端末側から輻輳を把握することが難しいという事情がある。このように、良好な通信環境を得るためには電波強度の値だけで判断することが難しいところ、ユーザには良好な通信品質を有する通信事業者を選択したいという要求がある。そこで、通信事業者毎の通信品質を把握する技術が特許文献1に開示されている。
【0003】
特許文献1に記載の通信システムは、ユーザ端末が、無線通信の利用位置を示す位置情報を管理装置に送信するとともに、異なる複数の通信キャリアのうち、無線通信に利用する無線回線の通信キャリアの選択を前記管理装置に要求し、前記管理装置が、前記異なる複数の通信キャリアに係る無線回線の状況を示す回線状況情報と当該無線回線の回線状況を測定した位置を示す位置情報と当該無線回線の通信キャリアを示すキャリア情報とを対応付けて記憶する記憶部を参照し、当該ユーザ端末から受信した前記位置情報と対応する前記回線状況情報を前記通信キャリア毎に求め、当該回線状況情報が所定条件に適合した通信キャリアを選択し、前記選択した通信キャリアを前記ユーザ端末に通知する。
【先行技術文献】
【特許文献】
【0004】
特開2013-219559号公報
【発明の概要】
【発明が解決しようとする課題】
【0005】
しかしながら、特許文献1に記載の技術は、ユーザ端末の現在位置において良好な通信状態となっている通信事業者を選択することはできるものの、ユーザ端末の使用状況に応じた良好な通信品質を有する通信事業者を選択することが出来ない問題があった。
【課題を解決するための手段】
【0006】
本開示にかかる通信品質解析システムは、第1の通信事業者を利用する第1のユーザ端末と第2の通信事業者を利用する第2のユーザ端末とを含む複数のユーザ端末から、ユーザ端末毎に時系列に記録された通信品質データを収集して蓄積するデータ収集手段と、前記第1のユーザ端末と前記第2のユーザ端末との両方から得られた前記通信品質データを解析して、前記第1のユーザ端末に提示する通信品質解析情報を生成する提示情報生成手段と、を有し、前記提示情報生成手段は、前記第1の通信事業者の通信品質と前記第2の通信事業者の通信品質とを比較可能な前記通信品質解析情報を生成する。
【0007】
本開示にかかる通信品質解析方法は、データ収集プログラムが実行されるデータ収集手段を用いて、第1の通信事業者を利用する第1のユーザ端末と第2の通信事業者を利用する第2のユーザ端末とを含む複数のユーザ端末から、ユーザ端末毎に時系列に記録された通信品質データを収集し、提示情報生成プログラムが実行される提示情報生成手段を用いて、前記第1のユーザ端末と前記第2のユーザ端末との両方から得られた前記通信品質データを解析して、前記第1のユーザ端末に提示する通信品質解析情報を生成し、前記提示情報生成手段において、前記第1の通信事業者の通信品質と前記第2の通信事業者の通信品質とを比較可能な前記通信品質解析情報を生成する。
【0008】
本開示にかかる通信品質解析プログラムは、データ収集手段上の演算部で実行され、第1の通信事業者を利用する第1のユーザ端末と第2の通信事業者を利用する第2のユーザ端末とを含む複数のユーザ端末から、ユーザ端末毎に時系列に記録された通信品質データを収集するデータ収集プログラムと、提示情報生成手段上の演算部で実行され、前記第1のユーザ端末と前記第2のユーザ端末との両方から得られた前記通信品質データを解析して、前記第1のユーザ端末に提示する通信品質解析情報を生成する提示情報生成プログラムと、を有し、前記提示情報生成プログラムが、前記第1の通信事業者の通信品質と前記第2の通信事業者の通信品質とを比較可能な前記通信品質解析情報を生成する。
【発明の効果】
【0009】
本開示にかかる通信品質解析システム、通信品質解析方法、及び、通信品質解析プログラムによれば、ユーザ端末の使用状況に応じた良好な通信品質を有する通信事業者を選択することが可能になる。
【図面の簡単な説明】
【0010】
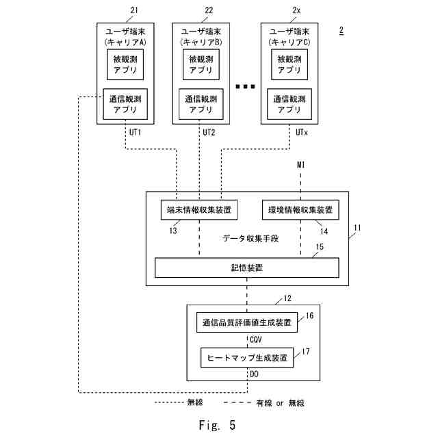
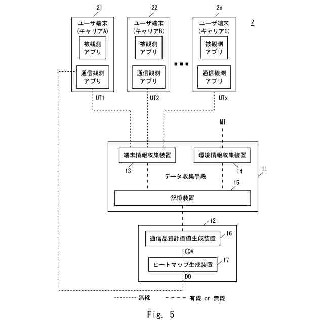
本開示にかかる通信品質解析システムのブロック図である。
本開示にかかるデータ収集手段及び提示情報生成手段の具体的な構成を説明するブロック図である。
本開示にかかる通信品質データの一例を説明する図である。
本開示にかかる通信品質解析システムの動作を説明するフローチャートである。
本開示にかかる通信品質解析システムのブロック図である。
本開示にかかるユーザ端末の具体的な構成を説明するブロック図である。
本開示にかかるユーザ端末の通信観測アプリの動作を説明するフローチャートである。
本開示にかかる通信品質解析システムの動作を説明するフローチャートである。
本開示にかかる通信品質解析システムのブロック図である。
本開示にかかる通信品質解析システムの動作を説明するフローチャートである。
本開示にかかる通信品質解析システムのブロック図である。
本開示にかかる通信品質解析システムの動作を説明するフローチャートである。
本開示にかかるユーザ端末の通信観測アプリの動作を説明するフローチャートである。
【発明を実施するための形態】
(【0011】以降は省略されています)
この特許をJ-PlatPat(特許庁公式サイト)で参照する
関連特許
日本電気株式会社
ラインカード及びイジェクタ
2日前
日本電気株式会社
端末、端末の制御方法及びプログラム
2日前
日本電気株式会社
補聴支援装置、補聴支援方法、及び、プログラム
2日前
日本電気株式会社
蓄電制御装置、蓄電制御方法、およびプログラム
2日前
日本電気株式会社
サーバ装置、システム、サーバ装置の制御方法及びプログラム
2日前
日本電気株式会社
情報処理装置、情報処理システム、情報処理方法及びプログラム
2日前
日本電気株式会社
フライトストリップ処理システム
2日前
個人
監視カメラシステム
4日前
キーコム株式会社
光伝送線路
5日前
WHISMR合同会社
収音装置
1か月前
サクサ株式会社
中継装置
10日前
個人
スキャン式車載用撮像装置
4日前
サクサ株式会社
中継装置
11日前
アイホン株式会社
電気機器
1か月前
キヤノン株式会社
撮像装置
1か月前
株式会社リコー
画像形成装置
1か月前
サクサ株式会社
無線通信装置
10日前
サクサ株式会社
無線通信装置
10日前
キヤノン電子株式会社
画像読取装置
3日前
個人
ワイヤレスイヤホン対応耳掛け
1か月前
株式会社リコー
画像形成装置
1か月前
キヤノン電子株式会社
画像読取装置
1か月前
株式会社リコー
画像形成装置
2か月前
サクサ株式会社
無線システム
9日前
ブラザー工業株式会社
読取装置
2か月前
個人
発信機及び発信方法
9日前
キヤノン株式会社
撮像システム
1か月前
日本電気株式会社
海底分岐装置
5日前
株式会社NTTドコモ
端末
5日前
シャープ株式会社
端末装置
2日前
大日本印刷株式会社
写真撮影装置
1か月前
国立大学法人電気通信大学
小型光学装置
1か月前
キヤノン電子株式会社
画像処理システム
3日前
株式会社NTTドコモ
端末
5日前
パテントフレア株式会社
超高速電波通信
1か月前
株式会社NTTドコモ
端末
4日前
続きを見る
他の特許を見る