TOP
|
特許
|
意匠
|
商標
特許ウォッチ
Twitter
他の特許を見る
10個以上の画像は省略されています。
公開番号
2025153466
公報種別
公開特許公報(A)
公開日
2025-10-10
出願番号
2024055963
出願日
2024-03-29
発明の名称
運転支援装置
出願人
株式会社アイシン
代理人
弁理士法人ネクスト
主分類
H04N
7/18 20060101AFI20251002BHJP(電気通信技術)
要約
【課題】駐車スペースまでの移動が長いロングレンジ駐車を行う場合であっても、車両の近傍に限られることなくこれから走行する走行経路周辺の状況を示すことを可能にした運転支援装置を提供する。
【解決手段】車両に設置された前方カメラ6、後方カメラ7、側方カメラ8A,8Bによって周辺環境を撮像した撮像画像を、該撮像画像を撮像した際の車両情報に対応付けて累積的に格納し、累積的に格納された撮像画像を車両情報に基づいて合成することで、車両が走行した経路沿いの周辺環境を示す経路周辺画像48を生成する一方、車両の走行予定経路を取得し、走行予定経路沿いの経路周辺画像48を車両の現在位置を示す自車アイコン画像51とともに表示するように構成する。
【選択図】図10
特許請求の範囲
【請求項1】
車両に設置された撮像装置によって周辺環境を撮像した撮像画像を、該撮像画像を撮像した際の車両情報に対応付けて累積的に格納する画像格納手段と、
累積的に格納された前記撮像画像を前記車両情報に基づいて合成することで、前記車両が走行した経路沿いの周辺環境を示す経路周辺画像を生成する画像合成手段と、
前記経路周辺画像を表示する画像表示手段と、を有する運転支援装置。
続きを表示(約 330 文字)
【請求項2】
前記画像格納手段は、
前記撮像装置により撮像された撮像画像を上空に位置する仮想視点から鉛直下方に見下ろした俯瞰画像に変換し、
前記俯瞰画像の内、前記車両の進行方向と左右側方の3方から前記車両を囲むU字形状の領域の画像を抽出して格納する請求項1に記載の運転支援装置。
【請求項3】
前記画像表示手段は、
前記車両の移動に伴って表示対象となる前記経路周辺画像を順次切り替えて前記車両の現在位置を示す車両画像とともに表示する請求項1又は請求項2に記載の運転支援装置。
【請求項4】
前記画像表示手段は、前記経路周辺画像を一画面上に表示する請求項1又は請求項2に記載の運転支援装置。
発明の詳細な説明
【技術分野】
【0001】
本発明は、車両の運転支援を行う運転支援装置に関する。
続きを表示(約 2,200 文字)
【背景技術】
【0002】
従来より、車両の乗員に対して経路案内や障害物の警告等の車両の走行支援を行う為の各種情報を提供する情報提供手段として、様々な手段が用いられている。例えば、車両に設置された液晶ディスプレイによる表示や、スピーカから出力する音声等である。ここで、車両の周囲には運転者の位置から視認困難な死角となるエリアが存在し、特に駐車操作や出庫操作などの特殊な操作が行われる場合においてはそのような死角の状況を運転者に把握させる為に、車両に設置されたカメラで撮像された周辺画像を液晶ディスプレイに表示することが行われていた。
【0003】
例えば特開2023-176548号公報には、車両を駐車スペースへと駐車させる駐車支援を行う場合において、車両の外壁に設置された複数のカメラで夫々周囲環境を撮像するとともに、撮像した撮像画像を合成することで車両の進行方向を示す進行方向画像や上空から車両周辺を見下ろした俯瞰画像を生成し、液晶ディスプレイに表示する技術について開示されている。
【先行技術文献】
【特許文献】
【0004】
特開2023-176548号公報(段落0071-0088)
【発明の概要】
【発明が解決しようとする課題】
【0005】
しかしながら、上記特許文献1において表示される進行方向画像や俯瞰画像では自車両の近傍のエリアの状況しか示すことができない問題がある。また、自車両の今後の進路(駐車軌道)についても自車両の近傍のエリアしか表示できない問題についても同様に存在する。このような特許文献1の技術では、自車両の近くにある駐車スペースへの駐車支援であれば対応可能であるが、例えば広い敷地内で予め決められた遠方の駐車スペースに移動して駐車を行うロングレンジ駐車では、駐車スペースまでの走行経路周辺の状況を案内できないことから、ユーザに対する支援を十分にすることができない問題が生じていた。
【0006】
本発明は前記従来における問題点を解消するためになされたものであり、過去に車両が走行した際に撮像した撮像画像を合成することで生成した経路周辺画像を表示することで、例えば駐車スペースまでの移動が長いロングレンジ駐車を行う場合であっても、車両の近傍に限られることなくこれから走行する走行経路周辺の状況を示すことを可能にした運転支援装置を提供することを目的とする。
【課題を解決するための手段】
【0007】
前記目的を達成するため本発明に係る運転支援装置は、車両に設置された撮像装置によって周辺環境を撮像した撮像画像を、該撮像画像を撮像した際の車両情報に対応付けて累積的に格納する画像格納手段と、累積的に格納された前記撮像画像を前記車両情報に基づいて合成することで、前記車両が走行した経路沿いの周辺環境を示す経路周辺画像を生成する画像合成手段と、前記経路周辺画像を表示する画像表示手段と、を有する。
尚、「周辺環境を撮像した撮像画像」は、カメラなどの撮像装置で撮像した画像そのものであっても良いし、撮像した画像を加工した画像であっても良い。例えば、複数台のカメラで撮影した画像を合成した画像であったり視点変換した画像であっても良い。
【発明の効果】
【0008】
前記構成を有する本発明に係る運転支援装置によれば、過去に車両が走行した際に撮像した撮像画像を合成することで生成した経路周辺画像を表示することで、例えば駐車スペースまでの移動が長いロングレンジ駐車を行う場合であっても、車両の近傍に限られることなくこれから走行する走行経路周辺の状況を示すことが可能となる。更に、経路周辺画像内に車両画像を表示することとすれば、走行経路における現在の自車位置についても容易に把握させることが可能となる。
【図面の簡単な説明】
【0009】
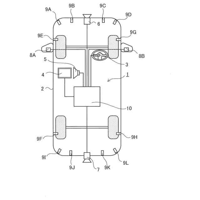
本実施形態に係る車両の概略構成図である。
本実施形態に係る運転支援装置の構成を示したブロック図である。
本実施形態に係る経路周辺画像生成処理プログラムのフローチャートである。
俯瞰画像の生成方法について説明した図である。
生成された俯瞰画像を示した図である。
累積的に格納する対象となる俯瞰画像の範囲を示した図である。
累積的に格納された俯瞰画像の一部を合成することで生成される経路周辺画像を示した図である。
経路周辺画像の一例を示した図である。
本実施形態に係る駐車支援処理プログラムのフローチャートである。
液晶ディスプレイに表示される経路周辺画像の一例を示した図である。
液晶ディスプレイに表示される経路周辺画像の一例を示した図である。
【発明を実施するための形態】
【0010】
以下、本発明に係る運転支援装置について具体化した一実施形態について図面を参照しつつ詳細に説明する。先ず、本実施形態に係る運転支援装置1を搭載した車両2について以下説明する。図1は本実施形態に係る車両2の概略構成図である。
(【0011】以降は省略されています)
この特許をJ-PlatPat(特許庁公式サイト)で参照する
関連特許
株式会社アイシン
ロータ
6日前
株式会社アイシン
ロータ
今日
株式会社アイシン
ロータ
4日前
株式会社アイシン
空気袋
15日前
株式会社アイシン
駆動装置
13日前
株式会社アイシン
ステータ
4日前
株式会社アイシン
保護装置
5日前
株式会社アイシン
検知装置
5日前
株式会社アイシン
ステータ
4日前
株式会社アイシン
制御装置
11日前
株式会社アイシン
回転電機
7日前
株式会社アイシン
回転電機
11日前
株式会社アイシン
制御装置
5日前
株式会社アイシン
制御装置
5日前
株式会社アイシン
制御装置
5日前
株式会社アイシン
駆動装置
5日前
株式会社アイシン
ステータ
4日前
株式会社アイシン
ステータ
4日前
株式会社アイシン
歯車機構
今日
株式会社アイシン
車体構造
11日前
株式会社アイシン
電子機器
5日前
株式会社アイシン
回転電機
7日前
株式会社アイシン
温度調節器
15日前
株式会社アイシン
温度調節器
25日前
株式会社アイシン
温度調節器
25日前
株式会社アイシン
レーダ装置
5日前
株式会社アイシン
温度調節器
11日前
株式会社アイシン
鋳ぐるみ品
15日前
株式会社アイシン
センサ固定具
6日前
株式会社アイシン
駐車支援装置
7日前
株式会社アイシン
超音波センサ
6日前
株式会社アイシン
出庫支援装置
5日前
株式会社アイシン
超音波センサ
6日前
株式会社アイシン
運転支援装置
5日前
株式会社アイシン
運転支援装置
11日前
株式会社アイシン
電解システム
5日前
続きを見る
他の特許を見る