TOP
|
特許
|
意匠
|
商標
特許ウォッチ
Twitter
他の特許を見る
公開番号
2025148778
公報種別
公開特許公報(A)
公開日
2025-10-08
出願番号
2024049066
出願日
2024-03-26
発明の名称
センサ固定具
出願人
株式会社アイシン
代理人
弁理士法人酒井国際特許事務所
主分類
G01S
7/521 20060101AFI20251001BHJP(測定;試験)
要約
【課題】収容部の内部に液体が進入するのを抑制することができるセンサ固定具を提供する。
【解決手段】センサ固定具は、弾性部材の内側に嵌められた状態で弾性部材とともに車両の部材の部材貫通孔に入れられるセンサを支持する。センサ固定具は、部材における部材貫通孔の貫通方向の一方側の一面に固定される。センサ固定具は、センサにおいて部材貫通孔から部材貫通孔の一方に突出した部分を収容する筒状の収容部と、収容部における部材側の一端部から収容部の外側に延び、一面に固定される固定部と、収容部の一端部から弾性部材に向かって延び、弾性部材と収容部との間を埋める埋め部と、を備える。
【選択図】図2
特許請求の範囲
【請求項1】
環状の弾性部材の内側に嵌められた状態で前記弾性部材とともに車両の部材の部材貫通孔に入れられるセンサを支持し、前記部材における前記部材貫通孔の貫通方向の一方側の一面に固定されるセンサ固定具であって、
前記センサにおいて前記部材貫通孔から前記部材貫通孔の一方に突出した部分を収容する筒状の収容部と、
前記収容部における前記部材側の一端部から前記収容部の外側に延び、前記一面に固定される固定部と、
前記収容部の前記一端部から前記弾性部材に向かって延び、前記弾性部材と前記収容部との間を埋める埋め部と、
を備えるセンサ固定具。
続きを表示(約 200 文字)
【請求項2】
前記埋め部は、前記一面と接触する、
請求項1に記載のセンサ固定具。
【請求項3】
前記固定部は、前記部材貫通孔に重ねられる接着部材貫通孔が設けられる接着部材を介して前記一面に固定され、
前記埋め部は、前記弾性部材と前記センサとともに前記接着部材貫通孔に入れられ、前記接着部材と前記弾性部材との間を埋める、
請求項1または2に記載のセンサ固定具。
発明の詳細な説明
【技術分野】
【0001】
本発明は、センサ固定具に関する。
続きを表示(約 1,500 文字)
【背景技術】
【0002】
従来、車両のバンパーに超音波センサを固定するセンサ固定具が知られている(例えば、特許文献1参照)。バンパーには、超音波センサの一部が入れられる貫通孔が設けられている。センサ固定具は、貫通孔に入れられた状態の超音波センサを支持し、バンパーに接着される。センサ固定具は、超音波センサの一部を収容する筒状の収容部を有する。
【先行技術文献】
【特許文献】
【0003】
特開2021-128052号公報
【発明の概要】
【発明が解決しようとする課題】
【0004】
従来技術では、雨水等の液体がバンパーの貫通孔からセンサ固定具の収容部の内部に進入して収容部に溜まる場合がある。収容部に液が溜まると、超音波センサの性能が低下する場合がある。
【0005】
そこで、本発明の実施形態は、収容部の内部に液体が進入するのを抑制することができるセンサ固定具を提供することを課題の一つとする。
【課題を解決するための手段】
【0006】
本発明の実施形態のセンサ固定具は、環状の弾性部材の内側に嵌められた状態で前記弾性部材とともに車両の部材の部材貫通孔に入れられるセンサを支持し、前記部材における前記部材貫通孔の貫通方向の一方側の一面に固定されるセンサ固定具であって、前記センサにおいて前記部材貫通孔から前記部材貫通孔の一方に突出した部分を収容する筒状の収容部と、前記収容部における前記部材側の一端部から前記収容部の外側に延び、前記一面に固定される固定部と、前記収容部の前記一端部から前記弾性部材に向かって延び、前記弾性部材と前記収容部との間を埋める埋め部と、を備える。
【発明の効果】
【0007】
本発明の実施形態のセンサ固定具によれば、収容部の内部に液体が進入するのを抑制することができる。
【図面の簡単な説明】
【0008】
図1は、実施形態のセンサ固定構造の模式的かつ例示的な斜視図であって、センサ固定構造が超音波センサをバンパーに固定した状態の図である。
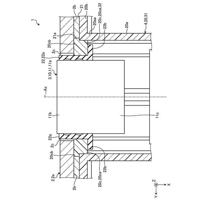
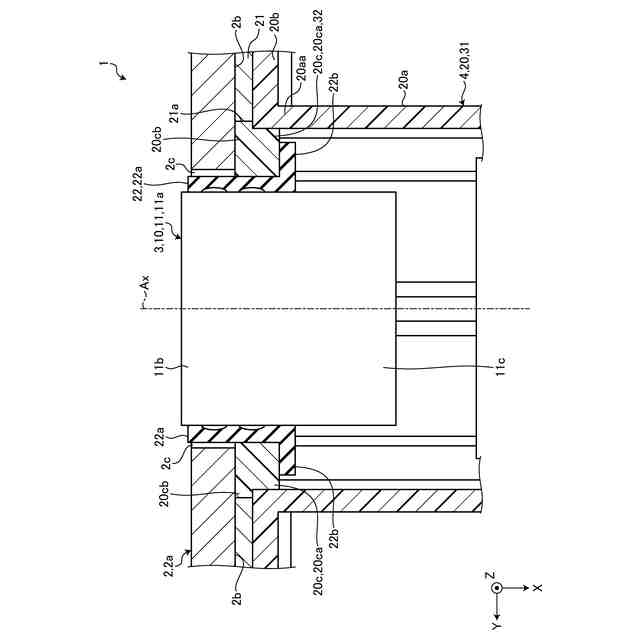
図2は、実施形態のセンサ固定構造の模式的かつ例示的な断面図であって、センサ固定構造が超音波センサをバンパーに固定した状態の図である。
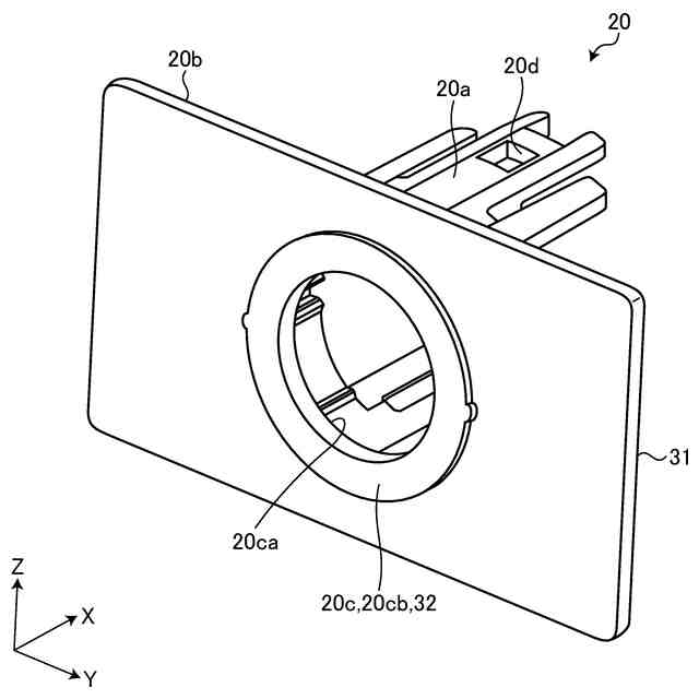
図3は、実施形態のセンサ固定具の模式的かつ例示的な斜視図であって、センサ固定具の正面側からの視線での図である。
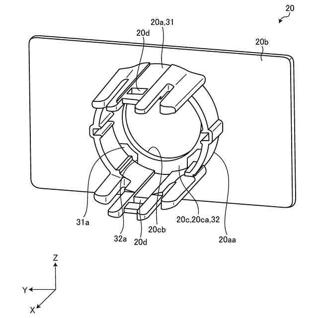
図4は、実施形態のセンサ固定具の模式的かつ例示的な斜視図であって、センサ固定具の背面側からの視線での図である。
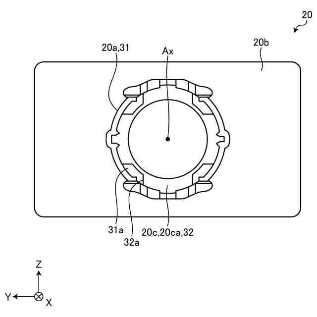
図5は、実施形態のセンサ固定具の模式的かつ例示的な背面図である。
【発明を実施するための形態】
【0009】
以下、図面を参照して、実施形態について説明する。以下に示される実施形態の構成(技術的特徴)、ならびに当該構成によってもたらされる作用および効果は、あくまで一例である。本発明は、以下の実施形態に開示される構成以外によっても実現可能であるとともに、基本的な構成によって得られる種々の効果のうち少なくとも一つを得ることが可能である。
【0010】
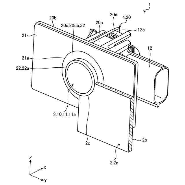
図1は、実施形態のセンサ固定構造4の模式的かつ例示的な斜視図であって、センサ固定構造4が超音波センサ3をバンパー2に固定した状態の図である。図2は、実施形態のセンサ固定構造4の模式的かつ例示的な断面図であって、センサ固定構造4が超音波センサ3をバンパー2に固定した状態の図である。
(【0011】以降は省略されています)
この特許をJ-PlatPat(特許庁公式サイト)で参照する
関連特許
個人
メジャー文具
3日前
個人
計量スプーン
1か月前
ユニパルス株式会社
ロードセル
2日前
日本精機株式会社
位置検出装置
9日前
日本精機株式会社
位置検出装置
9日前
日本精機株式会社
位置検出装置
9日前
大和製衡株式会社
組合せ秤
14日前
大和製衡株式会社
組合せ秤
14日前
アズビル株式会社
圧力センサ
8日前
株式会社チノー
放射光測温装置
2日前
株式会社東芝
センサ
14日前
株式会社東芝
センサ
14日前
エイブリック株式会社
磁気センサ回路
8日前
ダイハツ工業株式会社
測定用具
1か月前
トヨタ自動車株式会社
監視装置
1日前
株式会社ヨコオ
ソケット
2日前
トヨタ自動車株式会社
検査装置
11日前
株式会社ヨコオ
ソケット
1日前
トヨタ自動車株式会社
表示装置
23日前
株式会社ユーシン
操作検出装置
11日前
TDK株式会社
磁気センサ
1か月前
株式会社ナリス化粧品
角層細胞採取用具
21日前
個人
粘塑性を用いた有限要素法の定式化
23日前
株式会社東芝
重量測定装置
7日前
TDK株式会社
ガスセンサ
7日前
東レエンジニアリング株式会社
計量装置
11日前
TDK株式会社
ガスセンサ
2日前
TDK株式会社
磁気センサ
1日前
株式会社ヨコオ
コンタクタ
1か月前
TDK株式会社
ガスセンサ
8日前
多摩川精機株式会社
冗長エンコーダ
1日前
成田空港給油施設株式会社
保持治具
22日前
三恵技研工業株式会社
融雪レドーム
1日前
富士電機株式会社
エンコーダ
8日前
TDK株式会社
電磁波センサ
2日前
株式会社熊谷組
RI計測装置
9日前
続きを見る
他の特許を見る