TOP
|
特許
|
意匠
|
商標
特許ウォッチ
Twitter
他の特許を見る
10個以上の画像は省略されています。
公開番号
2025136014
公報種別
公開特許公報(A)
公開日
2025-09-19
出願番号
2024034166
出願日
2024-03-06
発明の名称
車両運転支援システム
出願人
マツダ株式会社
代理人
個人
,
個人
,
個人
,
個人
,
個人
主分類
B60W
40/08 20120101AFI20250911BHJP(車両一般)
要約
【課題】ドライバと車両1との間に良好な心理的関係を構築できる車両運転支援システム10を提供することを目的とする。
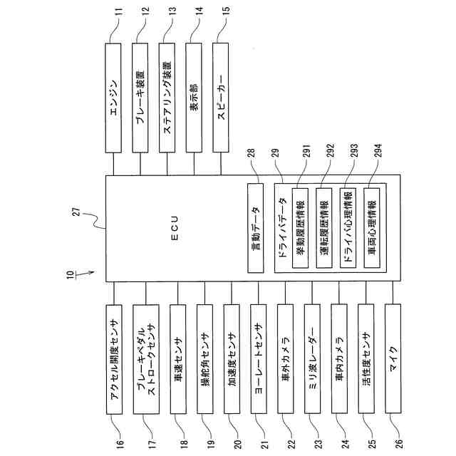
【解決手段】車両運転支援システム10であって、ドライバの車両1に対する心理状態を示すドライバ心理情報293を算出するドライバ心理算出手段(ECU27)と、車両1のドライバに対する疑似心理状態を示す車両心理情報294を算出する車両心理算出手段(ECU27)と、車両エージェントVに行わせる言動の内容を示す複数の言動情報を記憶した言動データ28と、ドライバ心理情報293及び車両心理情報294を互恵的状態に近づける言動情報を選択する言動情報選択手段(ECU27)と、言動情報に基づいて車両エージェントVの言動を制御するエージェント制御手段(ECU27)と、ドライバ心理情報293の算出及び車両心理情報294の算出を繰り返して更新する心理情報更新手段(ECU27)とを備えたことを特徴とする。
【選択図】図6
特許請求の範囲
【請求項1】
車両のドライバとのコミュニケーションを行う車両エージェントを介して、前記ドライバの運転操作を支援する車両運転支援システムであって、
前記ドライバの前記車両に対する心理状態を示すドライバ心理情報を、前記ドライバの状態を検出するドライバ状態検出手段、及び前記ドライバによる運転操作の履歴が登録された履歴情報の少なくとも一つを用いて算出するドライバ心理算出手段と、
前記車両の前記ドライバに対する疑似心理状態を示す車両心理情報を、前記ドライバ状態検出手段及び前記履歴情報の少なくとも一つを用いて算出する車両心理算出手段と、
前記車両エージェントに行わせる言動の内容を示す複数の言動情報を記憶した言動情報記憶手段と、
現在の前記ドライバ心理情報及び現在の前記車両心理情報に基づいて、前記ドライバ心理情報及び前記車両心理情報を互恵的状態に近づける前記言動情報を前記言動情報記憶手段から選択する言動情報選択手段と、
該言動情報選択手段で選択した前記言動情報に基づいて前記車両エージェントの言動を制御するエージェント制御手段と、
前記ドライバ心理算出手段による前記ドライバ心理情報の算出、及び前記車両心理算出手段による前記車両心理情報の算出を繰り返して、現在の前記ドライバ心理情報及び現在の前記車両心理情報をそれぞれ更新する心理情報更新手段とを備えた
車両運転支援システム。
続きを表示(約 450 文字)
【請求項2】
前記ドライバ心理算出手段は、
前記ドライバの前記車両に対する親密度と前記ドライバの前記車両への依存度とを前記ドライバ心理情報として算出し、
前記車両心理算出手段は、
前記車両の前記ドライバに対する親密度と前記車両の前記ドライバへの依存度とを前記車両心理情報として算出する
請求項1に記載の車両運転支援システム。
【請求項3】
前記言動情報選択手段は、
現在の前記ドライバの前記車両への前記依存度が前記互恵的状態よりも低い場合、前記ドライバの前記車両への前記依存度を高くするような前記言動情報を選択する構成である
請求項2に記載の車両運転支援システム。
【請求項4】
前記依存度を示す第1軸と前記親密度を示す第2軸とで構成された仮想二次元座標平面上に、現在の前記ドライバ心理情報及び現在の前記車両心理情報をマッピングするマッピング手段を備えた
請求項2に記載の車両運転支援システム。
発明の詳細な説明
【技術分野】
【0001】
この発明は、例えば車両の分身である車両エージェントの言動を介して、車両を運転するドライバとの間でコミュニケーションをとりながら、ドライバの運転操作を支援するような車両運転支援システムに関する。
続きを表示(約 1,700 文字)
【背景技術】
【0002】
自動車などの車両では、ドライバの運転操作を支援する車両運転支援システムとして、例えばドライバの運転操作に部分的に介入する先進運転支援システムや、所定条件下においてドライバから運転操作を譲受して自動運転を行う自動運転システムなどが知られている。
【0003】
さらに、車両運転支援システムでは、例えば車両の周囲の状況に応じた運転操作の案内や、ドライバと車両との間で運転操作の受け渡しを行う案内を、音声や表示だけでなく車両の分身である車両エージェントを介して報知して運転支援する技術も知られている。
【0004】
ところが、例えば車両エージェントを介した運転支援をドライバが信頼していない場合、車両運転支援システムによる運転支援が運転中のドライバの安全確保に有効に機能しないおそれがある。
そこで、車両に疑似的な感情を設定し、ドライバと車両との間に車両エージェントを介した良好な心理的関係を構築する技術が提案されている。
【0005】
例えば特許文献1では、車両運転支援システムによる運転支援が介入していない状態において、シフトポジションがパーキングレンジに位置する場合、車両を擬人化した車両エージェントがドライバに正対するとともに、音声案内に応じた動作を行うことで、ドライバと車両との間に良好な心理的関係を構築している。
【0006】
しかしながら、特許文献1は、ドライバが車両エージェントの言動や車両の運転支援の介入を受け入れているかに関わらず、車両エージェントがドライバとの間に一方的な心理的関係を構築している。このため、特許文献1では、必ずしもドライバと車両との間に車両エージェントを介した良好な心理的関係を構築できているとはいえず、改善の余地があった。
【先行技術文献】
【特許文献】
【0007】
特開2023-19243号公報
【発明の概要】
【発明が解決しようとする課題】
【0008】
本発明は、上述の問題に鑑み、ドライバと車両との間に良好な心理的関係を構築できる車両運転支援システムを提供することを目的とする。
【課題を解決するための手段】
【0009】
この発明は、車両のドライバとのコミュニケーションを行う車両エージェントを介して、前記ドライバの運転操作を支援する車両運転支援システムであって、前記ドライバの前記車両に対する心理状態を示すドライバ心理情報を、前記ドライバの状態を検出するドライバ状態検出手段、及び前記ドライバによる運転操作の履歴が登録された履歴情報の少なくとも一つを用いて算出するドライバ心理算出手段と、前記車両の前記ドライバに対する疑似心理状態を示す車両心理情報を、前記ドライバ状態検出手段及び前記履歴情報の少なくとも一つを用いて算出する車両心理算出手段と、前記車両エージェントに行わせる言動の内容を示す複数の言動情報を記憶した言動情報記憶手段と、現在の前記ドライバ心理情報及び現在の前記車両心理情報に基づいて、前記ドライバ心理情報及び前記車両心理情報を互恵的状態に近づける前記言動情報を前記言動情報記憶手段から選択する言動情報選択手段と、該言動情報選択手段で選択した前記言動情報に基づいて前記車両エージェントの言動を制御するエージェント制御手段と、前記ドライバ心理算出手段による前記ドライバ心理情報の算出、及び前記車両心理算出手段による前記車両心理情報の算出を繰り返して、現在の前記ドライバ心理情報及び現在の前記車両心理情報をそれぞれ更新する心理情報更新手段とを備えたことを特徴とする。
【0010】
上記車両エージェントとは、例えば車室内の表示手段に表示された三次元モデル、あるいは車室内に配置されたロボットなどのことをいう。
上記ドライバの運転操作を支援するとは、ドライバによる運転操作に部分的に介入して車両の動作を制御する、あるいはドライバから運転操作を譲受して車両の動作を制御することをいう。
(【0011】以降は省略されています)
この特許をJ-PlatPat(特許庁公式サイト)で参照する
関連特許
マツダ株式会社
二次電池
19日前
マツダ株式会社
排気システム
今日
マツダ株式会社
排気システム
今日
マツダ株式会社
排気浄化装置
1か月前
マツダ株式会社
排気浄化装置
1か月前
マツダ株式会社
車両用駆動装置
27日前
マツダ株式会社
車両用駆動装置
27日前
マツダ株式会社
車両用駆動装置
27日前
マツダ株式会社
車両用駆動装置
27日前
マツダ株式会社
車両用駆動装置
27日前
マツダ株式会社
冷媒循環システム
21日前
マツダ株式会社
冷媒循環システム
21日前
マツダ株式会社
冷媒循環システム
21日前
マツダ株式会社
冷媒循環システム
21日前
マツダ株式会社
水噴射式エンジン
1か月前
マツダ株式会社
冷媒循環システム
21日前
マツダ株式会社
冷媒循環システム
21日前
マツダ株式会社
エンジンシステム
1か月前
マツダ株式会社
エンジンシステム
1か月前
マツダ株式会社
燃料改質システム
1か月前
マツダ株式会社
車両用リッド構造
1か月前
マツダ株式会社
冷媒循環システム
21日前
マツダ株式会社
冷媒循環システム
21日前
マツダ株式会社
二次電池の制御装置
今日
マツダ株式会社
モータ軸受システム
9日前
マツダ株式会社
車両の下部車体構造
1日前
マツダ株式会社
バッテリの制御装置
1日前
マツダ株式会社
車両の下部車体構造
5日前
マツダ株式会社
車両の下部車体構造
5日前
マツダ株式会社
車両の下部車体構造
5日前
マツダ株式会社
車両の下部車体構造
5日前
マツダ株式会社
車両の下部車体構造
9日前
マツダ株式会社
車両の下部車体構造
9日前
マツダ株式会社
モータ軸受システム
9日前
マツダ株式会社
車両の下部車体構造
9日前
マツダ株式会社
車両運転支援システム
19日前
続きを見る
他の特許を見る