TOP
|
特許
|
意匠
|
商標
特許ウォッチ
Twitter
他の特許を見る
公開番号
2025135770
公報種別
公開特許公報(A)
公開日
2025-09-19
出願番号
2024033718
出願日
2024-03-06
発明の名称
二次電池
出願人
マツダ株式会社
代理人
弁理士法人前田特許事務所
主分類
H01M
4/70 20060101AFI20250911BHJP(基本的電気素子)
要約
【課題】二次電池の反応部位の均一化を図る。
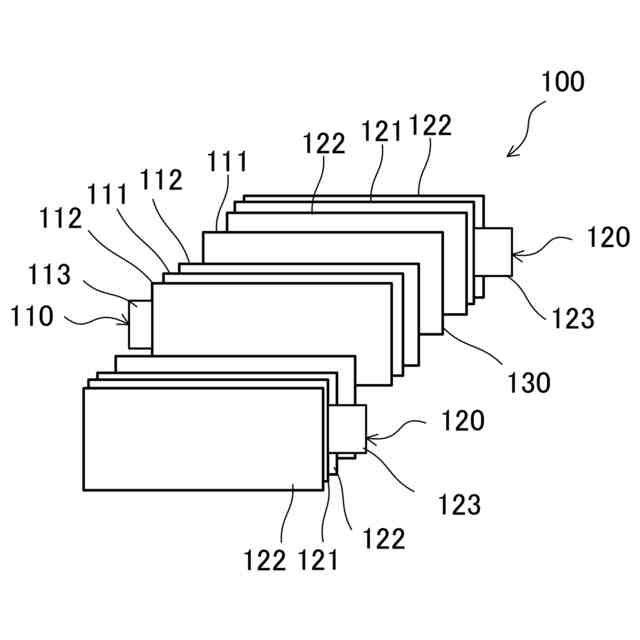
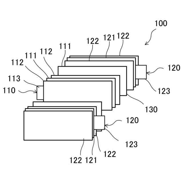
【解決手段】正極タブ113(集電用タブ)を有する正電極110と、負極タブ123(集電用タブ)を有する負電極120と、電解質を保持するセパレータ130とが積層された二次電池は、正極タブ113および/または負極タブ123の近傍において正電極110と負電極120との間に流れる電流の電流密度を低下させるように制御する電流密度制御部(孔111a)を有する。
【選択図】図1
特許請求の範囲
【請求項1】
集電用タブおよびシート状の導電性材料を有する正電極と、
集電用タブおよびシート状の導電性材料を有する負電極と、
電解質を保持するセパレータと、が積層された二次電池であって、
前記集電用タブの近傍において前記正電極と前記負電極との間の電流密度を低下させるように制御する電流密度制御部を有することを特徴とする二次電池。
続きを表示(約 840 文字)
【請求項2】
請求項1の二次電池であって、
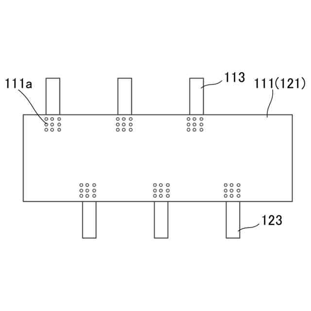
前記電流密度制御部は、前記正電極、および前記負電極の少なくとも一方の前記導電性材料における前記集電用タブの近傍の領域に形成された孔の大きさ、および/または配置パターンによって構成されていることを特徴とする二次電池。
【請求項3】
請求項1の二次電池であって、
前記電流密度制御部は、前記正電極、および前記負電極の少なくとも一方における前記集電用タブの近傍の領域に形成された絶縁領域の大きさ、および/または配置パターンによって構成されていることを特徴とする二次電池。
【請求項4】
請求項1の二次電池であって、
前記正電極、および前記負電極は、それぞれ矩形の平板状に形成され、
前記正電極の集電用タブと、前記負電極の集電用タブとは、互いに反対方向に延設されていることを特徴とする二次電池。
【請求項5】
請求項1の二次電池であって、
前記正電極、および前記負電極は、それぞれ矩形の平板状に形成され、
前記正電極の集電用タブと、前記負電極の集電用タブとは、互いに同一方向に延設されていることを特徴とする二次電池。
【請求項6】
請求項1の二次電池であって、
帯状の前記正電極、および帯状の前記負電極が積層され、巻回されて形成され、
前記正電極および前記負電極の前記集電用タブは、それぞれ、前記帯状の幅方向における一方側に延設されていることを特徴とする二次電池。
【請求項7】
請求項1の二次電池であって、
帯状の前記正電極、および帯状の前記負電極が積層され、巻回されて形成され、
前記正電極の前記集電用タブは、前記帯状の幅方向における一方側に延設され、
前記正電極の前記集電用タブは、前記帯状の幅方向における他方側に延設されていることを特徴とする二次電池。
発明の詳細な説明
【技術分野】
【0001】
本発明は、本発明は、二次電池に関するものである。
続きを表示(約 1,100 文字)
【背景技術】
【0002】
特許文献1には、正極と、リチウムイオンを吸蔵・放出が可能なカーボン負極と、非水電解質とを備え、前記正極および前記負極の少なくとも一方に、孔または溝を設けた二次電池が開示されている。
【0003】
前記特許文献1によれば、電極の面積を大きくしても、電池効率が低下しないようにできるとされている。
【先行技術文献】
【特許文献】
【0004】
特開平9-283116号公報
【発明の概要】
【発明が解決しようとする課題】
【0005】
しかしながら、特許文献1のように正極や負極に孔を設けても、電極の面積を大きくすると、反応部位の均一性が損なわれやすくなり、部分的な劣化が進行しやすくなることが想定される。
【0006】
本発明は、上記の点に鑑みてなされたものであり、反応部位の均一化を容易に図り得るようにすることを目的としている。
【課題を解決するための手段】
【0007】
上記の目的を達成するために、
本発明は、
集電用タブを有する正電極と、
集電用タブを有する負電極と、
電解質を保持するセパレータと、が積層された二次電池であって、
前記集電用タブの近傍において前記正電極と負電極との間に流れる電流の電流密度を低下させるように制御する電流密度制御部を有することを特徴とする。
【0008】
これにより、集電用タブの近傍で電流密度を低下させて、均一化させ、反応部位を分散させて温度上昇を均一化させることができる。
【発明の効果】
【0009】
本発明では、反応部位の均一化を容易に図ることができる。
【図面の簡単な説明】
【0010】
図1は、実施形態1に係る二次電池100の構成を模式的に示す分解斜視図である。
図2は、正極箔111の構成を示す正面図である。
図3は、二次電池100の反応分布の例を示す説明図である。
図4は、実施形態1の変形例に係る正極箔111の構成を示す正面図である。
図5は、実施形態2に係る二次電池100の外観を示す斜視図である。
図6は、実施形態2に係る正極箔111および負極箔121の構成を示す正面図である。
図7は、実施形態2の他の例に係る正極箔111および負極箔121の構成を示す正面図である。
【発明を実施するための形態】
(【0011】以降は省略されています)
この特許をJ-PlatPat(特許庁公式サイト)で参照する
関連特許
マツダ株式会社
二次電池
12日前
マツダ株式会社
排気浄化装置
28日前
マツダ株式会社
排気浄化装置
28日前
マツダ株式会社
車両用駆動装置
20日前
マツダ株式会社
車両用駆動装置
20日前
マツダ株式会社
車両用駆動装置
20日前
マツダ株式会社
車両用駆動装置
20日前
マツダ株式会社
車両用駆動装置
20日前
マツダ株式会社
冷媒循環システム
14日前
マツダ株式会社
冷媒循環システム
14日前
マツダ株式会社
冷媒循環システム
14日前
マツダ株式会社
冷媒循環システム
14日前
マツダ株式会社
冷媒循環システム
14日前
マツダ株式会社
冷媒循環システム
14日前
マツダ株式会社
冷媒循環システム
14日前
マツダ株式会社
エンジンシステム
29日前
マツダ株式会社
エンジンシステム
29日前
マツダ株式会社
燃料改質システム
1か月前
マツダ株式会社
冷媒循環システム
14日前
マツダ株式会社
車両の下部車体構造
2日前
マツダ株式会社
車両の下部車体構造
2日前
マツダ株式会社
モータ軸受システム
2日前
マツダ株式会社
モータ軸受システム
2日前
マツダ株式会社
車両の下部車体構造
2日前
マツダ株式会社
車両運転支援システム
12日前
マツダ株式会社
車両運転支援システム
2日前
マツダ株式会社
車両運転支援システム
2日前
マツダ株式会社
車両運転支援システム
12日前
マツダ株式会社
ドライバ状態推定装置
1か月前
マツダ株式会社
ドライバ状態推定装置
1か月前
マツダ株式会社
樹脂発泡体及びシート
13日前
マツダ株式会社
車両用サンシェード装置
6日前
マツダ株式会社
車両用サンシェード装置
6日前
マツダ株式会社
車両の燃料改質システム
1か月前
マツダ株式会社
車両用サンシェード装置
6日前
マツダ株式会社
車両の燃料改質システム
1か月前
続きを見る
他の特許を見る