TOP
|
特許
|
意匠
|
商標
特許ウォッチ
Twitter
他の特許を見る
公開番号
2025134346
公報種別
公開特許公報(A)
公開日
2025-09-17
出願番号
2024032195
出願日
2024-03-04
発明の名称
冷媒循環システム
出願人
マツダ株式会社
代理人
個人
,
個人
,
個人
,
個人
,
個人
主分類
H02K
5/167 20060101AFI20250909BHJP(電力の発電,変換,配電)
要約
【課題】オイルを含有する冷媒によってモータの滑り軸受を潤滑する冷媒循環システムにおいて、回転軸と滑り軸受との接触回避及び滑り軸受での潤滑抵抗の低下を実現する。
【解決手段】CO
2
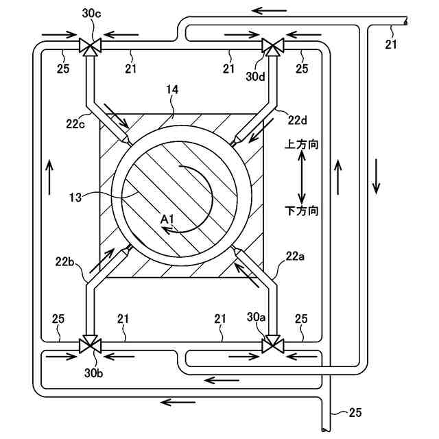
にオイルを含有させた冷媒を循環する冷媒循環システム100は、コンプレッサ3により圧縮された冷媒を用いて潤滑を行い、回転軸13を支持する滑り軸受14を備えるモータ1と、滑り軸受の下部に冷媒を供給するように設けられた複数の冷媒通路22a、22bと、これら冷媒通路から供給される冷媒中のオイル含有率をそれぞれ調整する第1流量調整バルブ30a、30bと、回転軸の回転方向において上流側にある冷媒通路22aからのオイル含有率が、下流側の冷媒通路22bからのオイル含有率よりも大きくなるように、第1流量調整バルブ30a、30bのそれぞれを制御する制御装置80と、を有する。
【選択図】図6
特許請求の範囲
【請求項1】
CO
2
にオイルを含有させた冷媒を循環する冷媒循環システムであって、
前記冷媒を圧縮するコンプレッサと、
ロータ及びステータと、前記ロータに連結された回転軸と、前記コンプレッサにより圧縮された液状の前記冷媒を用いて潤滑を行い、前記回転軸を支持する滑り軸受と、を備えるモータと、
前記冷媒を前記モータの前記滑り軸受へと供給する冷媒通路と、
前記冷媒通路から前記滑り軸受に供給される前記冷媒中の前記オイルの含有率を調整するように構成されたオイル含有率調整バルブと、
前記オイル含有率調整バルブを制御するように構成された制御装置と、
を有し、
前記冷媒通路は、前記滑り軸受の下部に前記冷媒を供給するように設けられた複数の冷媒通路を含み、これら複数の冷媒通路は、前記滑り軸受における周方向の複数の位置に前記冷媒を供給するように構成され、
前記オイル含有率調整バルブは、前記複数の冷媒通路から供給される前記冷媒中の前記オイルの含有率をそれぞれ調整するように複数設けられ、
前記制御装置は、前記複数の冷媒通路の中で前記回転軸の回転方向において上流側に設けられた1つ以上の冷媒通路からの前記オイルの含有率が、当該1つ以上の冷媒通路以外の他の冷媒通路からの前記オイルの含有率よりも大きくなるように、複数の前記オイル含有率調整バルブのそれぞれを制御するように構成されている、
ことを特徴とする冷媒循環システム。
続きを表示(約 1,100 文字)
【請求項2】
前記制御装置は、前記モータの動作中において、前記1つ以上の冷媒通路からの前記オイルの含有率が、前記他の冷媒通路からの前記オイルの含有率よりも大きくなるように、前記複数のオイル含有率調整バルブのそれぞれを制御するように構成されている、請求項1に記載の冷媒循環システム。
【請求項3】
前記制御装置は、前記1つ以上の冷媒通路からの前記オイルの含有率が略100%になり、前記他の冷媒通路からの前記オイルの含有率が略0%になるように、前記複数のオイル含有率調整バルブのそれぞれを制御するように構成されている、請求項1又は2に記載の冷媒循環システム。
【請求項4】
前記冷媒通路は、前記滑り軸受の下部に前記冷媒を供給するように設けられた前記複数の冷媒通路に加えて、前記滑り軸受の上部に前記冷媒を供給するように設けられた複数の冷媒通路を更に含み、前記オイル含有率調整バルブは、これら複数の冷媒通路の全てから供給される前記冷媒中の前記オイルの含有率をそれぞれ調整するように複数設けられ、
前記制御装置は、前記複数の冷媒通路の中で前記滑り軸受の下部に前記冷媒を供給するように設けられ且つ前記回転方向において上流側にある1つ以上の冷媒通路からの前記オイルの含有率が、当該1つ以上の冷媒通路以外の他の冷媒通路からの前記オイルの含有率よりも大きくなるように、前記複数のオイル含有率調整バルブのそれぞれを制御するように構成されている、
請求項1又は2に記載の冷媒循環システム。
【請求項5】
前記冷媒循環システムは、前記オイルを前記冷媒通路に供給するオイル通路と、前記オイル通路に接続され、前記オイルを貯留するオイルタンクとを更に有し、前記オイルタンクは、前記冷媒に含有される前記オイルを分離して、当該オイルを貯留するように構成されている、請求項1又は2に記載の冷媒循環システム。
【請求項6】
前記冷媒通路を第1冷媒通路とすると、前記冷媒循環システムは、前記第1冷媒通路に連通し、前記コンプレッサからの前記冷媒を当該第1冷媒通路へと流す第2冷媒通路を更に有し、
前記オイル含有率調整バルブは、前記第1冷媒通路、前記第2冷媒通路及び前記オイル通路に連通しており、それにより、当該オイル含有率調整バルブを制御することで、前記第2冷媒通路からの前記冷媒と前記オイル通路からの前記オイルとを混合する割合を変えて、前記第1冷媒通路から前記滑り軸受へと供給される前記冷媒中の前記オイルの含有率を調整可能となっている、
請求項5に記載の冷媒循環システム。
発明の詳細な説明
【技術分野】
【0001】
本発明は、オイルを含有する冷媒を循環する冷媒循環システムに関する。
続きを表示(約 2,400 文字)
【背景技術】
【0002】
従来から、エアコンなどで利用される冷凍サイクルにおいて、コンプレッサや熱交換器などを介して、冷媒を循環する冷媒循環システムが用いられている。この種の冷媒循環システムでは、一般的に、コンプレッサの潤滑やシールのためにオイル(冷凍機油)を含有する冷媒が用いられており、このオイルもシステム内を循環している。例えば、特許文献1には、システムの始動時に、コンプレッサから吐出されたオイルを含む冷媒を分離してオイルを取り出し、コンプレッサの吸入側にオイルのみを供給することで、コンプレッサを十分に潤滑させるようにした技術が開示されている。
【先行技術文献】
【特許文献】
【0003】
特開2006-170457号公報
【発明の概要】
【発明が解決しようとする課題】
【0004】
ところで、例えば車両の動力源(エンジンやモータ)などの回転軸を支持する軸受として、従来から転がり軸受や滑り軸受が用いられている。ここで、電気自動車などのモータに転がり軸受を適用すると、モータの回転軸が例えば30000rpmを超える高回転数で回転するので、転がり疲労により寿命が問題となる。他方で、オイルを潤滑剤として用いる一般的な滑り軸受をモータに適用すると、モータの回転軸によるオイル攪拌抵抗の損失が大きくなる。
【0005】
したがって、本件発明者は、モータを上記したような冷媒循環システムに適用し、このシステムで循環される冷媒、特にコンプレッサによる圧縮で液状になるCO
2
冷媒などを、潤滑剤として用いる滑り軸受を、モータの回転軸に適用することを考えた。それと共に、本件発明者は、モータの滑り軸受の潤滑性を確保するために、上記したようにオイルを含有する冷媒を用いることを考えた。
【0006】
ここで、回転軸が、その自重により、滑り軸受と接触することがあり得る。そのため、この接触を回避すべく、オイルを用いて滑り軸受の負荷能力を確保することが望ましい。しかしながら、冷媒中のオイルを多くし過ぎると、滑り軸受でのオイルによる潤滑抵抗(摩擦)が大きくなってしまう。
【0007】
本発明は、上述した従来技術の問題点を解決するためになされたものであり、オイルを含有する冷媒を循環し、この冷媒によってモータの滑り軸受を潤滑する冷媒循環システムにおいて、回転軸と滑り軸受との接触回避及び滑り軸受での潤滑抵抗の低下の両方を実現することを目的とする。
【課題を解決するための手段】
【0008】
上記の目的を達成するために、本発明は、CO
2
にオイルを含有させた冷媒を循環する冷媒循環システムであって、冷媒を圧縮するコンプレッサと、ロータ及びステータと、ロータに連結された回転軸と、コンプレッサにより圧縮された液状の冷媒を用いて潤滑を行い、回転軸を支持する滑り軸受と、を備えるモータと、冷媒をモータの滑り軸受へと供給する冷媒通路と、冷媒通路から滑り軸受に供給される冷媒中のオイルの含有率を調整するように構成されたオイル含有率調整バルブと、オイル含有率調整バルブを制御するように構成された制御装置と、を有し、冷媒通路は、滑り軸受の下部に冷媒を供給するように設けられた複数の冷媒通路を含み、この複数の冷媒通路は、滑り軸受における周方向における複数の位置に冷媒を供給するように構成され、オイル含有率調整バルブは、複数の冷媒通路から供給される冷媒中のオイルの含有率をそれぞれ調整するように複数設けられ、制御装置は、複数の冷媒通路の中で回転軸の回転方向において上流側に設けられた1つ以上の冷媒通路からのオイルの含有率が、当該1つ以上の冷媒通路以外の他の冷媒通路からのオイルの含有率よりも大きくなるように、複数のオイル含有率調整バルブのそれぞれを制御するように構成されている、ことを特徴とする。
【0009】
このように構成された本発明では、複数の冷媒通路のそれぞれから供給される冷媒中のオイルの含有率を変えることで、滑り軸受内の冷媒の粘度を局所的に高くすることができる、つまり負荷能力を局所的に高くすることができる。具体的には、滑り軸受の下部に設けられた複数の冷媒通路の中で上流側にある冷媒通路から高粘度の冷媒を回転方向に沿って流すことで、回転軸の下方における負荷能力を向上させることができる。これにより、回転軸が自重により滑り軸受に接触することを的確に回避することが可能となる。一方で、回転軸の下方以外の領域(つまり負荷能力が必要でない領域)では冷媒が低粘度になるので、滑り軸受でのオイルによる潤滑抵抗(摩擦)を低下させることができる。以上より、本発明によれば、回転軸と滑り軸受との接触回避、及び滑り軸受での潤滑抵抗の低下の両方を実現することができる。
なお、滑り軸受の「下部」とは、滑り軸受を上下方向に分割したときの下半分の部分を意味する。また、滑り軸受の「上部」とは、滑り軸受を上下方向に分割したときの上半分の部分を意味する
【0010】
本発明において、好ましくは、制御装置は、モータの動作中において、上記1つ以上の冷媒通路からのオイルの含有率が、他の冷媒通路からのオイルの含有率よりも大きくなるように、複数のオイル含有率調整バルブのそれぞれを制御するように構成されている。
このように構成された本発明によれば、モータの始動時や停止時ではなくモータが動作しているときに、回転軸と滑り軸受との接触回避、及び滑り軸受での潤滑抵抗の低下の両方を的確に実現することができる。
(【0011】以降は省略されています)
この特許をJ-PlatPat(特許庁公式サイト)で参照する
関連特許
マツダ株式会社
エンジン
1日前
マツダ株式会社
二次電池
21日前
マツダ株式会社
排気システム
2日前
マツダ株式会社
排気システム
2日前
マツダ株式会社
車両用駆動装置
29日前
マツダ株式会社
インバータ装置
1日前
マツダ株式会社
車両用駆動装置
29日前
マツダ株式会社
車両用駆動装置
29日前
マツダ株式会社
インバータ装置
1日前
マツダ株式会社
インバータ装置
1日前
マツダ株式会社
車両用駆動装置
29日前
マツダ株式会社
インバータ装置
1日前
マツダ株式会社
車両用駆動装置
29日前
マツダ株式会社
冷媒循環システム
23日前
マツダ株式会社
冷媒循環システム
23日前
マツダ株式会社
冷媒循環システム
23日前
マツダ株式会社
冷媒循環システム
23日前
マツダ株式会社
冷媒循環システム
23日前
マツダ株式会社
冷媒循環システム
23日前
マツダ株式会社
冷媒循環システム
23日前
マツダ株式会社
冷媒循環システム
23日前
マツダ株式会社
車両の下部車体構造
11日前
マツダ株式会社
モータ軸受システム
11日前
マツダ株式会社
車両の下部車体構造
11日前
マツダ株式会社
モータ軸受システム
11日前
マツダ株式会社
車両の下部車体構造
11日前
マツダ株式会社
車両の下部車体構造
7日前
マツダ株式会社
車両の下部車体構造
7日前
マツダ株式会社
車両の下部車体構造
7日前
マツダ株式会社
車両の下部車体構造
7日前
マツダ株式会社
エンジンの制御装置
1日前
マツダ株式会社
バッテリの制御装置
3日前
マツダ株式会社
車両の下部車体構造
3日前
マツダ株式会社
二次電池の制御装置
2日前
マツダ株式会社
被覆金属材の試験方法
1日前
マツダ株式会社
樹脂発泡体及びシート
22日前
続きを見る
他の特許を見る