TOP
|
特許
|
意匠
|
商標
特許ウォッチ
Twitter
他の特許を見る
10個以上の画像は省略されています。
公開番号
2025154130
公報種別
公開特許公報(A)
公開日
2025-10-10
出願番号
2024056965
出願日
2024-03-29
発明の名称
乾燥コンテナ
出願人
極東開発工業株式会社
代理人
弁理士法人ユニアス国際特許事務所
主分類
F26B
25/12 20060101AFI20251002BHJP(乾燥)
要約
【課題】 乾燥装置から、収容物を収容する部分を分離するための乾燥コンテナを提供する。
【解決手段】 乾燥コンテナは、貫通孔を有して下面が露出される底板と、底板に下部を覆われる筒状の側壁部と、内部空間を経由して貫通孔と通じ、内部を開放する開放口と、を備える。
【選択図】 図3
特許請求の範囲
【請求項1】
貫通孔を有し、下面が露出される底板と、
前記底板に下部を覆われる筒状の側壁部と、
内部空間を経由して前記貫通孔と通じ、内部を開放する開放口と、を備える、乾燥コンテナ。
続きを表示(約 610 文字)
【請求項2】
前記側壁部は、
内部の収容物を排出するための排出口を側部に有する側壁本体と、
前記排出口を開閉するために、上部が前記側壁本体に回転可能に接続される扉部と、を備える、請求項1に記載の乾燥コンテナ。
【請求項3】
前記扉部は、
上部が前記側壁本体に回転可能に接続される上扉部と、
上部が前記上扉部の下部に回転可能に接続される下扉部と、を備える、請求項2に記載の乾燥コンテナ。
【請求項4】
前記上扉部及び前記側壁本体は、前記排出口を閉じる位置で前記上扉部を保持するように互いに掛け止める状態と、当該掛け止めを解除する状態と、に切り替え可能な第1掛止部を備える、請求項3に記載の乾燥コンテナ。
【請求項5】
前記上扉部及び前記下扉部は、前記排出口を開く位置で前記下扉部を保持するように互いに掛け止める状態と、当該掛け止めを解除する状態と、に切り替え可能な第2掛止部を備える、請求項3又は4に記載の乾燥コンテナ。
【請求項6】
前記下扉部及び前記側壁本体は、前記排出口を閉じる位置で前記下扉部を保持するように互いに掛け止める状態と、当該掛け止めを解除する状態と、に切り替え可能な第3掛止部を備え、
前記下扉部の前記第2掛止部は、前記下扉部の前記第3掛止部を、兼ねる、請求項5に記載の乾燥コンテナ。
発明の詳細な説明
【技術分野】
【0001】
本明細書は、乾燥コンテナに関する。
続きを表示(約 1,500 文字)
【背景技術】
【0002】
従来、例えば、乾燥装置は、筐体の下部を構成するベース部と、筐体の上部を構成し、内部に収容物を収容するコンテナ部と、ベース部に接続され、気流を発生させる気流発生装置とを備えている(例えば、特許文献1)。特許文献1に係る乾燥装置においては、コンテナ部とベース部とは、一体となっており、分離不能である。ところで、乾燥装置のうち、収容物を収容する部分を分離させたいという要望がある。
【先行技術文献】
【特許文献】
【0003】
特公平4-70056号公報
【発明の概要】
【発明が解決しようとする課題】
【0004】
そこで、課題は、乾燥装置から、収容物を収容する部分を分離するための乾燥コンテナを提供することである。
【課題を解決するための手段】
【0005】
乾燥コンテナは、
貫通孔を有し、下面が露出される底板と、
前記底板に下部を覆われる筒状の側壁部と、
内部空間を経由して前記貫通孔と通じ、内部を開放する開放口と、を備える。
【図面の簡単な説明】
【0006】
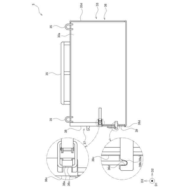
一実施形態に係る乾燥コンテナを有する乾燥装置の側面図
同実施形態に係る乾燥装置の要部斜視図
同実施形態に係る乾燥装置の要部分解斜視図
同実施形態に係る乾燥コンテナの斜視図
同実施形態に係る乾燥コンテナの正面図
同実施形態に係る乾燥コンテナの正面図であって、排出口の一部が開放された状態を示す図
同実施形態に係る乾燥コンテナの正面図であって、排出口の全部が開放されて内容物が排出されている状態を示す図
同実施形態に係る乾燥コンテナの正面図であって、排出口の一部が開放されて内容物が排出されている状態を示す図
他の実施形態に係る乾燥装置の側面図
さらに他の実施形態に係る乾燥装置の側面図
【発明を実施するための形態】
【0007】
各図面において、構成要素の寸法は、例えば、理解を容易にするために、実際の寸法に対して拡大、縮小して示す場合があり、また、各図面の間での寸法比は、一致していない場合がある。なお、各図面において、例えば、理解を容易にするために、構成要素の一部を省略して示す場合がある。
【0008】
第1、第2等の序数を含む用語は、多様な構成要素を説明するために用いられるが、この用語は、一つの構成要素を他の構成要素から区別する目的でのみ用いられ、構成要素は、この用語によって特に限定されるものではない。なお、序数を含む構成要素の個数は、特に限定されず、例えば、一つでもよい場合がある。また、以下の明細書及び図面で用いられる序数は、特許請求の範囲に記載された序数と異なる場合がある。
【0009】
以下、乾燥コンテナにおける一実施形態について、図1~図8を参照しながら説明する。なお、以下の実施形態は、乾燥コンテナの構成等の理解を助けるために例示するものであり、乾燥コンテナの構成を限定するものではない。
【0010】
また、以下の説明において、第1方向D1は、前後方向(「第1横方向」ともいう)D1といい、第1方向D1のうち、図における矢印方向を前方向といい、図における矢印方向と反対方向を後方向という。また、第2方向D2は、左右方向(「第2横方向」ともいう)D2といい、第2方向D2のうち、図における矢印方向を左方向といい、図における矢印方向と反対方向を右方向という。
(【0011】以降は省略されています)
この特許をJ-PlatPat(特許庁公式サイト)で参照する
関連特許
極東開発工業株式会社
タンク車
1日前
極東開発工業株式会社
鉄道車両
2日前
極東開発工業株式会社
鉄道車両
2日前
極東開発工業株式会社
鉄道車両
2日前
極東開発工業株式会社
鉄道車両
2日前
極東開発工業株式会社
コンテナ
8日前
極東開発工業株式会社
塵芥収集車
1か月前
極東開発工業株式会社
乾燥コンテナ
8日前
極東開発工業株式会社
給湯システム
8日前
極東開発工業株式会社
立体駐車装置
1か月前
極東開発工業株式会社
バイオマス燃焼システム
8日前
極東開発工業株式会社
バイオマス燃焼システム
8日前
極東開発工業株式会社
バイオマス燃焼システム
8日前
極東開発工業株式会社
バイオマス燃焼システム
8日前
極東開発工業株式会社
バイオマス燃焼システム
8日前
極東開発工業株式会社
コンテナ装置、コンテナ及びベース
8日前
極東開発工業株式会社
バイオマス燃焼システム及び燃料庫
8日前
個人
ハンディ傘乾燥丸め器
1か月前
株式会社サタケ
循環式穀物乾燥機
22日前
株式会社サタケ
粒状物の乾燥装置
8日前
株式会社チノー
乾燥システム
2か月前
株式会社ダイソー
乾熱減容処理装置
2か月前
株式会社カワタ
粉粒体処理装置
8日前
株式会社クレブ
ブーツ乾燥装置
8か月前
東レエンジニアリング株式会社
乾燥装置
2か月前
東レエンジニアリング株式会社
乾燥装置
9日前
東レ株式会社
塗膜付きシートの加熱装置
4か月前
エイ・エス・デイ株式会社
乾燥装置
2か月前
株式会社サタケ
穀物乾燥機
2か月前
株式会社ヨシカワ
乾燥装置
1か月前
大東電子株式会社
傘水滴除去装置
8か月前
クリーン・テクノロジー株式会社
乾燥装置
8か月前
クリーン・テクノロジー株式会社
乾燥装置
8か月前
クリーン・テクノロジー株式会社
乾燥装置
11か月前
高砂工業株式会社
凍結乾燥装置
6か月前
株式会社ワカミヤ商会
乾燥装置
4か月前
続きを見る
他の特許を見る