TOP
|
特許
|
意匠
|
商標
特許ウォッチ
Twitter
他の特許を見る
10個以上の画像は省略されています。
公開番号
2025157781
公報種別
公開特許公報(A)
公開日
2025-10-16
出願番号
2024060010
出願日
2024-04-03
発明の名称
鉄道車両
出願人
極東開発工業株式会社
代理人
弁理士法人ユニアス国際特許事務所
主分類
B61D
47/00 20060101AFI20251008BHJP(鉄道)
要約
【課題】荷台の床面上にスペースを広く確保できる鉄道車両を提供する。
【解決手段】鉄道車両は、荷台と、荷台の下に配置される複数の車輪と、荷台に取り付けられる荷受台昇降装置と、荷受台昇降装置を作動させる油圧駆動源と、を備え、荷受台昇降装置は、荷台に固定される昇降機構と、昇降機構によって荷台の床面と地上との間を昇降する荷受台と、昇降機構に連結され、荷受台を昇降させる油圧アクチュエータと、を備え、油圧駆動源は、作動油を前記油圧アクチュエータに供給する油圧ポンプを備え、油圧ポンプは、荷台の床板よりも下方で、且つ床板と上下方向で重なる位置に配置される。
【選択図】図7
特許請求の範囲
【請求項1】
荷台と、前記荷台の下に配置される複数の車輪と、前記荷台に取り付けられる荷受台昇降装置と、前記荷受台昇降装置を作動させる油圧駆動源と、を備え、
前記荷受台昇降装置は、前記荷台に固定される昇降機構と、前記昇降機構によって前記荷台の床面と地上との間を昇降する荷受台と、前記昇降機構に連結され、前記荷受台を昇降させる油圧アクチュエータと、を備え、
前記油圧駆動源は、作動油を前記油圧アクチュエータに供給する油圧ポンプを備え、
前記油圧ポンプは、前記荷台の床板よりも下方で、且つ前記床板と上下方向で重なる位置に配置される、鉄道車両。
続きを表示(約 320 文字)
【請求項2】
前記油圧ポンプは、前記車輪と前後方向で重ならない、請求項1に記載の鉄道車両。
【請求項3】
前記油圧ポンプは、最前方の前記車輪と最後方の前記車輪との間に配置される、請求項1又は2に記載の鉄道車両。
【請求項4】
前記荷台は、前記床板を下方から支持する台枠と、前記台枠に固定されたブラケットと、を備え、
前記油圧ポンプは、前記ブラケットに支持されている、請求項1又は2に記載の鉄道車両。
【請求項5】
前記ブラケットは、前記車輪よりも左右方向の中心側で、前記台枠から下方に延びた後、前記中心側へ向かって湾曲した断面J型の板部材である、請求項4に記載の鉄道車両。
発明の詳細な説明
【技術分野】
【0001】
本発明は、鉄道車両に関する。
続きを表示(約 1,900 文字)
【背景技術】
【0002】
特許文献1には、車両の側部に車椅子の出入装置を備える鉄道車両が記載されている。当該出入装置は、車両の床面と地面との間を昇降する積載部を備えている。
【0003】
当該出入装置においては、昇降機構(第1腕部と第2腕部)を電動で作動させることで、昇降機構に接続されている積載部を昇降させている。昇降機構の作動は、油圧アクチュエータを電気制御することで実施される。しかし、特許文献1では、油圧アクチュエータを駆動するための油圧駆動源について開示されておらず、油圧駆動源を配置する場所によっては、床面上のスペースが制限されてしまう。
【先行技術文献】
【特許文献】
【0004】
登録実用新案第3216922号公報
【発明の概要】
【発明が解決しようとする課題】
【0005】
そこで、課題は、荷台の床面上にスペースを広く確保できる鉄道車両を提供することである。
【課題を解決するための手段】
【0006】
本発明に係る鉄道車両は、荷台と、前記荷台の下に配置される複数の車輪と、前記荷台に取り付けられる荷受台昇降装置と、前記荷受台昇降装置を作動させる油圧駆動源と、を備え、
前記荷受台昇降装置は、前記荷台に固定される昇降機構と、前記昇降機構によって前記荷台の床面と地上との間を昇降する荷受台と、前記昇降機構に連結され、前記荷受台を昇降させる油圧アクチュエータと、を備え、
前記油圧駆動源は、作動油を前記油圧アクチュエータに供給する油圧ポンプを備え、
前記油圧ポンプは、前記荷台の床板よりも下方で、且つ前記床板と上下方向で重なる位置に配置される。
【図面の簡単な説明】
【0007】
一実施形態に係る鉄道車両の左側面図
同実施形態に係る鉄道車両の背面図
同実施形態に係る鉄道車両の平面図
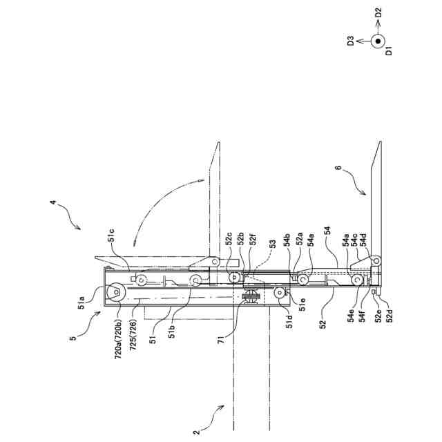
荷受台昇降装置の斜視図
荷受台昇降装置の昇降機構の断面図
荷受台昇降装置の側面の断面図
荷台の背面の断面図
荷受台昇降装置の荷台への取付構造を示す断面図
荷受台昇降装置の荷台への取付構造を説明するための分解図
荷受台昇降装置を取り付ける前の荷台の左側面図
荷受台昇降装置を取り付ける前の荷台の平面図
荷受台昇降装置を取り付けた後の荷台の左側面図
荷受台昇降装置の電気油圧回路
別実施形態に係る鉄道車両の荷受台昇降装置の側面図
別実施形態に係る鉄道車両の荷受台昇降装置の正面図
別実施形態に係る鉄道車両の荷受台昇降装置の側面図
別実施形態に係る鉄道車両の荷受台昇降装置の正面図
別実施形態に係る鉄道車両の荷受台昇降装置の側面図
別実施形態に係る鉄道車両の荷受台昇降装置の正面図
別実施形態に係る鉄道車両の荷受台昇降装置の側面図
別実施形態に係る鉄道車両の荷受台昇降装置の側面図
【発明を実施するための形態】
【0008】
各図面において、構成要素の寸法は、例えば、理解を容易にするために、実際の寸法に対して拡大、縮小して示す場合があり、また、各図面の間での寸法比は、一致していない場合がある。なお、各図面において、例えば、理解を容易にするために、構成要素の一部を省略して示す場合がある。
【0009】
第1、第2等の序数を含む用語は、多様な構成要素を説明するために用いられるが、この用語は、一つの構成要素を他の構成要素から区別する目的でのみ用いられ、構成要素は、この用語によって特に限定されるものではない。なお、序数を含む構成要素の個数は、特に限定されず、例えば、一つでもよい場合がある。また、以下の明細書及び図面で用いられる序数は、特許請求の範囲に記載された序数と異なる場合がある。
【0010】
また、以下の説明において、第1方向(第1横方向)D1は、前後方向D1ともいい、第1方向D1のうち、図における矢印方向を前方向とし、図における矢印方向と反対方向を後方向とする。また、第2方向(第2横方向)D2は、左右方向D2ともいい、第2方向D2のうち、図における矢印方向を左方向とし、図における矢印方向と反対方向を右方向とする。また、第3方向D3は、上下方向D3ともいい、第3方向D3のうち、各図における矢印方向を上方向とし、各図における矢印方向と反対方向を下方向とする。
(【0011】以降は省略されています)
この特許をJ-PlatPat(特許庁公式サイト)で参照する
関連特許
極東開発工業株式会社
タンク車
3日前
極東開発工業株式会社
鉄道車両
4日前
極東開発工業株式会社
鉄道車両
4日前
極東開発工業株式会社
鉄道車両
4日前
極東開発工業株式会社
鉄道車両
4日前
極東開発工業株式会社
バイオマス燃焼システム
10日前
日本信号株式会社
ホーム柵
1か月前
日本信号株式会社
ホーム柵
1か月前
近畿車輌株式会社
耐火床構造
21日前
日本車輌製造株式会社
鉄道車両
13日前
日本信号株式会社
列車接近警報装置
2か月前
ナブテスコ株式会社
ホームドア装置
2か月前
株式会社東芝
台車搬送装置
17日前
日本ケーブル株式会社
索道の支索引留め装置
2か月前
日本信号株式会社
ホームドア制御装置
3か月前
株式会社日立製作所
鉄道車両
25日前
日本車輌製造株式会社
車両用ヒップレスト
1か月前
日本信号株式会社
自動列車運転装置
2か月前
オークラ輸送機株式会社
無人搬送車
21日前
株式会社京三製作所
可動式ホーム柵
21日前
日本信号株式会社
ホーム柵及び駆動機構の調整方法
1か月前
株式会社京三製作所
運行管理システム
2か月前
日本信号株式会社
ホーム柵及びホーム柵の設置方法
25日前
株式会社京三製作所
運行管理システム
2か月前
日本製鉄株式会社
鉄道車両用の台車
13日前
日本製鉄株式会社
鉄道車両用の車軸
4日前
村田機械株式会社
走行車システム
11日前
日本製鉄株式会社
鉄道車両用の台車枠
5日前
日本信号株式会社
遮断機監視装置及び遮断機監視方法
3か月前
株式会社日立製作所
鉄道車両
3日前
株式会社デンソーウェーブ
停車位置検知システム
3か月前
トヨタ自動車株式会社
乗客支援装置
3日前
株式会社日立製作所
軌条車両
4か月前
株式会社日立製作所
軌条車両
4か月前
株式会社京三製作所
地上システム及び車上装置
1か月前
光永産業株式会社
軌条運搬台車、および軌条運搬装置
3か月前
続きを見る
他の特許を見る