TOP
|
特許
|
意匠
|
商標
特許ウォッチ
Twitter
他の特許を見る
10個以上の画像は省略されています。
公開番号
2025157793
公報種別
公開特許公報(A)
公開日
2025-10-16
出願番号
2024060031
出願日
2024-04-03
発明の名称
鉄道車両
出願人
極東開発工業株式会社
代理人
弁理士法人ユニアス国際特許事務所
主分類
B61D
47/00 20060101AFI20251008BHJP(鉄道)
要約
【課題】荷受台昇降機構を作動させるための外部電源を必要としない鉄道車両を提供する。
【解決手段】鉄道車両は、荷台と、荷台の下に固定される台車と、荷台に取り付けられる荷受台昇降装置と、荷受台昇降装置を作動させる油圧駆動源と、油圧駆動源を駆動するバッテリと、を備え、荷受台昇降装置は、荷台に固定される昇降機構と、昇降機構によって荷台の床面と地上との間を昇降する荷受台と、昇降機構に連結され、荷受台を昇降させる油圧アクチュエータと、を備え、油圧駆動源は、バッテリから供給される電力により駆動する電動モータと、電動モータにより駆動されて作動油を油圧アクチュエータに供給する油圧ポンプと、を備える。
【選択図】図7
特許請求の範囲
【請求項1】
荷台と、前記荷台の下に固定される台車と、前記荷台に取り付けられる荷受台昇降装置と、前記荷受台昇降装置を作動させる油圧駆動源と、前記油圧駆動源を駆動するバッテリと、を備え、
前記荷受台昇降装置は、前記荷台に固定される昇降機構と、前記昇降機構によって前記荷台の床面と地上との間を昇降する荷受台と、前記昇降機構に連結され、前記荷受台を昇降させる油圧アクチュエータと、を備え、
前記油圧駆動源は、前記バッテリから供給される電力により駆動する電動モータと、前記電動モータにより駆動されて作動油を前記油圧アクチュエータに供給する油圧ポンプと、を備える、鉄道車両。
続きを表示(約 430 文字)
【請求項2】
前記油圧駆動源は、前記作動油を蓄積するオイルタンクと、前記油圧ポンプによって前記オイルタンクから吸い込こまれた前記作動油を前記油圧アクチュエータに供給するメイン油路と、を備え、
前記荷受台昇降装置は、一端が前記オイルタンクに接続されて他端が前記メイン油路に接続されるバイパス油路と、前記バイパス油路に設けられるハンドポンプと、を備える、請求項1に記載の鉄道車両。
【請求項3】
前記昇降機構は、前記荷台の側縁部に固定される上下方向へ延びる筒状の一対の第1コラムと、前記荷受台が接続され、前記第1コラムに対して上下方向へ移動するスライダと、を備え、
前記ハンドポンプは、前記第1コラムの側面に固定される、請求項2に記載の鉄道車両。
【請求項4】
前記油圧ポンプは、前記荷台の床板よりも下方で、且つ前記床板と上下方向で重なる位置に配置される、請求項1~3の何れか1項に記載の鉄道車両。
発明の詳細な説明
【技術分野】
【0001】
本発明は、鉄道車両に関する。
続きを表示(約 1,900 文字)
【背景技術】
【0002】
特許文献1には、車両の側部に車椅子の出入装置を備える鉄道車両が記載されている。当該出入装置は、車両の床面と地面との間を昇降する積載部を備えている。
【0003】
当該出入装置においては、昇降機構(第1腕部と第2腕部)を電動で作動させることで、昇降機構に接続されている積載部を昇降させている。昇降機構の作動は、油圧アクチュエータを電気制御することで実施される。しかし、特許文献1の鉄道車両は、牽引車で牽引されるため、電源を備えておらず、油圧アクチュエータを電気制御するためには外部電源を別途準備する必要がある。
【先行技術文献】
【特許文献】
【0004】
登録実用新案第3216922号公報
【発明の概要】
【発明が解決しようとする課題】
【0005】
そこで、課題は、荷受台昇降機構を作動させるための外部電源を必要としない鉄道車両を提供することである。
【課題を解決するための手段】
【0006】
本発明に係る鉄道車両は、荷台と、前記荷台の下に固定される台車と、前記荷台に取り付けられる荷受台昇降装置と、前記荷受台昇降装置を作動させる油圧駆動源と、前記油圧駆動源を駆動するバッテリと、を備え、
前記荷受台昇降装置は、前記荷台に固定される昇降機構と、前記昇降機構によって前記荷台の床面と地上との間を昇降する荷受台と、前記昇降機構に連結され、前記荷受台を昇降させる油圧アクチュエータと、を備え、
前記油圧駆動源は、前記バッテリから供給される電力により駆動する電動モータと、前記電動モータにより駆動されて作動油を前記油圧アクチュエータに供給する油圧ポンプと、を備える。
【図面の簡単な説明】
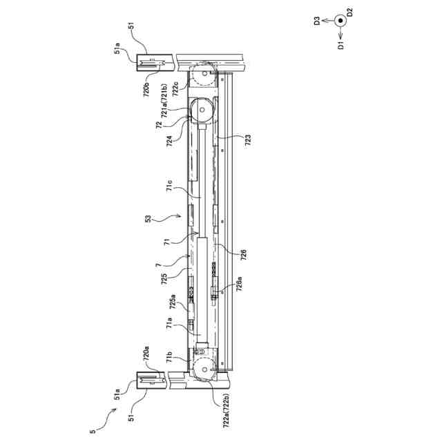
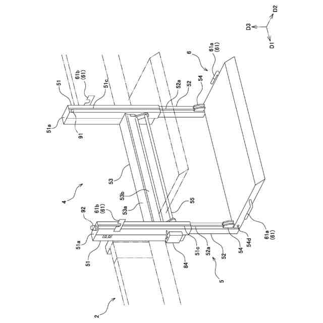
【0007】
一実施形態に係る鉄道車両の左側面図
同実施形態に係る鉄道車両の背面図
同実施形態に係る鉄道車両の平面図
荷受台昇降装置の斜視図
荷受台昇降装置の昇降機構の断面図
荷受台昇降装置の側面の断面図
荷台の背面の断面図
荷受台昇降装置の荷台への取付構造を示す断面図
荷受台昇降装置の荷台への取付構造を説明するための分解図
荷受台昇降装置を取り付ける前の荷台の左側面図
荷受台昇降装置を取り付ける前の荷台の平面図
荷受台昇降装置を取り付けた後の荷台の左側面図
荷受台昇降装置の電気油圧回路
別実施形態に係る鉄道車両の荷受台昇降装置の側面図
別実施形態に係る鉄道車両の荷受台昇降装置の正面図
別実施形態に係る鉄道車両の荷受台昇降装置の側面図
別実施形態に係る鉄道車両の荷受台昇降装置の正面図
別実施形態に係る鉄道車両の荷受台昇降装置の側面図
別実施形態に係る鉄道車両の荷受台昇降装置の正面図
別実施形態に係る鉄道車両の荷受台昇降装置の側面図
別実施形態に係る鉄道車両の荷受台昇降装置の側面図
【発明を実施するための形態】
【0008】
各図面において、構成要素の寸法は、例えば、理解を容易にするために、実際の寸法に対して拡大、縮小して示す場合があり、また、各図面の間での寸法比は、一致していない場合がある。なお、各図面において、例えば、理解を容易にするために、構成要素の一部を省略して示す場合がある。
【0009】
第1、第2等の序数を含む用語は、多様な構成要素を説明するために用いられるが、この用語は、一つの構成要素を他の構成要素から区別する目的でのみ用いられ、構成要素は、この用語によって特に限定されるものではない。なお、序数を含む構成要素の個数は、特に限定されず、例えば、一つでもよい場合がある。また、以下の明細書及び図面で用いられる序数は、特許請求の範囲に記載された序数と異なる場合がある。
【0010】
また、以下の説明において、第1方向(第1横方向)D1は、前後方向D1ともいい、第1方向D1のうち、図における矢印方向を前方向とし、図における矢印方向と反対方向を後方向とする。また、第2方向(第2横方向)D2は、左右方向D2ともいい、第2方向D2のうち、図における矢印方向を左方向とし、図における矢印方向と反対方向を右方向とする。また、第3方向D3は、上下方向D3ともいい、第3方向D3のうち、各図における矢印方向を上方向とし、各図における矢印方向と反対方向を下方向とする。
(【0011】以降は省略されています)
この特許をJ-PlatPat(特許庁公式サイト)で参照する
関連特許
極東開発工業株式会社
タンク車
3日前
極東開発工業株式会社
鉄道車両
4日前
極東開発工業株式会社
鉄道車両
4日前
極東開発工業株式会社
鉄道車両
4日前
極東開発工業株式会社
鉄道車両
4日前
極東開発工業株式会社
コンテナ
10日前
極東開発工業株式会社
給湯システム
10日前
極東開発工業株式会社
乾燥コンテナ
10日前
極東開発工業株式会社
バイオマス燃焼システム
10日前
極東開発工業株式会社
バイオマス燃焼システム
10日前
極東開発工業株式会社
バイオマス燃焼システム
10日前
極東開発工業株式会社
バイオマス燃焼システム
10日前
極東開発工業株式会社
バイオマス燃焼システム
10日前
極東開発工業株式会社
バイオマス燃焼システム及び燃料庫
10日前
日本信号株式会社
ホーム柵
1か月前
日本信号株式会社
ホーム柵
1か月前
日本信号株式会社
検査装置
9か月前
個人
車両及び走行システム
5か月前
近畿車輌株式会社
耐火床構造
21日前
日本信号株式会社
ホーム柵装置
6か月前
日本車輌製造株式会社
鉄道車両
13日前
日本信号株式会社
列車接近警報装置
2か月前
カヤバ株式会社
鉄道車両用制振装置
10か月前
川崎車両株式会社
鉄道車両用パネル
8か月前
保線機器整備株式会社
保線用カート
8か月前
ナブテスコ株式会社
ホームドア装置
2か月前
近畿車輌株式会社
鉄道車両の床構造
10か月前
近畿車輌株式会社
鉄道車両の床構造
10か月前
近畿車輌株式会社
鉄道車両の床構造
10か月前
日本車輌製造株式会社
台車組立装置
4か月前
日本信号株式会社
物体検知装置
6か月前
株式会社ダイフク
搬送車
5か月前
日本信号株式会社
ホームドア制御装置
3か月前
株式会社東芝
台車搬送装置
17日前
日本ケーブル株式会社
索道の支索引留め装置
2か月前
日本信号株式会社
ホーム安全システム
6か月前
続きを見る
他の特許を見る