TOP
|
特許
|
意匠
|
商標
特許ウォッチ
Twitter
他の特許を見る
10個以上の画像は省略されています。
公開番号
2025148910
公報種別
公開特許公報(A)
公開日
2025-10-08
出願番号
2024049261
出願日
2024-03-26
発明の名称
ベッド構造、及びベッド構造の製造方法
出願人
ダイキン工業株式会社
代理人
弁理士法人新樹グローバル・アイピー
主分類
F25B
21/00 20060101AFI20251001BHJP(冷凍または冷却;加熱と冷凍との組み合わせシステム;ヒートポンプシステム;氷の製造または貯蔵;気体の液化または固体化)
要約
【課題】メッシュ体を省略することが可能なベッド構造及びベッド構造の製造方法を提供する。
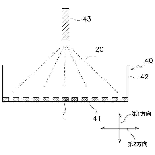
【解決手段】ベッド構造(10)は、流体が第1方向に通過する磁気冷凍システムに用いられるベッド構造である。第1方向及び第1方向と交差する第2方向には、磁気熱量効果を有する粒子が複数配置される。複数の粒子の間に、流体が通過する流路(30)が形成されるように、複数の粒子が互いに接着剤で接着されている。第1方向における粒子の密度は、第2方向における粒子の密度よりも大きい。
【選択図】図1
特許請求の範囲
【請求項1】
流体が第1方向に通過する磁気冷凍システム(100)に用いられるベッド構造であって、
前記第1方向及び前記第1方向と交差する第2方向には、磁気熱量効果を有する粒子(1)が複数配置され、
複数の前記粒子の間に、流体が通過する流路(30)が形成されるように、複数の前記粒子が互いに接着剤(20)で接着されており、
前記第1方向における前記粒子の密度は、前記第2方向における前記粒子の密度よりも大きい、ベッド構造(10)。
続きを表示(約 1,000 文字)
【請求項2】
複数の前記粒子は、同じ相転移温度を有する、
請求項1に記載のベッド構造。
【請求項3】
複数の前記粒子は、複数の相転移温度を有する、
請求項1に記載のベッド構造。
【請求項4】
複数の前記粒子は、
前記第1方向において複数の相転移温度を有するとともに、
前記第2方向において同じ相転移温度を有する、
請求項3に記載のベッド構造。
【請求項5】
複数の前記粒子の最大直径は、50μm以上250μm以下である、
請求項1~4のいずれか1項に記載のベッド構造。
【請求項6】
平均空隙率は、40%以上である、
請求項1~4のいずれか1項に記載のベッド構造。
【請求項7】
磁気冷凍システム(100)に用いられるベッド構造(10)の製造方法であって、
磁気熱量効果を有する複数の第1粒子(1)と、接着剤(20)とを含む、第1膜(F11)を形成する工程(S2)と、
前記第1膜を押して、前記第1膜の厚みを薄くする工程(S3)と、
前記薄くした第1膜上に、磁気熱量効果を有する複数の第2粒子(2)と、接着剤(20)とを含む、第2膜(F12)を形成する工程(S4)と、
を備える、ベッド構造の製造方法。
【請求項8】
前記第1膜を形成する工程は、
複数の前記第1粒子を配置する工程(S22)と、
複数の第1粒子間に、接着剤を配置する工程(S23)と、
を含む、
請求項7に記載のベッド構造の製造方法。
【請求項9】
前記第1膜を形成する工程は、
複数の前記第1粒子を配置する工程(S22)と、
複数の前記第1粒子間に、接着剤を配置する工程(S23)と、
前記接着剤を配置する工程後に、複数の前記第1粒子の上に、磁気熱量効果を有する複数の第3粒子(7)を配置する工程(S25)と、
を含む、
請求項7に記載のベッド構造の製造方法。
【請求項10】
前記薄くした第1膜の厚みは、前記第1粒子の最大厚みの2倍以下である、
請求項7または8に記載のベッド構造の製造方法。
(【請求項11】以降は省略されています)
発明の詳細な説明
【技術分野】
【0001】
ベッド構造、及びベッド構造の製造方法に関する。
続きを表示(約 1,200 文字)
【背景技術】
【0002】
従来、環境に配慮した冷凍技術として、能動的磁気冷凍(AMR:Active Magnetic Regenerator)方式の磁気冷凍システムが知られている。AMR方式の磁気冷凍システムは、特許文献1(特開2020-46085号公報)に開示されているように、複数の枠体と、複数のメッシュ体と、を含む、ベッド構造を備えている。複数の枠体は、それぞれが磁気作業物質を収容して互いに重ねられる。複数のメッシュ体は、複数の枠体の間に設けられ、磁気作業物質に面する。
【発明の概要】
【発明が解決しようとする課題】
【0003】
しかしながら、特許文献1に開示の技術では、1つの枠体が収容する磁気作業物質は、他の枠体が収容する磁気作業物質と種類が異なる。このため、複数の種類の磁気作業物質を用いるベッド構造では、種類に対応したメッシュ体が必要になる。
【課題を解決するための手段】
【0004】
第1観点に係るベッド構造は、流体が第1方向に通過する磁気冷凍システムに用いられるベッド構造である。第1方向及び第1方向と交差する第2方向には、磁気熱量効果を有する粒子が複数配置される。複数の粒子の間に、流体が通過する流路が形成されるように、複数の粒子が互いに接着剤で接着されている。第1方向における粒子の密度は、第2方向における粒子の密度よりも大きい。
【0005】
第2方向に配置された複数の粒子が第1方向に押されることによって、厚みを薄くした膜を備えることで、第1方向における粒子の密度が第2方向における粒子の密度よりも大きい第1観点のベッド構造を実現できる。このため、第1観点のベッド構造では、流路に流体が通過しても、第1方向に粒子が移動することを抑制できる。したがって、第1観点のベッド構造は、粒子が第1方向に移動することを抑制するメッシュ体を省略することが可能である。
【0006】
第2観点に係るベッド構造は、第1観点に係るベッド構造であって、複数の粒子は、同じ相転移温度を有する。
【0007】
第2観点のベッド構造のように、同じ相転移温度を有する、複数の粒子を備えてもよい。
【0008】
第3観点に係るベッド構造は、第1観点に係るベッド構造であって、複数の粒子は、複数の相転移温度を有する。
【0009】
第3観点のベッド構造のように、複数の相転移温度を有する、複数の粒子を備えてもよい。
【0010】
第4観点に係るベッド構造は、第3観点に係るベッド構造であって、複数の粒子は、第1方向において複数の相転移温度を有するとともに、第2方向において同じ相転移温度を有する。
(【0011】以降は省略されています)
この特許をJ-PlatPat(特許庁公式サイト)で参照する
関連特許
タニコー株式会社
貯水槽
1か月前
アクア株式会社
冷蔵庫
1か月前
個人
ヒートポンプ型空気調和機
21日前
ホシザキ株式会社
製氷機
15日前
富士電機株式会社
冷却装置
14日前
富士ベンダーサービス株式会社
保管庫
23日前
富士電機株式会社
冷却システム
1か月前
フクシマガリレイ株式会社
ショーケース
2日前
三菱重工冷熱株式会社
低温冷水供給装置
21日前
アクア株式会社
冷蔵庫
8日前
ホシザキ株式会社
液体凍結装置
1か月前
シャープ株式会社
冷蔵庫
21日前
シャープ株式会社
冷蔵庫
29日前
島田工業株式会社
製氷装置及び製氷方法
8日前
株式会社アイシン
冷暖房システム
7日前
株式会社富士通ゼネラル
冷凍サイクル装置
1日前
株式会社富士通ゼネラル
冷凍サイクル装置
1日前
タキゲン製造株式会社
冷蔵庫の庫内気圧調整装置
1か月前
株式会社オカムラ
故障予知システム
15日前
三菱重工冷熱株式会社
冷却装置
1か月前
三菱重工冷熱株式会社
冷却装置
23日前
富士電機株式会社
店舗用冷却装置制御システム
15日前
ホシザキ株式会社
冷却貯蔵庫
9日前
ダイキン工業株式会社
冷凍装置
15日前
ホシザキ株式会社
冷却貯蔵庫
29日前
ダイキン工業株式会社
冷凍装置
3日前
アイスマン株式会社
造雪装置及び製氷装置
29日前
JFEエンジニアリング株式会社
二酸化炭素液化システム
1か月前
浙江動一新能源動力科技股フン有限公司
温度制御貯蔵装置
1か月前
東芝ライフスタイル株式会社
冷蔵庫
14日前
東芝ライフスタイル株式会社
冷蔵庫
14日前
大学共同利用機関法人自然科学研究機構
磁気ヒートポンプ
1か月前
東芝ライフスタイル株式会社
冷蔵庫
14日前
三菱重工サーマルシステムズ株式会社
蒸発器
3日前
ダイキン工業株式会社
固体冷凍装置
7日前
ダイキン工業株式会社
空気調和装置
7日前
続きを見る
他の特許を見る