TOP
|
特許
|
意匠
|
商標
特許ウォッチ
Twitter
他の特許を見る
公開番号
2025154931
公報種別
公開特許公報(A)
公開日
2025-10-10
出願番号
2024058234
出願日
2024-03-29
発明の名称
熱電ウェハ
出願人
リンテック株式会社
代理人
弁理士法人大谷特許事務所
主分類
H10N
10/857 20230101AFI20251002BHJP()
要約
【課題】中央領域の平面への接面が容易で、応力による破損が抑制された熱電ウェハを提供する。
【解決手段】熱電半導体材料を含む熱電素子層からなる熱電ウェハであって、該熱電ウェハは、端部領域と該端部領域に囲まれる中央領域とを備え、前記端部領域の厚さが前記中央領域の厚さより薄い、熱電ウェハ。
【選択図】図1
特許請求の範囲
【請求項1】
熱電半導体材料を含む熱電素子層からなる熱電ウェハであって、該熱電ウェハは、端部領域と該端部領域に囲まれる中央領域とを備え、前記端部領域の厚さが前記中央領域の厚さより薄い、熱電ウェハ。
続きを表示(約 160 文字)
【請求項2】
前記熱電ウェハの最大フェレ径に対する、前記熱電ウェハの前記端部領域の幅の最小値の比が、0.005以上である、請求項1に記載の熱電ウェハ。
【請求項3】
前記中央領域の外周端の厚さの最小値に対する、前記端部領域の厚さの比が、0.20以上1.00未満である、請求項1に記載の熱電ウェハ。
発明の詳細な説明
【技術分野】
【0001】
本発明は、熱電ウェハに関する。
続きを表示(約 2,300 文字)
【背景技術】
【0002】
従来から、エネルギーの有効利用手段の一つとして、ゼーベック効果やペルチェ効果などの熱電効果を有する熱電変換モジュールにより、熱エネルギーと電気エネルギーとを直接相互変換するようにした装置がある。
熱電変換モジュールとして、例えば、いわゆるπ型の熱電変換素子の構成が知られている。π型の熱電変換素子は、互いに離間する一対の電極を基板上に設け、例えば、―方の電極の上にP型熱電素子層を、他方の電極の上にN型熱電素子層を、同じく互いに離間して設け、両方の熱電素子層の上面を対向する基板の共通電極に接続することで構成されている。
このような中、近年、熱電性能、量産性の向上の観点から、薄膜のP型熱電素子層やN型熱電素子層をウェハ化し、熱電変換モジュールを大量生産することがある。
例えば、熱電ウェハの製造工程において、熱電ウェハに対し複数のプロセス処理をする場合、熱電ウェハの外周端部に欠けや損傷等の不具合が発生し、後工程でそれらが進行し、最終的には歩留まり低下等につながることがある。
特許文献1では、例えば、半導体装置の製造方法において、半導体基板をエッチングした際、ウェハ外周部が欠けてしまうという不具合を抑制する目的で、端部の裏面側が平面形状を有すると共に端部の表面側が傾斜面を有するウェハが開示されている。
【先行技術文献】
【特許文献】
【0003】
特開2002-118298号公報
【発明の概要】
【発明が解決しようとする課題】
【0004】
特許文献1は、そもそも、ウェハのエッジ及び裏面側にエッチングガスが回り込むことを抑制できるように設計された発明である。
一方、このウェハの端部(エッジ)は、上述したように、ウェハ裏面側が平面形状を成しており、ウェハ表面側が傾斜面を有しており、ウェハのエッジは尖った形状となっているが、エッジの尖り具合は、ウェハが割れない程度とすることが好ましい、と開示されている。
しかしながら、製造工程において、プロセス処理装置内の熱電ウェハ設置用平面への、熱電ウェハの中央領域の接面性や、熱電ウェハを複数のプロセスで処理する際のハンドリングやプロセス処理装置由来の応力による破損等については十分に検討されていない。ましてや、熱電ウェハは、特許文献1のように、シリコン基板等のリジッドな支持基板を有するものでもなく、破損し易いものである。
【0005】
本発明は、上記を鑑み、中央領域の平面への接面が容易で、応力による破損が抑制された熱電ウェハを提供することを課題とする。
【課題を解決するための手段】
【0006】
本発明者らは、上記課題を解決すべく鋭意検討を重ねた結果、熱電ウェハの端部領域の厚さを該端部領域に囲まれる中央領域の厚さより薄くすることにより、熱電ウェハの中央領域の平面への接面が容易で、応力による破損が抑制できることを見出し、本発明を完成した。
すなわち、本発明は、以下の[1]~[3]を提供するものである。
[1]熱電半導体材料を含む熱電素子層からなる熱電ウェハであって、該熱電ウェハは、端部領域と該端部領域に囲まれる中央領域とを備え、前記端部領域の厚さが前記中央領域の厚さより薄い、熱電ウェハ。
[2]前記熱電ウェハの最大フェレ径に対する、前記熱電ウェハの前記端部領域の幅の最小値の比が、0.005以上である、上記[1]に記載の熱電ウェハ。
[3]前記中央領域の外周端の厚さの最小値に対する、前記端部領域の厚さの比が、0.20以上1.00未満である、上記[1]又は[2]に記載の熱電ウェハ。
【発明の効果】
【0007】
本発明によれば、中央領域の平面への接面が容易で、応力による破損が抑制された熱電ウェハを提供することができる。
【図面の簡単な説明】
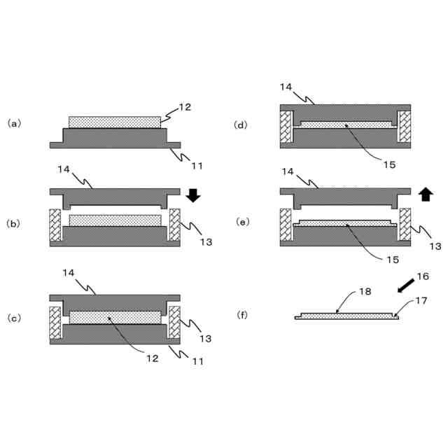
【0008】
本発明の熱電ウェハの実施態様を示す説明図である。
本発明の熱電ウェハの製造方法に従った工程の実施態様を工程順に示す説明図である。
従来及び本発明の熱電ウェハの製造方法の違いを説明するための工程に沿った断面構成図である。
【発明を実施するための形態】
【0009】
〔熱電ウェハ〕
本発明の熱電ウェハは、熱電半導体材料を含む熱電素子層からなる熱電ウェハであって、該熱電ウェハは、端部領域と該端部領域に囲まれる中央領域とを備え、前記端部領域の厚さが前記中央領域の厚さより薄いことを特徴としている。
本発明において、熱電ウェハの端部領域の厚さを該端部領域に囲まれる中央領域の厚さより薄くすることにより、例えば、製造工程において、プロセス処理装置内の熱電ウェハ設置用平面への、熱電ウェハの中央領域の接面性や、熱電ウェハを複数のプロセスで処理する際のハンドリングやプロセス処理装置由来の応力による破損等を抑制できる。
【0010】
本明細書において、熱電半導体組成物からなる乾燥前の膜を、単に「組成物膜」、乾燥後の膜を、単に「塗布膜」ということがある。また、加熱加圧処理後に圧縮され得られた膜を、単に「熱電ウェハ前駆体」ということがある。さらに、熱電ウェハ前駆体を焼成後に得られた膜を、単に「熱電素子層」、又は「熱電ウェハ」ということがある。さらにまた、熱電ウェハを個片化し得られたチップを、単に「熱電チップ」又は「チップ」ということがある。
(【0011】以降は省略されています)
この特許をJ-PlatPat(特許庁公式サイト)で参照する
関連特許
リンテック株式会社
表示体
3日前
リンテック株式会社
塗工装置
3日前
リンテック株式会社
粘着ラベル
4日前
リンテック株式会社
熱電ウェハ
3日前
リンテック株式会社
化粧シート
3日前
リンテック株式会社
粘着ラベル
3日前
リンテック株式会社
粘着ラベル
3日前
リンテック株式会社
耐水性基材
3日前
リンテック株式会社
配線シート
3日前
リンテック株式会社
配線シート
3日前
リンテック株式会社
熱電変換モジュール
3日前
リンテック株式会社
熱電変換モジュール
3日前
リンテック株式会社
ウィンドウフィルム
3日前
リンテック株式会社
ハードコートフィルム
3日前
リンテック株式会社
積層体及び配線シート
3日前
リンテック株式会社
粘着剤および粘着シート
3日前
リンテック株式会社
熱電変換モジュールの製造方法
3日前
リンテック株式会社
粘着シート、積層体およびデバイス
3日前
リンテック株式会社
ハードコートフィルム、光学ディスプレイ
3日前
リンテック株式会社
フィルム状接着剤、及び光学用積層体の製造方法
4日前
リンテック株式会社
保護膜形成用複合シート及び半導体装置の製造方法
3日前
リンテック株式会社
保護膜形成用複合シート及び半導体装置の製造方法
3日前
リンテック株式会社
保護膜形成フィルム、及び、保護膜付きチップの製造方法
4日前
リンテック株式会社
コーティング層の除去装置及びコーティング層の除去方法
3日前
リンテック株式会社
粘着シート、フレキシブル部材積層体およびフレキシブルデバイス
3日前
リンテック株式会社
光活性化粘着剤組成物、粘着シート、ロール体、及び粘着シートの使用方法
3日前
リンテック株式会社
保護膜形成用フィルム、保護膜形成用複合シート、及び半導体装置の製造方法
3日前
リンテック株式会社
熱硬化性組成物、半導体素子固定用組成物、並びに熱及び電気伝導性膜形成用組成物
3日前
リンテック株式会社
熱硬化性組成物、半導体素子固定用組成物、並びに熱及び電気伝導性膜形成用組成物
3日前
リンテック株式会社
保護膜形成フィルム、保護膜形成用複合シート、及び、保護膜付きチップの製造方法
4日前
リンテック株式会社
フィルム状焼成材料、支持シート付フィルム状焼成材料、及び、半導体装置の製造方法
3日前
リンテック株式会社
フィルム状焼成材料、支持シート付フィルム状焼成材料、及び、半導体装置の製造方法
3日前
リンテック株式会社
保護膜形成用フィルム、保護膜形成用複合シート、半導体装置の製造方法、及び半導体装置
3日前
個人
半導体装置
5日前
東レ株式会社
太陽電池モジュール
5日前
エイブリック株式会社
半導体装置
11日前
続きを見る
他の特許を見る