TOP
|
特許
|
意匠
|
商標
特許ウォッチ
Twitter
他の特許を見る
公開番号
2025154394
公報種別
公開特許公報(A)
公開日
2025-10-10
出願番号
2024057367
出願日
2024-03-29
発明の名称
配線シート
出願人
リンテック株式会社
代理人
弁理士法人樹之下知的財産事務所
主分類
H05B
3/12 20060101AFI20251002BHJP(他に分類されない電気技術)
要約
【課題】配線シートの平面内での温度ムラを抑制でき、かつ曲面貼合性に優れている配線シートを提供すること。
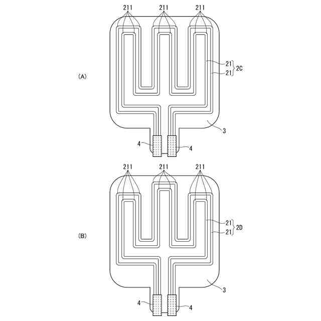
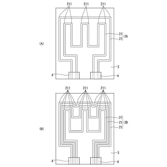
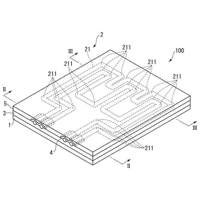
【解決手段】平面視において、少なくとも1つの折れ曲がり部211を有するパターンが形成されている導電性線状体21を備える配線体2と、導電性線状体21に直接的に接触する一対の電極4と、配線体2を直接的又は間接的に支持する第一樹脂層3と、を備え、配線体2は、2本以上の前記導電性線状体21を備え、平面視において、導電性線状体21の内側に、導電性線状体21が間隔をもって配置されており、導電性線状体21の本数をNとし、外側から数えてx本目の導電性線状体21の抵抗値をr
x
とした場合に、下記数式(F1)で示す条件を満たす、配線シート100。
r
1
<r
N
・・・(F1)
【選択図】図1
特許請求の範囲
【請求項1】
平面視において、少なくとも1つの折れ曲がり部を有するパターンが形成されている導電性線状体を備える配線体と、
前記導電性線状体に直接的に接触する一対の電極と、
前記配線体を直接的又は間接的に支持する第一樹脂層と、
を備え、
前記配線体は、2本以上の前記導電性線状体を備え、平面視において、前記導電性線状体の内側に、前記導電性線状体が間隔をもって配置されており、
前記導電性線状体の本数をNとし、外側から数えてx本目の導電性線状体の抵抗値をr
x
とした場合に、下記数式(F1)で示す条件を満たす、
配線シート。
r
1
<r
N
・・・(F1)
続きを表示(約 700 文字)
【請求項2】
請求項1に記載の配線シートにおいて、
さらに、前記配線体を直接的又は間接的に支持する基材と、
被着体と前記配線シートとの間に設けられた第二樹脂層とを備え、
前記配線シートの厚さ方向にて、前記基材、前記第一樹脂層、前記配線体、前記電極、及び前記第二樹脂層の順で設けられている、
配線シート。
【請求項3】
請求項1又は請求項2に記載の配線シートにおいて、
さらに、下記数式(F2)で示す条件を満たす、
配線シート。
1.02≦r
N
/r
1
≦2.00 ・・・(F2)
【請求項4】
請求項1又は請求項2に記載の配線シートにおいて、
外側から数えてn本目の導電性線状体の抵抗値をr
n
、外側から数えて(n+1)本目の導電性線状体の抵抗値をr
n+1
とした場合に、下記数式(F3)で示す条件を満たす、
配線シート。
r
n
≦r
n+1
・・・(F3)
【請求項5】
請求項1又は請求項2に記載の配線シートにおいて、
前記第一樹脂層の厚さが、5μm以上、100μm以下である、
配線シート。
【請求項6】
請求項1又は請求項2に記載の配線シートにおいて、
前記第一樹脂層の23℃における貯蔵弾性率は、1.0×10
4
Pa以上、5.0×10
6
Pa以下である、
配線シート。
発明の詳細な説明
【技術分野】
【0001】
本発明は、配線シートに関する。
続きを表示(約 1,600 文字)
【背景技術】
【0002】
面状ヒータの用途に用いることができる配線シートとして、例えば、特許文献1には、複数の導電性線状体が間隔をもって配列された疑似シート構造体と、一対の電極と、これらの電極にそれぞれ設けられた第一給電部及び第二給電部とを備える配線シートが記載されている。この配線シートでは、第一給電部及び第二給電部から離れた場所に位置する導電性線状体ほど、抵抗値が低くなるように、設計されている。
【先行技術文献】
【特許文献】
【0003】
国際公開第2021/187361号
【発明の概要】
【発明が解決しようとする課題】
【0004】
特許文献1に記載の配線シートによれば、配線シートの平面内での温度ムラを抑制できる。しかしながら、特許文献1に記載の配線シートは、電極を対向位置に配置する必要が
ある。このような場合、電極の面積を大きくする必要があり、配線シートが平面の場合は問題ないが、配線シートを曲面に貼合した場合には、気泡、しわ、又はうねりの原因となりやすい。すなわち、電極の面積を小さくできれば、気泡、しわの抜けが良く、曲面貼合性に優れている配線シートが得られる。
【0005】
本発明の目的は、配線シートの平面内での温度ムラを抑制でき、かつ曲面貼合性に優れている配線シートを提供することである。
【課題を解決するための手段】
【0006】
[1] 平面視において、少なくとも1つの折れ曲がり部を有するパターンが形成されている導電性線状体を備える配線体と、
前記導電性線状体に直接的に接触する一対の電極と、
前記配線体を直接的又は間接的に支持する第一樹脂層と、
を備え、
前記配線体は、2本以上の前記導電性線状体を備え、平面視において、前記導電性線状体の内側に、前記導電性線状体が間隔をもって配置されており、
前記導電性線状体の本数をNとし、外側から数えてx本目の導電性線状体の抵抗値をr
x
とした場合に、下記数式(F1)で示す条件を満たす、
配線シート。
r
1
<r
N
・・・(F1)
【0007】
[2] [1]に記載の配線シートにおいて、
さらに、前記配線体を直接的又は間接的に支持する基材と、
被着体と前記配線シートとの間に設けられた第二樹脂層とを備え、
前記配線シートの厚さ方向にて、前記基材、前記第一樹脂層、前記配線体、前記電極、及び前記第二樹脂層の順で設けられている、
配線シート。
【0008】
[3] [1]又は[2]に記載の配線シートにおいて、
さらに、下記数式(F2)で示す条件を満たす、
配線シート。
1.02≦r
N
/r
1
≦2.00 ・・・(F2)
【0009】
[4] [1]から[3]のいずれかに記載の配線シートにおいて、
外側から数えてn本目の導電性線状体の抵抗値をr
n
、外側から数えて(n+1)本目の導電性線状体の抵抗値をr
n+1
とした場合に、下記数式(F3)で示す条件を満たす、
配線シート。
r
n
≦r
n+1
・・・(F3)
【0010】
[5] [1]から[4]のいずれかに記載の配線シートにおいて、
前記第一樹脂層の厚さが、5μm以上、100μm以下である、
配線シート。
(【0011】以降は省略されています)
この特許をJ-PlatPat(特許庁公式サイト)で参照する
関連特許
株式会社コロナ
電気機器
3か月前
個人
電子部品の実装方法
12日前
日本精機株式会社
回路基板
1か月前
愛知電機株式会社
装柱金具
4日前
個人
非衝突型ガウス加速器
1か月前
株式会社遠藤照明
照明装置
3か月前
日本放送協会
基板固定装置
1か月前
キヤノン株式会社
電子機器
26日前
キヤノン株式会社
電子機器
3か月前
イビデン株式会社
配線基板
5日前
個人
節電材料
2か月前
アイホン株式会社
電気機器
1か月前
アイホン株式会社
電気機器
26日前
メクテック株式会社
配線基板
1か月前
メクテック株式会社
配線基板
3か月前
東レ株式会社
霧化状活性液体供給装置
1か月前
マクセル株式会社
配列用マスク
2か月前
株式会社デンソー
電子装置
5日前
株式会社レクザム
剥離装置
4日前
トキコーポレーション株式会社
照明器具
3か月前
FDK株式会社
基板
11日前
イビデン株式会社
プリント配線板
3か月前
イビデン株式会社
プリント配線板
3か月前
サクサ株式会社
筐体の壁掛け構造
1か月前
イビデン株式会社
配線基板
1か月前
イビデン株式会社
プリント配線板
2か月前
イビデン株式会社
プリント配線板
1か月前
サクサ株式会社
開き角度規制構造
3日前
イビデン株式会社
配線基板
2か月前
オムロン株式会社
端子折り曲げ治具
14日前
カシン工業株式会社
PTC発熱装置
2か月前
日産自動車株式会社
電子部品
24日前
株式会社電気印刷研究所
金属画像形成方法
3か月前
株式会社電気印刷研究所
金属画像形成方法
3か月前
メクテック株式会社
伸縮性配線基板
3か月前
メクテック株式会社
配線モジュール
3か月前
続きを見る
他の特許を見る