TOP
|
特許
|
意匠
|
商標
特許ウォッチ
Twitter
他の特許を見る
10個以上の画像は省略されています。
公開番号
2025155305
公報種別
公開特許公報(A)
公開日
2025-10-14
出願番号
2024059065
出願日
2024-04-01
発明の名称
発音装置、発音方法及びプログラム
出願人
カシオ計算機株式会社
代理人
個人
主分類
G10H
1/00 20060101AFI20251006BHJP(楽器;音響)
要約
【課題】ユーザがシンプルな操作で音遊びを楽しむことが可能な発音装置、発音方法及びプログラムを提供する。
【解決手段】発音装置1は、距離センサ33と、カラーセンサ34と、発音部54と、制御基板55と、を備える。制御基板55は、距離センサ33により測定された第1の測定情報が第1の条件を満たす場合、第1の測定情報に応じた音を発音部54に出力させるように設定する。制御基板55は、第1の測定情報が第2の条件を満たす場合、カラーセンサ34により測定された第2の測定情報に応じた音を発音部54に出力させるように設定する。
【選択図】図2
特許請求の範囲
【請求項1】
第1のセンサと、
第2のセンサと、
発音部と、
制御部と、を備え、
前記制御部は、
前記第1のセンサにより測定された第1の測定情報が第1の条件を満たす場合、前記第1の測定情報に応じた音を前記発音部に出力させるように設定し、
前記第1の測定情報が第2の条件を満たす場合、前記第2のセンサにより測定された第2の測定情報に応じた音を前記発音部に出力させるように設定する、
ことを特徴とする発音装置。
続きを表示(約 1,600 文字)
【請求項2】
発光部を更に備え、
前記制御部は、
前記第1の測定情報が前記第1の条件を満たす場合、前記第1の測定情報に応じた色で前記発光部を発光させ、
前記第1の測定情報が前記第2の条件を満たす場合、前記第2の測定情報に応じた色で前記発光部を発光させる、
ことを特徴とする請求項1に記載の発音装置。
【請求項3】
加速度センサを更に備え、
前記制御部は、前記加速度センサにより振動が検知された場合、前記第1の測定情報に応じた音、又は、前記第2の測定情報に応じた音を前記発音部に出力させる、
ことを特徴とする請求項1又は2に記載の発音装置。
【請求項4】
操作部を更に備え、
前記制御部は、
前記操作部が操作されており、且つ、前記第1の測定情報が前記第1の条件を満たす場合、前記第1の測定情報に応じて音情報を設定し、
前記操作部が操作されており、且つ、前記第1の測定情報が前記第2の条件を満たす場合、前記第2の測定情報に応じて前記音情報を設定し、
前記操作部が操作されておらず、且つ、前記加速度センサにより前記振動が検知された場合、設定された前記音情報により示される音を前記発音部に出力させる、
ことを特徴とする請求項3に記載の発音装置。
【請求項5】
前記第1のセンサは、前記第1の測定情報として対象物までの距離を測定する距離センサであり、
前記第2のセンサは、前記第2の測定情報として前記対象物の色を測定するカラーセンサ又はカメラであり、
前記第1の条件は、前記第1のセンサにより測定された前記距離が所定値よりも大きい場合に満たされ、
前記第2の条件は、前記第1のセンサにより測定された前記距離が前記所定値以下である場合に満たされる、
ことを特徴とする請求項1又は2に記載の発音装置。
【請求項6】
前記第1のセンサは、前記第1の測定情報として対象物の色を測定するカラーセンサ又はカメラであり、
前記第2のセンサは、前記第2の測定情報として前記対象物までの距離を測定する距離センサ、又は、前記第2の測定情報として基準位置からの高さを測定する気圧センサであり、
前記第1の条件は、前記第1のセンサにより測定された前記色が特定の色に該当しない場合に満たされ、
前記第2の条件は、前記第1のセンサにより測定された前記色が前記特定の色に該当する場合に満たされる、
ことを特徴とする請求項1又は2に記載の発音装置。
【請求項7】
持ち手部と、本体部と、を備え、
前記第1のセンサ及び前記第2のセンサは、前記持ち手部における前記本体部とは反対側の端部に設けられている、
ことを特徴とする請求項1又は2に記載の発音装置。
【請求項8】
第1のセンサにより測定された第1の測定情報が第1の条件を満たす場合、前記第1の測定情報に応じた音を発音部に出力させるように設定し、
前記第1の測定情報が第2の条件を満たす場合、第2のセンサにより測定された第2の測定情報に応じた音を前記発音部に出力させるように設定する、
ことを特徴とする発音方法。
【請求項9】
コンピュータに、
第1のセンサにより測定された第1の測定情報が第1の条件を満たす場合、前記第1の測定情報に応じた音を発音部に出力させるように設定する処理と、
前記第1の測定情報が第2の条件を満たす場合、第2のセンサにより測定された第2の測定情報に応じた音を前記発音部に出力させるように設定する処理と、
を実行させるためのプログラム。
発明の詳細な説明
【技術分野】
【0001】
本発明は、発音装置、発音方法及びプログラムに関する。
続きを表示(約 1,700 文字)
【背景技術】
【0002】
ユーザの操作に応じて様々な音を出力する技術が知られている。例えば、特許文献1は、初心者や幼児でも容易に演奏や作曲を楽しむことができる楽音発生装置を開示している。
【先行技術文献】
【特許文献】
【0003】
特開平9-325768号公報
【発明の概要】
【発明が解決しようとする課題】
【0004】
上記のようなユーザの操作に応じて様々な音を出力する技術において、ユーザがシンプルな操作で音遊びを楽しむことができるようにしたい、という要望がある。
【0005】
本発明は、以上のような課題を解決するためのものであり、ユーザがシンプルな操作で音遊びを楽しむことが可能な発音装置、発音方法及びプログラムを提供することを目的とする。
【課題を解決するための手段】
【0006】
上記目的を達成するため、本発明に係る発音装置は、第1のセンサと、第2のセンサと、発音部と、制御部と、を備え、前記制御部は、前記第1のセンサにより測定された第1の測定情報が第1の条件を満たす場合、前記第1の測定情報に応じた音を前記発音部に出力させるように設定し、前記第1の測定情報が第2の条件を満たす場合、前記第2のセンサにより測定された第2の測定情報に応じた音を前記発音部に出力させるように設定することを特徴とする。
【発明の効果】
【0007】
本発明によれば、ユーザがシンプルな操作で音遊びを楽しむことができる。
【図面の簡単な説明】
【0008】
実施形態1に係る発音装置の外観を示す模式図である。
実施形態1に係る発音装置の構成を示すブロック図である。
実施形態1に係る発音装置によるセンシングの方向を示す図である。
実施形態1に係る発音装置に備えられる制御基板の構成を示すブロック図である。
実施形態1に係る発音装置に記憶される対応テーブルの例を示す図である。
実施形態1に係る発音装置により測定された距離に応じて発光部の色が変化する例を示す図である。
実施形態1に係る発音装置により測定された色に応じて発光部の色が変化する例を示す図である。
実施形態1に係る発音装置により音が発せられる例を示す図である。
実施形態1に係る発音装置により実行される発音処理の流れを示すフローチャートである。
実施形態1に係る発音装置により実行される設定処理の流れを示すフローチャートである。
実施形態2に係る発音装置により実行される設定処理の流れを示すフローチャートである。
実施形態3に係る発音装置の構成を示すブロック図である。
実施形態4に係る発音装置の構成を示すブロック図である。
【発明を実施するための形態】
【0009】
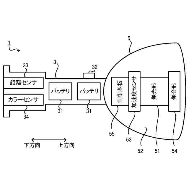
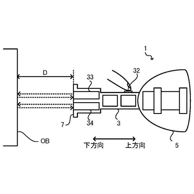
以下、本発明の実施形態について、図面を参照して説明する。なお、図中同一又は相当する部分には同一符号を付す。実施形態1に係る発音装置1は、図1に示すように、ハンドベルを模擬したいわゆるデジタルハンドベルであって、発音装置1を把持するユーザにより発音装置1の全体が振られたことに応答して音を発する(鳴らす)装置である。一例として、発音装置1は、幼児が音遊びを楽しむための、幼児向けの知育玩具として用いられる。
【0010】
発音装置1は、ユーザにより把持される部分である持ち手部3と、音を発する部分である本体部5と、を備えており、ミュージックベルを模擬した形状をしている。持ち手部3は、ユーザが片手で握って持ちやすいように、細長く延伸した柄(グリップ)の形状をしている。本体部5は、持ち手部3よりも太い形状であって、図1の例ではベル状(鐘状)をしている。以下では、持ち手部3から本体部5への方向を上方向と呼び、本体部5から持ち手部3への方向を下方向と呼ぶ。
(【0011】以降は省略されています)
この特許をJ-PlatPat(特許庁公式サイト)で参照する
関連特許
カシオ計算機株式会社
電子装置
8日前
カシオ計算機株式会社
印刷装置
今日
カシオ計算機株式会社
報知システム及び報知方法
10日前
カシオ計算機株式会社
調整装置、方法及びプログラム
8日前
カシオ計算機株式会社
発音装置、発音方法及びプログラム
10日前
カシオ計算機株式会社
情報処理装置、方法およびプログラム
10日前
カシオ計算機株式会社
電子機器、通知制御方法及びプログラム
9日前
カシオ計算機株式会社
検索装置、検索方法、及び、プログラム
今日
カシオ計算機株式会社
印刷装置、ラベル作成方法及びプログラム
今日
カシオ計算機株式会社
情報処理方法、プログラム及び情報処理装置
17日前
カシオ計算機株式会社
軌跡生成方法、軌跡生成装置及びプログラム
10日前
カシオ計算機株式会社
情報処理装置、情報処理方法及びプログラム
10日前
カシオ計算機株式会社
活動支援方法、プログラム及び活動支援装置
17日前
カシオ計算機株式会社
人材管理装置、人材管理方法、及びプログラム
10日前
カシオ計算機株式会社
情報処理装置、演奏装置、方法およびプログラム
9日前
カシオ計算機株式会社
情報処理装置、印刷装置、方法およびプログラム
10日前
カシオ計算機株式会社
電子機器、電源供給状態表示方法およびプログラム
7日前
カシオ計算機株式会社
カバー付き電子機器
今日
カシオ計算機株式会社
スイッチ装置および時計
10日前
カシオ計算機株式会社
スタンド、鍵盤楽器セット
7日前
カシオ計算機株式会社
音量制御装置、電子楽器、音量制御方法及びプログラム
7日前
個人
木管楽器
17日前
個人
管楽器用リガチャ-
3日前
株式会社豊田中央研究所
吸音構造体
25日前
本田技研工業株式会社
車室環境制御装置
21日前
株式会社東芝
吸音装置
23日前
積水樹脂株式会社
吸音シート
21日前
株式会社SinasSP
自動騒音低減装置
8日前
株式会社第一興商
カラオケ装置
15日前
日本軽金属株式会社
遮音壁
15日前
株式会社第一興商
カラオケ装置
21日前
株式会社第一興商
カラオケ装置
25日前
カシオ計算機株式会社
発音装置、発音方法及びプログラム
10日前
カシオ計算機株式会社
減音器具
23日前
カシオ計算機株式会社
減音器具
23日前
トヨタ自動車株式会社
判定装置
10日前
続きを見る
他の特許を見る