TOP
|
特許
|
意匠
|
商標
特許ウォッチ
Twitter
他の特許を見る
公開番号
2025157737
公報種別
公開特許公報(A)
公開日
2025-10-16
出願番号
2024059940
出願日
2024-04-03
発明の名称
電子装置
出願人
カシオ計算機株式会社
代理人
弁理士法人コスモ国際特許事務所
主分類
G03B
21/14 20060101AFI20251008BHJP(写真;映画;光波以外の波を使用する類似技術;電子写真;ホログラフイ)
要約
【課題】筐体に対する衝撃を減衰できる構造を実現可能な電子装置を提供する。
【解決手段】投影装置10は、上面20aと下面20bと各側面20c、20d、20e、20fとを含む筐体20を備え、上面20aと下面20bの両者と各側面20c、20d、20e、20fとの接続部の全周が筐体20の内部側に窪むことで段差状に設けられた上側段差部21a及び下側段差部22aを有する。上側段差部21a及び下側段差部22aが設けられていない従来の構成に比べて、筐体20の稜線部分における表面積を大きくすることができ、稜線において落下時の衝撃を吸収させることができる。
【選択図】図2
特許請求の範囲
【請求項1】
上面と下面と側面とを含む筐体を備え、
前記上面と前記下面のうち少なくとも一方と前記側面との接続部の全周が前記筐体の内部側に窪むことで段差状に設けられた段差部を有する、
電子装置。
続きを表示(約 700 文字)
【請求項2】
前記段差部は、前記上面と前記下面のうち少なくとも一方と平行な平行段差面を有し、
前記上面と前記下面のうち前記段差部と連なる方の面積は、前記平行段差面の面積より大きい、
請求項1に記載の電子装置。
【請求項3】
前記筐体は、8つの角部と、前記上面に対応する4つの辺と、前記下面に対応する4つの辺と、を含む略直方体状である、
請求項1に記載の電子装置。
【請求項4】
前記段差部のうち前記角部に対応する部分の窪みの深さは、前記辺に対応する窪みの深さよりも大きい、
請求項3に記載の電子装置。
【請求項5】
前記上面と前記下面のうち前記段差部と連なる方は、該連なる部分が傾斜面とされている、
請求項1に記載の電子装置。
【請求項6】
前記段差部は、前記筐体の内部側に向けて凹円弧状に窪むように設けられている、
請求項1に記載の電子装置。
【請求項7】
少なくとも一部が前記段差部内に配置される緩衝部材を備える、
請求項1~6のいずれか1項に記載の電子装置。
【請求項8】
前記筐体の前記側面の4つの隅部のうち少なくとも一つの隅部が面取りされており、
前記緩衝部材は、前記面取りされた前記隅部を覆っている、
請求項7に記載の電子装置。
【請求項9】
前記緩衝部材は、前記面取りされた前記隅部を覆うとともに前記面取りされた厚みと対応する厚みを有する隅部緩衝部を含む、
請求項8に記載の電子装置。
発明の詳細な説明
【技術分野】
【0001】
本発明は、電子装置に関する。
続きを表示(約 1,700 文字)
【背景技術】
【0002】
従来から、投影装置等の電子装置において、落下時の衝撃を吸収して減衰する構成を備えるものが知られている。例えば、特許文献1には、FPD(Flat Panel Detector)とこれを収容する可搬型の筐体から構成され、筐体の4つの角部が衝撃吸収材に置き換わった電子カセッテが開示されている。これらの衝撃吸収材は、筐体内のFPD等を落下衝撃から保護する。
【先行技術文献】
【特許文献】
【0003】
特開2013-257198号公報
【発明の概要】
【発明が解決しようとする課題】
【0004】
しかしながら、投影装置等において筐体の落下時等に筐体に対する衝撃を吸収して減衰させるために、特許文献1に開示される電子カセッテのように筐体の角部を削って当該角部に緩衝部材を組み付けた場合、角部において衝撃が吸収されるが、角部同士を結ぶ辺(稜線)においては衝撃を吸収させることができず、衝撃の減衰効果が不十分であった。
【0005】
本発明は、筐体に対する衝撃を減衰できる構造を実現可能な電子装置を提供することを目的とする。
【課題を解決するための手段】
【0006】
本発明の電子装置は、上面と下面と側面とを含む筐体を備え、前記上面と前記下面のうち少なくとも一方と前記側面との接続部の全周が前記筐体の内部側に窪むことで段差状に設けられた段差部を有する。
【発明の効果】
【0007】
本発明によれば、筐体に対する衝撃を減衰できる構造を実現可能な電子装置を提供することができる。
【図面の簡単な説明】
【0008】
実施形態に係る投影装置を前方左上側から視た斜視図である。
実施形態に係る投影装置において緩衝部材を外した状態を前方左上側から視た斜視図である。
実施形態に係る投影装置において緩衝部材を外した状態を後方右下側から視た斜視図である。
実施形態に係る投影装置の緩衝部材の分解斜視図である。
実施形態に係る投影装置において緩衝部材の第3緩衝部を外した状態を前方左上側から視た斜視図である。
実施形態に係る投影装置の左右方向略中央部における前方部分の縦断面図であって、図1におけるVI-VI断面の断面図である。
実施形態に係る投影装置が設置面上に落下する様子を示す模式図である。
実施形態の変形例に係る投影装置の縦断面図であって、図6に対応する断面の断面図である。
【発明を実施するための形態】
【0009】
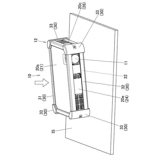
以下、図面を参照して本発明の実施形態について説明する。図1に示すように、実施形態に係る投影装置(電子装置)10は、筐体20(電子装置のハウジング)及び緩衝部材30を含む外装部材12と、筐体20の内部に設けられた表示装置40と、を備えている。筐体20は、左右方向を長手方向とする略直方体状であり、6つの面(上面20a、下面20b(図3参照)、左側面20c、右側面20d(図3参照)、前側面20e、後側面20f(図3参照))を有している。投影装置10は、前側面20e側に投影光が出射される投影口11を有している。なお、以下の説明においては、投影装置10における左右とは投影口11からの投影光の出射方向に対しての左右方向を示し、前後とは投影装置10の投影光の進行方向に対しての前後方向を示す。また、上面20a側を投影装置10の上側、下面20b側を投影装置10の下側とする。
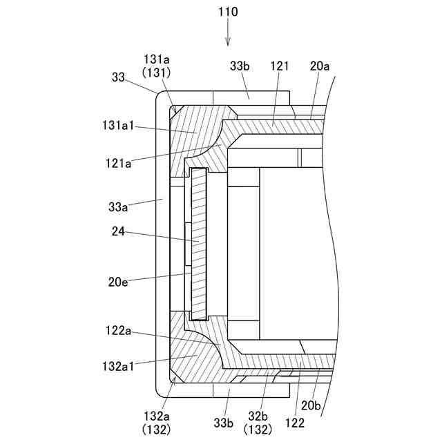
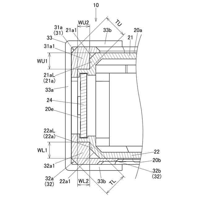
【0010】
また、図2及び図3に示すように、筐体20は、略直方体状であることから、8つの角部を有している。そして、筐体20は、上面20aと上面20a周りの4つの角部及び4つの辺を含む上側カバー21と、下面20bと下面20b周りの4つの角部及び4つの辺を含む下側カバー22と、を備えている。以下では、上側カバー21に含まれる4つの辺(4つの角部同士を結ぶ辺)及び下側カバー22に含まれる4つの辺を、「稜線」ともいう。
(【0011】以降は省略されています)
この特許をJ-PlatPat(特許庁公式サイト)で参照する
関連特許
個人
表示装置
3日前
個人
雨用レンズカバー
1日前
株式会社シグマ
絞りユニット
1か月前
平和精機工業株式会社
雲台
1か月前
キヤノン株式会社
撮像装置
1か月前
キヤノン株式会社
撮像装置
29日前
キヤノン株式会社
撮像装置
23日前
日本精機株式会社
車両用投射装置
9日前
株式会社リコー
画像形成装置
2か月前
株式会社リコー
画像形成装置
1か月前
株式会社リコー
画像形成装置
19日前
株式会社リコー
画像形成装置
1か月前
株式会社リコー
画像形成装置
2か月前
株式会社リコー
画像形成装置
2か月前
ブラザー工業株式会社
再生方法
2か月前
株式会社オプトル
プロジェクタ
2か月前
キヤノン株式会社
画像形成装置
2か月前
キヤノン株式会社
画像形成装置
1か月前
株式会社オプトル
プロジェクタ
22日前
キヤノン株式会社
トナー
10日前
キヤノン株式会社
画像形成装置
4日前
シャープ株式会社
画像形成装置
1か月前
キヤノン株式会社
トナー
1か月前
キヤノン株式会社
トナー
15日前
キヤノン株式会社
画像形成装置
1か月前
株式会社シグマ
絞り機構及びレンズ鏡筒
1か月前
アイホン株式会社
機器の設置構造
2か月前
キヤノン株式会社
レンズキャップ
2日前
沖電気工業株式会社
画像形成装置
1か月前
沖電気工業株式会社
画像形成装置
1日前
スタンレー電気株式会社
照明装置
11日前
アイホン株式会社
カメラシステム
9日前
キヤノン株式会社
現像装置
8日前
アイホン株式会社
機器の設置構造
2か月前
日本放送協会
光分布生成装置
2か月前
ブラザー工業株式会社
画像形成装置
8日前
続きを見る
他の特許を見る