TOP
|
特許
|
意匠
|
商標
特許ウォッチ
Twitter
他の特許を見る
10個以上の画像は省略されています。
公開番号
2025155652
公報種別
公開特許公報(A)
公開日
2025-10-14
出願番号
2024181233
出願日
2024-10-16
発明の名称
撮影装置、撮影装置の制御方法
出願人
キヤノン株式会社
代理人
弁理士法人大塚国際特許事務所
主分類
H04N
23/60 20230101AFI20251006BHJP(電気通信技術)
要約
【課題】 撮影者を認証して記録する装置の利便性を向上させるための技術を提供すること。
【解決手段】 撮影装置の使用者を特定し、使用者による撮影装置の使用の継続状態を判定する。そして、使用者を特定してから使用者による使用が継続していないと判定するまでの間に撮影装置により撮影された画像と使用者の情報とが関連付けてメモリに記録されるように制御する。
【選択図】 図4
特許請求の範囲
【請求項1】
撮影装置であって、
前記撮影装置の使用者を特定する特定手段と、
前記使用者による前記撮影装置の使用の継続状態を判定する判定手段と、
前記特定手段が前記使用者を特定してから前記判定手段が前記使用者による使用が継続していないと判定するまでの間に前記撮影装置により撮影された画像と前記使用者の情報とが関連付けてメモリに記録されるように制御する制御手段と、
を備える撮影装置。
続きを表示(約 880 文字)
【請求項2】
前記メモリは、前記撮影装置に内蔵されている、又は、前記撮影装置に物理的に着脱可能に接続されることを特徴とする請求項1に記載の撮影装置。
【請求項3】
前記撮影装置は前記メモリを有するサーバと通信路を介して接続され、
前記制御手段は、前記画像と前記使用者の情報とが関連付けて前記メモリに記録されるように、前記判定の結果に応じて前記サーバへ信号を送信することを特徴とする請求項1に記載の撮影装置。
【請求項4】
前記特定手段は、前記撮影装置の使用者の生体情報に基づいて前記撮影装置の使用者を特定することを特徴とする請求項1に記載の撮影装置。
【請求項5】
前記生体情報は、虹彩、指紋、静脈、顔のうち少なくとも1つを含むことを特徴とする請求項4に記載の撮影装置。
【請求項6】
前記特定手段は、前記撮影装置の使用者によって入力された、もしくは記録媒体から読み取った認証用の情報に基づいて前記撮影装置の使用者を特定することを特徴とする請求項1に記載の撮影装置。
【請求項7】
前記判定手段は、前記特定手段が前記使用者を特定してから前記撮影装置の終了が指示されるまでは、前記使用者による前記撮影装置の使用が継続していると判定することを特徴とする請求項1に記載の撮影装置。
【請求項8】
前記指示は、終了ボタンの指示、モードを切り替える指示、を含むことを特徴とする請求項7に記載の撮影装置。
【請求項9】
前記判定手段は、前記撮影装置の使用を継続する指示が入力中の状態では、前記使用者による前記撮影装置の使用が継続していると判定することを特徴とする請求項1に記載の撮影装置。
【請求項10】
前記判定手段は、前記状態において前記撮影装置の使用を継続する指示が入力されなくなると、前記使用者による前記撮影装置の使用が継続していないと判定することを特徴とする請求項9に記載の撮影装置。
(【請求項11】以降は省略されています)
発明の詳細な説明
【技術分野】
【0001】
本発明は、撮影者を認証して記録するための技術に関する。
続きを表示(約 2,000 文字)
【背景技術】
【0002】
近年、著作権の管理や真正性の保証のため、画像や映像の撮影者を特定して記録する手法が求められている。特許文献1では、撮影者を特定して画像ファイルに記録する際に、撮影者の生体情報を監視し、変化があれば撮影者が入れ替わったと判断して撮影者の認証を解除する方法が提案されている。
【先行技術文献】
【特許文献】
【0003】
特開2018-191194号公報
【発明の概要】
【発明が解決しようとする課題】
【0004】
特許文献1の方法では、一連の撮影の間に認証が解除されて撮影の利便性が低下することがあった。本発明は、撮影者を認証して記録する装置の利便性を向上させるための技術を提供する。
【課題を解決するための手段】
【0005】
本発明の一様態は、撮影装置であって、前記撮影装置の使用者を特定する特定手段と、前記使用者による前記撮影装置の使用の継続状態を判定する判定手段と、前記特定手段が前記使用者を特定してから前記判定手段が前記使用者による使用が継続していないと判定するまでの間に前記撮影装置により撮影された画像と前記使用者の情報とが関連付けてメモリに記録されるように制御する制御手段と、を備える。
【発明の効果】
【0006】
本発明によれば、撮影者を認証して記録する装置の利便性を向上させるための技術を提供することができる。
【図面の簡単な説明】
【0007】
(a)はカメラ100の正面斜視図、(b)はカメラ100の背面斜視図、(c)は操作レバーを説明する図。
YZ平面でカメラ100を切断した断面図。
カメラ100内の電気的構成を示すブロック図。
カメラ100の機能構成例を示すブロック図。
カメラ100が行う処理のフローチャート。
ステップS503における処理の詳細を示すフローチャート。
ステップS503における処理の詳細を示すフローチャート。
ステップS503における処理の詳細を示すフローチャート。
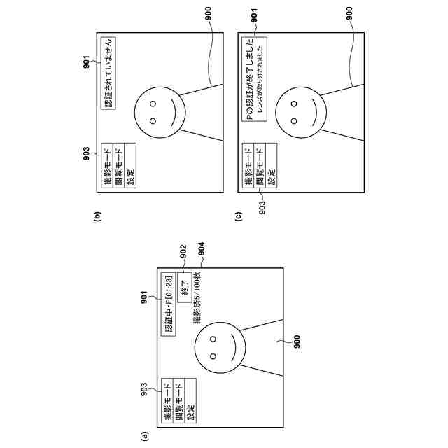
(a)は「使用者Pによる使用継続状態」において表示パネルに表示される画面の表示例を示す図、(b)は「使用者未特定状態」において表示パネルに表示される画面の表示例を示す図、(c)はカメラ100の使用者Pがカメラ100の使用を継続していないと判定された場合に表示される画面の表示例を示す図。
設定モードをタッチすると表示パネルに表示される画面の表示例を示す図。
第6の実施形態における、カメラ装置の構成例の図。
第6の実施形態における、カメラ装置の電気的構成例のブロック図。
第6の実施形態における、使用者の継続使用状態を決定する手順を示すフローチャート。
第7の実施形態における、使用者の継続使用状態を決定する手順を示すフローチャート。
眼球画像解析方法の原理説明図。
眼球用撮像素子に投影される眼球像の概略図。
本眼球画像解析の概略フローチャート。
第8の実施形態における、使用者の継続使用状態を決定する手順を示すフローチャート。
第9の実施形態における、カメラ装置の構成例の図。
第9の実施形態における、カメラ装置の電気的構成例のブロック図。
第9の実施形態における、使用者の継続使用状態を決定する手順を示すフローチャート。
【発明を実施するための形態】
【0008】
以下、添付図面を参照して実施形態を詳しく説明する。尚、以下の実施形態は特許請求の範囲に係る発明を限定するものではない。実施形態には複数の特徴が記載されているが、これらの複数の特徴の全てが発明に必須のものとは限らず、また、複数の特徴は任意に組み合わせられてもよい。さらに、添付図面においては、同一若しくは同様の構成に同一の参照番号を付し、重複した説明は省略する。
【0009】
[第1の実施形態]
先ず、本実施形態に係る撮影装置の一例であるカメラ100(デジタルスチルカメラ;レンズ交換式カメラ)の外観例について、図1を用いて説明する。図1(a)は、カメラ100の正面斜視図であり、図1(b)は、カメラ100の背面斜視図である。なお、図1では、説明上、カメラ100の光軸方向をZ軸方向とし、該Z軸に直交する2軸のうち水平方向をX軸、垂直方向をY軸、と規定している。
【0010】
図1(a)に示す如く、カメラ100は、撮影レンズユニット100Aおよびカメラ筐体100Bを有する。カメラ筐体100Bには、カメラ100の使用者(撮影者)から撮影のための操作入力を受け付ける操作部材であるレリーズボタン101が設けられている。
(【0011】以降は省略されています)
この特許をJ-PlatPat(特許庁公式サイト)で参照する
関連特許
キヤノン株式会社
トナー
11日前
キヤノン株式会社
トナー
16日前
キヤノン株式会社
トナー
11日前
キヤノン株式会社
トナー
11日前
キヤノン株式会社
電子機器
24日前
キヤノン株式会社
記録装置
9日前
キヤノン株式会社
電子機器
18日前
キヤノン株式会社
撮像装置
12日前
キヤノン株式会社
電子機器
20日前
キヤノン株式会社
定着装置
10日前
キヤノン株式会社
発光装置
23日前
キヤノン株式会社
現像容器
9日前
キヤノン株式会社
撮影装置
9日前
キヤノン株式会社
表示装置
23日前
キヤノン株式会社
現像装置
9日前
キヤノン株式会社
測距装置
4日前
キヤノン株式会社
記録装置
16日前
キヤノン株式会社
現像容器
9日前
キヤノン株式会社
収容装置
24日前
キヤノン株式会社
定着装置
24日前
キヤノン株式会社
撮像装置
16日前
キヤノン株式会社
現像装置
2日前
キヤノン株式会社
現像装置
9日前
キヤノン株式会社
モジュール
11日前
キヤノン株式会社
半導体装置
18日前
キヤノン株式会社
光学センサ
11日前
キヤノン株式会社
現像剤容器
17日前
キヤノン株式会社
画像形成装置
9日前
キヤノン株式会社
映像表示装置
20日前
キヤノン株式会社
画像形成装置
12日前
キヤノン株式会社
画像形成装置
12日前
キヤノン株式会社
画像形成装置
12日前
キヤノン株式会社
画像形成装置
9日前
キヤノン株式会社
画像形成装置
12日前
キヤノン株式会社
画像形成装置
9日前
キヤノン株式会社
画像形成装置
9日前
続きを見る
他の特許を見る