TOP
|
特許
|
意匠
|
商標
特許ウォッチ
Twitter
他の特許を見る
10個以上の画像は省略されています。
公開番号
2025155729
公報種別
公開特許公報(A)
公開日
2025-10-14
出願番号
2024201937
出願日
2024-11-19
発明の名称
端末及び通信方法
出願人
株式会社NTTドコモ
代理人
弁理士法人ITOH
主分類
H04W
52/02 20090101AFI20251006BHJP(電気通信技術)
要約
【課題】低電力ウエイクアップ信号(LP-WUS)動作と物理下り制御チャネル(PDCCH)スキッピングに関する手順を明確化すること。
【解決手段】端末は、低電力ウエイクアップ信号の設定と接続モード間欠受信の設定を実行する制御部と、低電力ウエイクアップ信号を受信する受信部と、を有し、前記制御部は、物理下り制御チャネルのスキッピングを設定可能であること又は設定可能でないことを想定する。
【選択図】図8
特許請求の範囲
【請求項1】
低電力ウエイクアップ信号の設定と接続モード間欠受信の設定を実行する制御部と、
低電力ウエイクアップ信号を受信する受信部と、を有し、
前記制御部は、物理下り制御チャネルのスキッピングを設定可能であること又は設定可能でないことを想定する、
端末。
続きを表示(約 680 文字)
【請求項2】
低電力ウエイクアップ信号の設定を実行して、接続モード間欠受信の設定を実行しない制御部と、
低電力ウエイクアップ信号を受信する受信部と、を有し、
前記制御部は、物理下り制御チャネルのスキッピングを設定可能であること又は設定可能でないことを想定する端末。
【請求項3】
前記制御部は、低電力ウエイクアップ信号を受信するセルに対して、物理下り制御チャネルのスキッピングを設定可能であること又は設定可能でないことを想定する、
請求項1又は請求項2に記載の端末。
【請求項4】
前記制御部は、物理下り制御チャネルのスキッピングの期間が、低電力ウエイクアップ信号によってトリガされた物理下り制御チャネルをモニタリングするタイマの終了を超えないことを想定する、
請求項1に記載の端末。
【請求項5】
前記制御部は、物理下り制御チャネルのモニタリング適応を示すフィールドを含む下り制御情報のフォーマットを提供する物理下り制御チャネルにおける最後のシンボルの後の最初のスロットの開始時点で、物理下り制御チャネルのスキッピングを開始する、
請求項2に記載の端末。
【請求項6】
低電力ウエイクアップ信号の設定と接続モード間欠受信の設定を実行するステップと、
低電力ウエイクアップ信号を受信するステップと、
物理下り制御チャネルのスキッピングを設定可能であること又は設定可能でないことを想定するステップと、
を有する端末が実行する通信方法。
発明の詳細な説明
【技術分野】
【0001】
本発明は、無線通信システムにおける端末及び通信方法に関する。
続きを表示(約 2,100 文字)
【背景技術】
【0002】
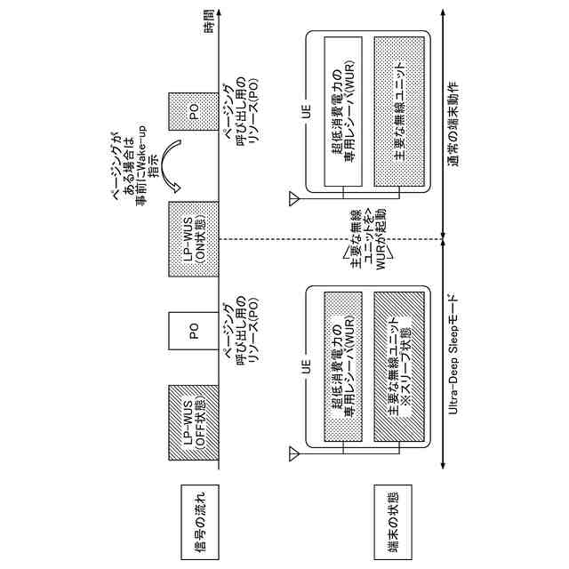
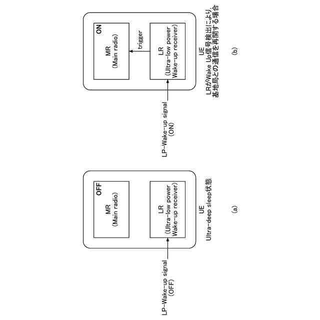
3GPP(登録商標)(3rd Generation Partnership Project)システム容量の更なる大容量化、データ伝送速度の更なる高速化及び無線区間における更なる低遅延化等を実現するための技術が検討されている(例えば、非特許文献1及び非特許文献2)。さらに、3GPP Rel-19では、無線通信システムにおける低電力化のため、低電力ウエイクアップ信号(LP(Low Power)-WUS(Wake Up Signal))及びLP-WUSを受信するためのLP-WUR(Wake Up Receiver)の技術が議論されている。
【先行技術文献】
【非特許文献】
【0003】
3GPP TS 38.300 V18.2.0(2024-06)
3GPP TS 38.401 V18.2.0(2024-06)
【発明の概要】
【発明が解決しようとする課題】
【0004】
3GPP Release 19では、端末と基地局間の無線リソース制御(RRC: Radio Resource Control)接続が確立された状態であるRRC_CONNECTEDモードにおいて、LP-WUSを用いて物理下り制御チャネル(PDCCH: Physical Downlink Control Channel)モニタリングをトリガする手順が検討されている。一方、3GPP Rel-17において、電力消費の低減のために、物理下り制御チャネルのスキッピングが規定されている。ここで、低電力ウエイクアップ信号(LP-WUS)動作を行う場合における、下り制御チャネル(PDCCH)スキッピングに関する手順が明確化でない。
【0005】
本発明は上記の点に鑑みてなされたものであり、低電力ウエイクアップ信号(LP-WUS)動作と物理下り制御チャネル(PDCCH)スキッピングに関する手順を明確化することを目的とする。
【課題を解決するための手段】
【0006】
開示の技術によれば、低電力ウエイクアップ信号の設定と接続モード間欠受信の設定を実行する制御部と、低電力ウエイクアップ信号を受信する受信部と、を有し、前記制御部は、物理下り制御チャネルのスキッピングを設定可能であること又は設定可能でないことを想定する端末が提供される。
【発明の効果】
【0007】
開示の技術によれば、低電力ウエイクアップ信号(LP-WUS)動作と物理下り制御チャネル(PDCCH)スキッピングに関する手順を明確化することができる。
【図面の簡単な説明】
【0008】
本発明の実施の形態における無線通信システムを説明するための図である。
本発明の実施の形態における無線通信システムを説明するための図である。
本発明の実施の形態におけるLP-WUS及びLP-WURによる通信を説明するための図である。
本発明の実施の形態におけるLP-WUS及びLP-WURによる通信を説明するための図である。
3GPPにおける合意事項を説明するための図である。
3GPPにおける合意事項を説明するための図である。
下り制御チャネル(PDCCH)スキッピングを説明するための図である。
本発明の実施の形態における下り制御チャネル(PDCCH)スキッピングの一例を説明するための図である。
本発明の実施の形態におけるC-DRX及びPDCCHスキッピングが設定されていない場合のLP-WUS動作の一例を説明する図である。
本発明の実施の形態における下り制御チャネル(PDCCH)スキッピングの一例を説明するための図である。
本発明の実施の形態における基地局10の機能構成の一例を示す図である。
本発明の実施の形態における端末20の機能構成の一例を示す図である。
本発明の実施の形態における基地局10又は端末20のハードウェア構成の一例を示す図である。
本発明の実施の形態における車両2001の構成の一例を示す図である。
【発明を実施するための形態】
【0009】
以下、図面を参照して本発明の実施の形態を説明する。なお、以下で説明する実施の形態は一例であり、本発明が適用される実施の形態は、以下の実施の形態に限られない。
【0010】
本発明の実施の形態の無線通信システムの動作にあたっては、適宜、既存技術が使用される。ただし、当該既存技術は、例えば既存のLTEであるが、既存のLTEに限られない。また、本明細書で使用する用語「LTE」は、特に断らない限り、LTE-Advanced、及び、LTE-Advanced以降の方式(例:NR)を含む広い意味を有するものとする。
(【0011】以降は省略されています)
この特許をJ-PlatPat(特許庁公式サイト)で参照する
関連特許
株式会社NTTドコモ
端末
今日
株式会社NTTドコモ
端末
1日前
株式会社NTTドコモ
端末
今日
株式会社NTTドコモ
端末
今日
株式会社NTTドコモ
端末
1日前
株式会社NTTドコモ
端末
1日前
株式会社NTTドコモ
端末
今日
株式会社NTTドコモ
端末
1日前
株式会社NTTドコモ
端末
今日
株式会社NTTドコモ
基地局
今日
株式会社NTTドコモ
デバイス
今日
株式会社NTTドコモ
デバイス
1日前
株式会社NTTドコモ
デバイス
1日前
株式会社NTTドコモ
デバイス
1日前
株式会社NTTドコモ
デバイス
今日
株式会社NTTドコモ
デバイス
1日前
株式会社NTTドコモ
デバイス
今日
株式会社NTTドコモ
基地局及び端末
今日
株式会社NTTドコモ
端末及び基地局
今日
株式会社NTTドコモ
基地局及び端末
今日
株式会社NTTドコモ
端末及び基地局
今日
株式会社NTTドコモ
端末及び基地局
今日
株式会社NTTドコモ
端末及び通信方法
1日前
株式会社NTTドコモ
端末及び通信方法
1日前
株式会社NTTドコモ
端末及び通信方法
1日前
株式会社NTTドコモ
端末及び通信方法
1日前
株式会社NTTドコモ
端末及び通信方法
1日前
株式会社NTTドコモ
端末及び通信方法
1日前
株式会社NTTドコモ
端末及び通信方法
1日前
株式会社NTTドコモ
端末及び通信方法
1日前
株式会社NTTドコモ
端末及び通信方法
1日前
株式会社NTTドコモ
端末及び通信方法
1日前
株式会社NTTドコモ
端末及び通信方法
1日前
株式会社NTTドコモ
端末及び通信方法
1日前
株式会社NTTドコモ
端末及び通信方法
1日前
株式会社NTTドコモ
端末及び通信方法
1日前
続きを見る
他の特許を見る