TOP
|
特許
|
意匠
|
商標
特許ウォッチ
Twitter
他の特許を見る
公開番号
2025155961
公報種別
公開特許公報(A)
公開日
2025-10-14
出願番号
2025032731
出願日
2025-03-03
発明の名称
太陽電池パネルの検査装置
出願人
株式会社カネカ
,
国立大学法人 奈良先端科学技術大学院大学
代理人
個人
主分類
G01N
21/88 20060101AFI20251002BHJP(測定;試験)
要約
【課題】高精度な検査動作が可能な太陽電池パネルの検査装置を提供する。
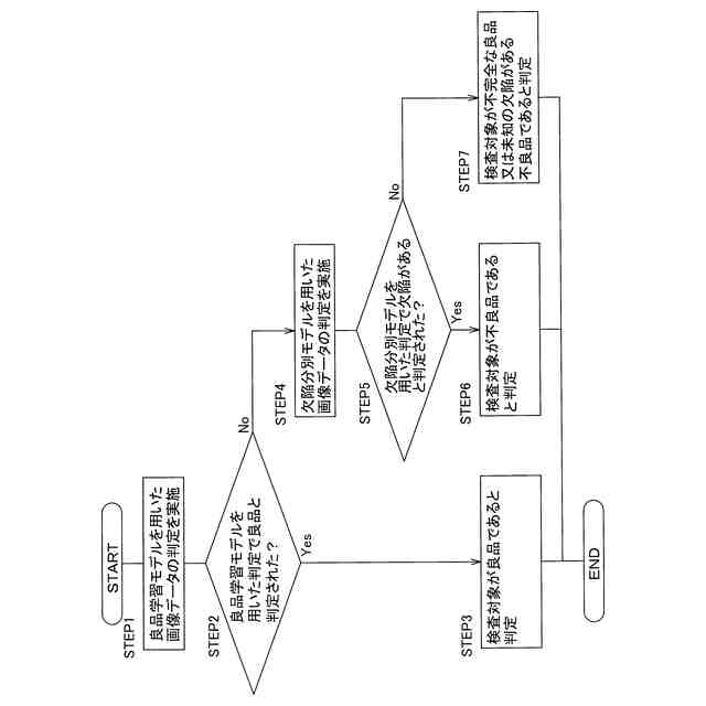
【解決手段】太陽電池パネルの検査装置において、過去に良品と判断された太陽電池パネルの画像データを含み、かつ過去に良品と判断されなかった太陽電池パネルの画像データを含まない良品画像データ群を用いて教師なし学習により、良品学習モデルを生成可能であり、過去の太陽電池パネルの画像データと、当該画像データの欠陥の有無に関するデータとのデータセットを用いて、教師あり学習によって欠陥分別モデルを生成可能なものとし、入力された画像の太陽電池パネルが、良品学習モデルを用いた判定で不良品と判定され、欠陥分別モデルを用いた判定で欠陥があると判定されなかった場合に、入力画像の太陽電池パネルを判定不能太陽電池パネルとして分別する、構成とする。
【選択図】図7
特許請求の範囲
【請求項1】
太陽電池パネルの画像データを入力する画像入力部と、第1学習モデル生成部と、第2学習モデル生成部と、第1判定部と、第2判定部と、分別部を有し、
習モデル生成部は、過去に良品と判断された太陽電池パネルの画像データを含み、かつ過去に良品と判断されなかった太陽電池パネルの画像データを含まない良品画像データ群を用いて教師なし学習により、良品学習モデルを生成可能であり、
前記第1判定部は、前記良品学習モデルを用いて、前記画像入力部に入力された画像の太陽電池パネルが良品であるか否かを判定するものであり、
前記第2学習モデル生成部は、過去の太陽電池パネルの画像データと、当該画像データの欠陥の有無に関するデータとのデータセットを用いて、教師あり学習によって欠陥分別モデルを生成可能であり、
前記第2判定部は、前記欠陥分別モデルを用いて、前記画像入力部に入力された画像の太陽電池パネルに欠陥があるか否かを判定するものであり、
前記分別部は、前記画像入力部に入力された入力画像が、前記第1判定部によって不良品と判定され、かつ前記第2判定部によって欠陥があると判定されなかった場合に、当該入力画像の太陽電池パネルを、判定不能太陽電池パネルとして分別する、太陽電池パネルの検査装置。
続きを表示(約 1,100 文字)
【請求項2】
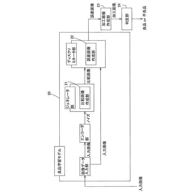
前記良品学習モデルは、前記教師なし学習の結果に基づいて比較画像を作成する比較画像作成部を有し、前記画像入力部に入力された入力画像と前記比較画像の差分から誤差画像を作成し、前記誤差画像に対してシグモイド関数又は二値化処理を適用して加工画像を作成し、さらに当該加工画像を用いて太陽電池パネルが良品であるか判定する、請求項1に記載の太陽電池パネルの検査装置。
【請求項3】
前記教師なし学習は、オートエンコーダ、変分オートエンコーダ、敵対的生成ネットワークからなる群から選ばれる少なくとも一つのフレームワークを用いる、請求項1又は2に記載の太陽電池パネルの検査装置。
【請求項4】
前記良品画像データ群は、過去に良品と判断された太陽電池パネルであって、かつ所定の良品基準を満たさない太陽電池パネルの画像を含まない、請求項1又は2に記載の太陽電池パネルの検査装置。
【請求項5】
前記良品画像データ群は、過去に良品と判断された太陽電池パネルの画像に対してガンマ補正又は積和演算を行った画像データを含む、請求項1又は2に記載の太陽電池パネルの検査装置。
【請求項6】
前記分別部は、前記画像入力部に入力された入力画像が前記第1判定部によって良品と判定された場合に、当該入力画像の太陽電池パネルを良品太陽電池パネルとして分別する、請求項1又は2に記載の太陽電池パネルの検査装置。
【請求項7】
前記分別部は、前記画像入力部に入力された入力画像が前記第2判定部によって欠陥があると判定された場合に、当該入力画像の太陽電池パネルを不良品太陽電池パネルとして分別する、請求項1又は2に記載の太陽電池パネルの検査装置。
【請求項8】
太陽電池パネルの画像データを入力する画像入力部と、第1学習モデル生成部と、第1判定部を有し、
前記第1学習モデル生成部は、過去に良品と判断された太陽電池パネルの画像データを含み、かつ過去に良品と判断されなかった太陽電池パネルの画像データを含まない良品画像データ群を用いて教師なし学習により、良品学習モデルを生成可能であり、
前記第1判定部は、前記良品学習モデルを用いて、前記画像入力部に入力された画像の太陽電池パネルが良品であるか否かを判定するものであり、
前記良品学習モデルは、前記教師なし学習の結果に基づいて比較画像を作成する比較画像作成部を有し、前記画像入力部に入力された入力画像と前記比較画像の差分から誤差画像を作成し、前記誤差画像に対してシグモイド関数又は二値化処理を適用して加工画像を作成し、さらに当該加工画像を用いて太陽電池パネルが良品であるか判定する、太陽電池パネルの検査装置。
発明の詳細な説明
【技術分野】
【0001】
本発明は、太陽電池パネルの検査装置に関する。
続きを表示(約 2,300 文字)
【背景技術】
【0002】
太陽電池パネルの製造現場では、製造される太陽電池パネルが安定的に一定以上の品質を保つように、太陽電池パネルを検査し、太陽電池パネルの欠陥を検出する装置が用いられている。このような装置として、例えば、特許文献1に開示された検出装置がある。
【0003】
特許文献1の検出装置は、候補領域抽出部と、画像生成部と、第1学習器と、検出部を有している。そして、特許文献1の検出装置は、候補領域抽出部によって第1画像を画像処理して検出対象候補が含まれる候補領域を抽出し、画像生成部によって候補領域が含まれる第2画像を生成する。さらに、検出装置は、生成した第2画像をニューラルネットワークで構成された第1学習器に入力して検出対象である欠陥の有無を検出する。
【0004】
この検出装置は、太陽電池モジュールを構成するセルのフィンガー断線、洗浄跡、ひび等の欠陥を検出対象として検出する。また、この検出装置は、第1学習器を多層のニューラルネットワーク(深層学習)で構成し、さらに第1学習器に入力する第2画像を少数の候補領域だけが含まれるものとすることで、検出が困難な微小な検出対象を高い精度で検出できるものとしている。
【先行技術文献】
【特許文献】
【0005】
国際公開第2020/158635号
【発明の概要】
【発明が解決しようとする課題】
【0006】
ここで、従来の装置では、製造される太陽電池パネルの材料や製造プロセスが変更されると、欠陥の検出精度が低下してしまう場合があった。
このような場合、エンジニアが装置のメンテナンスを行い、材料や製造プロセスの変更に装置を対応させ、低下した欠陥の検出精度を向上させる必要がある。しかしながら、材料や製造プロセスが変更される度にエンジニアに即座に装置のメンテナンスを実行してもらうことは困難であった。
【0007】
すなわち、太陽電池パネルの製造と情報技術の双方に精通し、的確にメンテナンスを実行できる高度な知識と技術を持ったトップエンジニアがそもそも不足しているという問題がある。そして、そのようなトップエンジニアにメンテナンスを実行してもらうと、装置の保守コストが大きく増加してしまうという問題がある。
以上のことから、太陽電池パネルの材料や製造プロセスが変更された場合においても、エンジニアによるいち早い対応を必ずしも必要とせず、容易に継続運用が可能な太陽電池パネルの検査装置が望まれていた。
また、従来の検出装置には、高精度な検査を実行するという点において、改良の余地があった。
【0008】
そこで本発明は、高精度な検査動作が可能な太陽電池パネルの検査装置を提供することを課題とする。
【課題を解決するための手段】
【0009】
上記課題を解決するための本発明の一つの様相は、太陽電池パネルの画像データを入力する画像入力部と、第1学習モデル生成部と、第2学習モデル生成部と、第1判定部と、第2判定部と、分別部を有し、前記第1学習モデル生成部は、過去に良品と判断された太陽電池パネルの画像データを含み、かつ過去に良品と判断されなかった太陽電池パネルの画像データを含まない良品画像データ群を用いて教師なし学習により、良品学習モデルを生成可能であり、前記第1判定部は、前記良品学習モデルを用いて、前記画像入力部に入力された画像の太陽電池パネルが良品であるか否かを判定するものであり、前記第2学習モデル生成部は、過去の太陽電池パネルの画像データと、当該画像データの欠陥の有無に関するデータとのデータセットを用いて、教師あり学習によって欠陥分別モデルを生成可能であり、前記第2判定部は、前記欠陥分別モデルを用いて、前記画像入力部に入力された画像の太陽電池パネルに欠陥があるか否かを判定するものであり、前記分別部は、前記画像入力部に入力された入力画像が、前記第1判定部によって不良品と判定され、かつ前記第2判定部によって欠陥があると判定されなかった場合に、当該入力画像の太陽電池パネルを、判定不能太陽電池パネルとして分別する、太陽電池パネルの検査装置である。
【0010】
本様相の太陽電池パネルの検査装置は、生成のための学習方法が異なる良品学習モデル、欠陥分別モデルの双方を用いて判定を行う。そして、第1判定部によって不良品と判定され、かつ第2判定部によって欠陥があると判定されなかった場合に、入力画像の太陽電池パネルを、判定不能太陽電池パネルとして分別する。つまり、一つの学習手法で生成した一つのモデルだけで判定を行った場合、欠陥があると判定されずに良品であると判定されてしまっていたものが、本様相によると、判定不能であるとして分別される。このことから、単に一つの学習手法で生成した一つのモデルだけで判定を行う場合に比べて、精度を向上させることが可能となる。より詳細には、教師あり学習によって生成した欠陥分別モデルを用いる判定により、既知の欠陥に起因する不良品を高精度で判定可能であり、また、良品画像データ群を用いて教師なし学習によって生成した良品学習モデルを用いる判定により、未知の欠陥に起因する不良品を高精度で判定可能となる。また、このように高精度な検査を可能とすることで、材料や製造プロセスが変更されるといった外乱要因に起因して精度が一定以下に低下してしまうことを抑制できる。
(【0011】以降は省略されています)
この特許をJ-PlatPat(特許庁公式サイト)で参照する
関連特許
株式会社カネカ
カテーテル
9日前
株式会社カネカ
カテーテル
9日前
株式会社カネカ
カテーテル
9日前
株式会社カネカ
カテーテル
8日前
株式会社カネカ
カテーテル
9日前
株式会社カネカ
カテーテル
10日前
株式会社カネカ
酵母含有菓子
10日前
株式会社カネカ
シーリング材
8日前
株式会社カネカ
重量物載置架台
8日前
株式会社カネカ
太陽電池モジュール
8日前
株式会社カネカ
透湿度測定用封止装置
9日前
株式会社カネカ
気化装置及び製膜装置
9日前
株式会社カネカ
自動車用バンパー芯材
8日前
株式会社カネカ
多加水パン生地用改良剤
9日前
株式会社カネカ
繊維、及び、繊維構造体
8日前
株式会社カネカ
多加水パン生地用改良剤
9日前
株式会社カネカ
冷凍苺及びその製造方法
9日前
株式会社カネカ
建材用太陽電池モジュール
8日前
株式会社カネカ
太陽電池パネルの検査装置
4日前
株式会社カネカ
除細動用カテーテルシステム
8日前
株式会社クラレ
樹脂組成物
1日前
株式会社カネカ
コンクリート塗装用塗料組成物
9日前
株式会社カネカ
基板カセットおよび基板処理装置
9日前
株式会社カネカ
太陽電池および太陽電池製造方法
10日前
株式会社カネカ
塩化ビニル樹脂凝集粒子の製造方法
9日前
株式会社カネカ
チルド麺類用油脂組成物及びチルド麺類
4日前
株式会社カネカ
組織標本作製用の挿入具およびその利用
9日前
株式会社カネカ
メタクリル樹脂組成物及び樹脂フィルム
4日前
株式会社カネカ
熱伝導シート及び熱伝導シートの製造方法
4日前
株式会社カネカ
熱伝導シート及び熱伝導シートの製造方法
4日前
株式会社カネカ
包埋物または薄片の製造方法ならびに包埋物
10日前
株式会社カネカ
水系コーティング組成物およびその製造方法
8日前
株式会社カネカ
スチレン系樹脂押出発泡体およびその製造方法
8日前
株式会社カネカ
成膜方法、太陽電池の製造方法および太陽電池
4日前
株式会社カネカ
樹脂組成物、コーティング用組成物及び硬化物
10日前
株式会社カネカ
ポリオレフィン系樹脂発泡成形体及びその利用
8日前
続きを見る
他の特許を見る