TOP
|
特許
|
意匠
|
商標
特許ウォッチ
Twitter
他の特許を見る
公開番号
2025156043
公報種別
公開特許公報(A)
公開日
2025-10-14
出願番号
2025044143
出願日
2025-03-18
発明の名称
ファインバブルの細胞への送達方法及び装置
出願人
キヤノン株式会社
代理人
個人
,
個人
,
個人
,
個人
,
個人
主分類
C12M
1/42 20060101AFI20251002BHJP(生化学;ビール;酒精;ぶどう酒;酢;微生物学;酵素学;突然変異または遺伝子工学)
要約
【課題】 より効率的なファインバブルの細胞への送達方法及び装置を提供する。
【解決手段】 ファインバブルを含有する液体に電界を印加することで、細胞に前記ファインバブルを送達する工程を有することを特徴とするファインバブルの細胞への送達方法。
【選択図】 図1
特許請求の範囲
【請求項1】
ファインバブルを含有する液体に電界を印加することで、細胞に前記ファインバブルを送達する工程を有することを特徴とするファインバブルの細胞への送達方法。
続きを表示(約 720 文字)
【請求項2】
前記細胞と、前記ファインバブルを含有する液体と、を用意する工程を有する請求項1に記載のファインバブルの細胞への送達方法。
【請求項3】
前記ファインバブルは、ウルトラファインバブルである請求項1に記載のファインバブルの細胞への送達方法。
【請求項4】
前記ウルトラファインバブルの個数平均粒径は、200nm以下である請求項3に記載のファインバブルの細胞への送達方法。
【請求項5】
前記液体における、前記ウルトラファインバブルの個数濃度は、100億個/ml以上である請求項3に記載のファインバブルの細胞への送達方法。
【請求項6】
更に、発熱素子を発熱させて液体中に前記ウルトラファインバブルを生成する工程を有する請求項3に記載のファインバブルの細胞への送達方法。
【請求項7】
前記液体に電界を印加するための電界印加手段を有する請求項1に記載のファインバブルの細胞への送達方法。
【請求項8】
前記電界印加手段が、前記ファインバブルが細胞に対して電気泳動されるような向きに前記電界をかけるように制御される請求項7に記載のファインバブルの細胞への送達方法。
【請求項9】
前記電界印加手段が、前記電界の大きさや向きを時間的に変化するように制御される請求項7に記載のファインバブルの細胞への送達方法。
【請求項10】
前記電界印加手段は電極対を有し、前記電極対間の電位差が、1.23V以下である請求項7に記載のファインバブルの細胞への送達方法。
(【請求項11】以降は省略されています)
発明の詳細な説明
【技術分野】
【0001】
本発明は、ファインバブルの細胞への送達方法及び装置に関する。
続きを表示(約 1,100 文字)
【背景技術】
【0002】
再生医療や創薬、培養肉といった分野で、3次元培養の重要性が高まっている。3次元培養では細胞組織の内部に酸素が十分に供給されず、ネクローシスを起こしやすいという課題があった。
【0003】
特許文献1には、ウルトラファインバブルを含む培養液を用いた細胞培養方法が開示されている。
【先行技術文献】
【特許文献】
【0004】
特開2021-073989号公報
【発明の概要】
【発明が解決しようとする課題】
【0005】
しかしながら、特許文献1に開示された細胞培養方法では、細胞はウルトラファインバブルを含む培養液に浸されているのみであり、細胞へのファインバブルの送達が十分にできていない場合があった。
【0006】
本発明は上記課題に鑑みてなされたものであり、より効率的なファインバブルの細胞への送達方法及び装置を提供することである。
【課題を解決するための手段】
【0007】
上記課題を解決するために本発明のファインバブルの細胞への送達方法は、ファインバブルを含有する液体に電界を印加することで、細胞に前記ファインバブルを送達する工程を有することを特徴とする。また、ファインバブルの細胞への送達装置は、ファインバブルを含有する液体に電界を印加するための電界印加手段を有し、前記電界印加手段によって、細胞に前記ファインバブルを送達することを特徴とする。
【発明の効果】
【0008】
本発明によれば、より効率的なファインバブルの細胞への送達方法及び装置を提供することができる。
【図面の簡単な説明】
【0009】
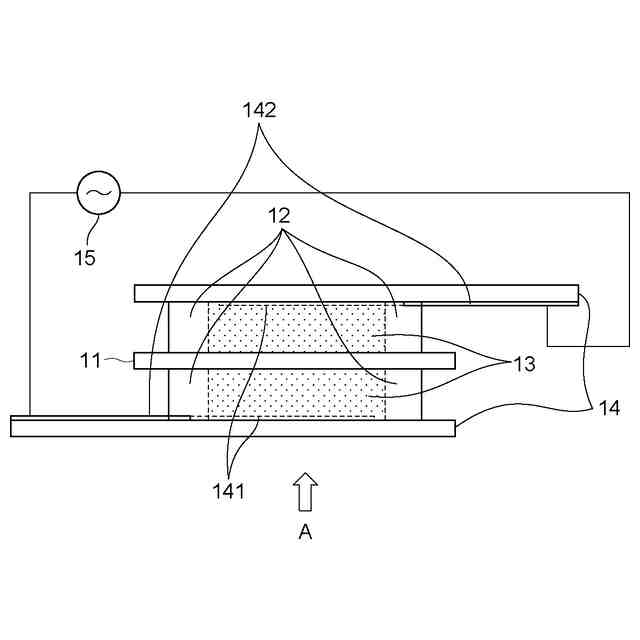
第1の実施形態におけるファインバブルを細胞に送達する装置を示す概略図である。
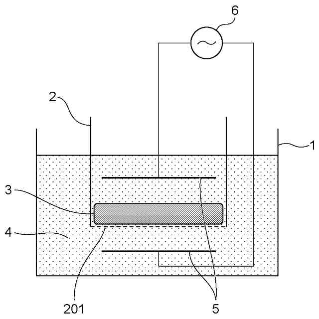
実施例1における細胞シート部材を示す概略図である。
実施例1におけるファインバブルを細胞に送達する装置を示す概略図である。
実施例1におけるファインバブルの細胞への送達を示す評価結果である。
第2の実施形態におけるファインバブルを細胞に送達する装置を示す概略図である。
【発明を実施するための形態】
【0010】
以下、本発明に係るファインバブルの細胞への送達方法及び装置を詳しく説明する。ただし、構成、構造、材料、寸法、設定などは、発明を適用する各種条件に応じて適宜変更されるべきものであり、本発明の範囲を限定する趣旨のものではない。
(【0011】以降は省略されています)
この特許をJ-PlatPat(特許庁公式サイト)で参照する
関連特許
キヤノン株式会社
トナー
14日前
キヤノン株式会社
トナー
9日前
キヤノン株式会社
トナー
9日前
キヤノン株式会社
トナー
9日前
キヤノン株式会社
測距装置
2日前
キヤノン株式会社
発光装置
21日前
キヤノン株式会社
定着装置
22日前
キヤノン株式会社
撮像装置
29日前
キヤノン株式会社
現像装置
7日前
キヤノン株式会社
現像容器
7日前
キヤノン株式会社
現像装置
7日前
キヤノン株式会社
電子機器
22日前
キヤノン株式会社
収容装置
22日前
キヤノン株式会社
記録装置
29日前
キヤノン株式会社
撮像装置
28日前
キヤノン株式会社
撮像装置
10日前
キヤノン株式会社
記録装置
14日前
キヤノン株式会社
定着装置
28日前
キヤノン株式会社
表示装置
21日前
キヤノン株式会社
電子機器
18日前
キヤノン株式会社
現像容器
7日前
キヤノン株式会社
撮像装置
14日前
キヤノン株式会社
撮影装置
7日前
キヤノン株式会社
記録装置
7日前
キヤノン株式会社
電子機器
22日前
キヤノン株式会社
定着装置
8日前
キヤノン株式会社
撮像装置
22日前
キヤノン株式会社
電子機器
16日前
キヤノン株式会社
モジュール
9日前
キヤノン株式会社
半導体装置
16日前
キヤノン株式会社
現像剤容器
15日前
キヤノン株式会社
光学センサ
9日前
キヤノン株式会社
画像形成装置
10日前
キヤノン株式会社
画像形成装置
3日前
キヤノン株式会社
映像表示装置
9日前
キヤノン株式会社
有機発光素子
28日前
続きを見る
他の特許を見る