TOP
|
特許
|
意匠
|
商標
特許ウォッチ
Twitter
他の特許を見る
10個以上の画像は省略されています。
公開番号
2025156789
公報種別
公開特許公報(A)
公開日
2025-10-15
出願番号
2024059457
出願日
2024-04-02
発明の名称
注入器具および地山補強工法
出願人
株式会社カテックス
代理人
個人
,
個人
,
個人
主分類
E21D
9/04 20060101AFI20251007BHJP(地中もしくは岩石の削孔;採鉱)
要約
【課題】人力に依ることなく注入チューブと注入ホースの接続を可能とし、隣接孔への移動を不要とする注入器具および地山補強工法を提供する。
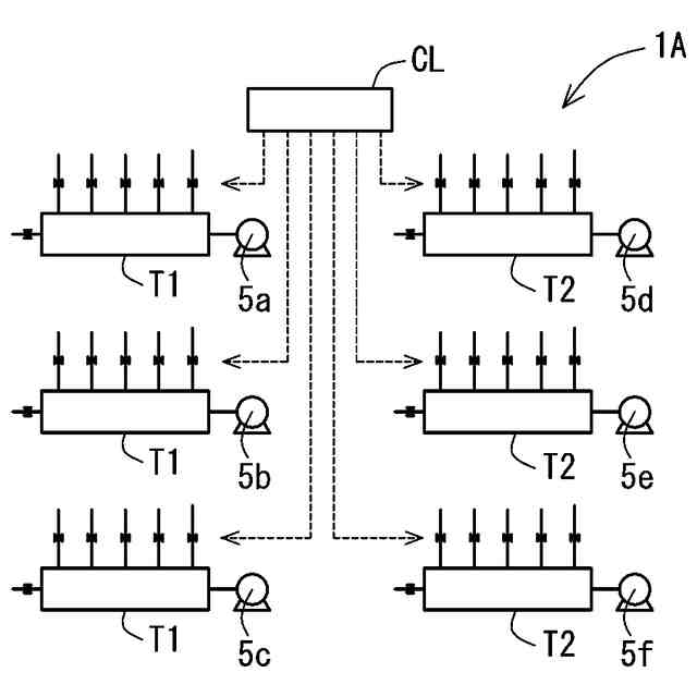
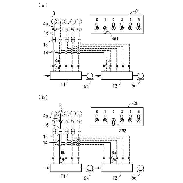
【解決手段】本注入器具1Aは、地山改良材を注入するための注入ポンプ5a、5dと接続されるサージタンクT1、T2を備え、サージタンクには、複数の吐出口7a~7eが設けられており、複数の吐出口のそれぞれには、該吐出口を開閉する開閉弁8a~8eが設けられている。さらに、作業者の操作によって各開閉弁8a~8eを開閉制御して複数の吐出口7a~7eのうちの特定の吐出口を選択的に開放させるコントローラCLを備える。
【選択図】図8
特許請求の範囲
【請求項1】
トンネルの未掘削地山に複数の長尺鋼管を打設し、前記長尺鋼管内に複数の注入チューブを挿入し、前記複数の注入チューブに地山改良材を注入し、前記長尺鋼管の外周に設けられた吐出孔から前記地山改良材を周辺地山の亀裂に浸透させ地山を補強する工法に用いられる注入器具において、
前記地山改良材を注入するための注入ポンプと接続されるサージタンクを備え、
前記サージタンクには、複数の吐出口が設けられており、
前記複数の吐出口のそれぞれには、該吐出口を開閉する開閉弁が設けられており、
作業者の操作によって各前記開閉弁を開閉制御して前記複数の吐出口のうちの特定の吐出口を選択的に開放させるコントローラを備えることを特徴とする注入器具。
続きを表示(約 850 文字)
【請求項2】
前記サージタンクには、前記注入ポンプから前記地山改良材を流入させる流入口が設けられていることを特徴とする請求項1に記載の注入器具。
【請求項3】
トンネルの未掘削地山に複数の長尺鋼管を打設し、前記長尺鋼管内に複数の注入チューブを挿入し、前記複数の注入チューブに2液混合型の地山改良材を注入し、前記長尺鋼管の外周に設けられた吐出孔から前記地山改良材を周辺地山の亀裂に浸透させ地山を補強する工法において、
前記複数の長尺鋼管の前記複数の注入チューブをトンネル上半盤まで延長し、
2以上の前記長尺鋼管の前記複数の注入チューブの末端に設けられた逆止弁を、前記地山改良材の各液が流入されるそれぞれのサージタンクに設けられた複数の吐出口を一対一で合流させた合流部のそれぞれに接続し、
作業者がコントローラを操作することで、各前記サージタンクの前記複数の吐出口のそれぞれに設けられた開閉弁を開閉制御して、前記複数の吐出口のうちの特定の吐出口を選択的に開放させることを特徴とする地山補強工法。
【請求項4】
トンネルの未掘削地山に複数の長尺鋼管を打設し、前記長尺鋼管内に複数の注入チューブを挿入し、前記複数の注入チューブに2液混合型の地山改良材を注入し、前記長尺鋼管の外周に設けられた吐出孔から前記地山改良材を周辺地山の亀裂に浸透させ地山を補強する工法において、
前記複数の長尺鋼管の前記複数の注入チューブをトンネル上半盤まで延長し、
2以上の前記長尺鋼管の前記複数の注入チューブの末端に設けられた逆止弁を、前記地山改良材の各液が合流されて流入されるサージタンクに設けられた複数の吐出口のそれぞれに接続し、
作業者がコントローラを操作することで、前記サージタンクの前記複数の吐出口のそれぞれに設けられた開閉弁を開閉制御して、前記複数の吐出口のうちの特定の吐出口を選択的に開放させることを特徴とする地山補強工法。
発明の詳細な説明
【技術分野】
【0001】
本発明はトンネル掘削時の先行地山補強工に関する。
続きを表示(約 3,000 文字)
【背景技術】
【0002】
トンネル掘削に際し、例えば図16に示されるように、トンネル2の周囲の前方地山に長尺鋼管3を打設し、この長尺鋼管3内から地山改良材を注入して地山を改良する、いわゆる長尺鋼管フォアパイリングが知られている(例えば特許文献1等を参照)。
【先行技術文献】
【特許文献】
【0003】
特開2008-075292号公報
【発明の概要】
【発明が解決しようとする課題】
【0004】
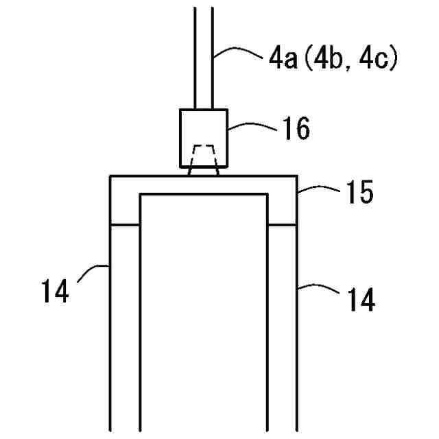
従来技術では、例えば図17に示されるように、注入時に複数の注入チューブ4a~4cを鋼管3内に挿入し、それぞれのチューブ4a~4cから地山改良材を注入する。鋼管3内に注入された地山改良材は鋼管3の外周に設けられた吐出孔3aから地山の空隙や亀裂に浸透して地山を補強する。これらのチューブ4a~4cの末端には逆止弁16が接続されており、地山改良材の注入機から延びる注入ホースの先端部と接続される。しかしながら、逆止弁16と注入ホースの先端部の接続は人力によって行う必要があり、注入終了後は隣接孔まで移動する必要があった。また、鋼管3末端部から露出したチューブ4a~4cの長さは30~50cmであり、接続時には切羽直近まで近づく必要があるため、地山の肌落ちや崩落時などの落石による罹災の危険性があった。
【0005】
本発明は上記問題を解決するためになされたものであり、人力に依ることなく注入チューブと注入ホースの接続を可能とし、隣接孔への移動を不要とする注入器具および地山補強工法を提供することを目的とする。
【課題を解決するための手段】
【0006】
本発明は以下の通りである。
1.トンネルの未掘削地山に複数の長尺鋼管を打設し、前記長尺鋼管内に複数の注入チューブを挿入し、前記複数の注入チューブに地山改良材を注入し、前記長尺鋼管の外周に設けられた吐出孔から前記地山改良材を周辺地山の亀裂に浸透させ地山を補強する工法に用いられる注入器具において、
前記地山改良材を注入するための注入ポンプと接続されるサージタンクを備え、
前記サージタンクには、複数の吐出口が設けられており、
前記複数の吐出口のそれぞれには、該吐出口を開閉する開閉弁が設けられており、
作業者の操作によって各前記開閉弁を開閉制御して前記複数の吐出口のうちの特定の吐出口を選択的に開放させるコントローラを備えることを特徴とする注入器具。
2.前記サージタンクには、前記注入ポンプから前記地山改良材を流入させる流入口が設けられていることを特徴とする上記1.に記載の注入器具。
3.トンネルの未掘削地山に複数の長尺鋼管を打設し、前記長尺鋼管内に複数の注入チューブを挿入し、前記複数の注入チューブに2液混合型の地山改良材を注入し、前記長尺鋼管の外周に設けられた吐出孔から前記地山改良材を周辺地山の亀裂に浸透させ地山を補強する工法において、
前記複数の長尺鋼管の前記複数の注入チューブをトンネル上半盤まで延長し、
2以上の前記長尺鋼管の前記複数の注入チューブの末端に設けられた逆止弁を、前記地山改良材の各液が流入されるそれぞれのサージタンクに設けられた複数の吐出口を一対一で合流させた合流部のそれぞれに接続し、
作業者がコントローラを操作することで、各前記サージタンクの前記複数の吐出口のそれぞれに設けられた開閉弁を開閉制御して、前記複数の吐出口のうちの特定の吐出口を選択的に開放させることを特徴とする地山補強工法。
4.トンネルの未掘削地山に複数の長尺鋼管を打設し、前記長尺鋼管内に複数の注入チューブを挿入し、前記複数の注入チューブに2液混合型の地山改良材を注入し、前記長尺鋼管の外周に設けられた吐出孔から前記地山改良材を周辺地山の亀裂に浸透させ地山を補強する工法において、
前記複数の長尺鋼管の前記複数の注入チューブをトンネル上半盤まで延長し、
2以上の前記長尺鋼管の前記複数の注入チューブの末端に設けられた逆止弁を、前記地山改良材の各液が合流されて流入されるサージタンクに設けられた複数の吐出口のそれぞれに接続し、
作業者がコントローラを操作することで、前記サージタンクの前記複数の吐出口のそれぞれに設けられた開閉弁を開閉制御して、前記複数の吐出口のうちの特定の吐出口を選択的に開放させることを特徴とする地山補強工法。
【発明の効果】
【0007】
本発明によれば、手元のコントローラで注入する注入ホースを切り替えることができるため、作業員が切羽直近まで近づく必要がなくなり、注入作業の安全性が向上する。また、注入チューブとミキシングユニットや注入ホースの接続および取り外しに係る作業員が不要となるため、注入作業の省人化が図られる。
【図面の簡単な説明】
【0008】
本発明について、本発明による典型的な実施形態の非限定的な例を挙げ、言及された複数の図面を参照しつつ以下の詳細な記述にて更に説明するが、同様の参照符号は図面のいくつかの図を通して同様の部材を示す。
実施形態1に係る注入器具を模式的に示す全体図である。
実施形態1に係るサージタンクの正面図である。
実施形態1に係るコントローラの正面図である。
実施形態1に係る注入機の正面図である。
実施形態1に係る地山補強工法の説明図である。
地山補強工法の説明図である。
図6の要部拡大図である。
地山補強工法の説明図であり、(a)は注入孔での注入作業を示し、(b)は隣接する注入孔での注入作業を示す。
実施形態2に係る注入器具を模式的に示す全体図である。
実施形態2に係るサージタンクの正面図である。
実施形態2に係るコントローラの正面図である。
実施形態2に係る地山補強工法の説明図である。
地山補強工法の説明図である。
図13の要部拡大図である。
地山補強工法の説明図であり、(a)は注入孔での注入作業を示し、(b)は隣接する注入孔での注入作業を示す。
一般的な地山補強工法の説明図であり、(a)はトンネル軸方向に沿う縦断面を示し、(b)トンネル軸方向と直交する横断面を示す。
一般的な長尺鋼管の打設形態の説明図である。
【発明を実施するための形態】
【0009】
ここで示される事項は例示的なものおよび本発明の実施形態を例示的に説明するためのものであり、本発明の原理と概念的な特徴とを最も有効に且つ難なく理解できる説明であると思われるものを提供する目的で述べたものである。この点で、本発明の根本的な理解のために必要である程度以上に本発明の構造的な詳細を示すことを意図してはおらず、図面と合わせた説明によって本発明の幾つかの形態が実際にどのように具現化されるかを当業者に明らかにするものである。
【0010】
以下、図面を用いて実施形態1、2により本発明を具体的に説明する。
(【0011】以降は省略されています)
この特許をJ-PlatPat(特許庁公式サイト)で参照する
関連特許
株式会社カテックス
注入器具および地山補強工法
3日前
株式会社カテックス
長尺鋼管の接続器具及び接続方法
3日前
個人
掘削機
4か月前
株式会社奥村組
地山探査装置
1か月前
株式会社奥村組
地山探査装置
1か月前
株式会社奥村組
地山探査装置
1か月前
株式会社奥村組
地山探査方法
1か月前
株式会社笠原建設
横孔形成方法
5か月前
株式会社奥村組
シールド掘進機
22日前
株式会社奥村組
シールド掘進機
7か月前
株式会社奥村組
シールド掘進機
4か月前
日特建設株式会社
ボーリング装置
6か月前
岐阜工業株式会社
トンネルセントル
22日前
花王株式会社
岩盤の掘削方法
3か月前
株式会社奥村組
テールシール試験装置
7か月前
株式会社奥村組
セグメントの組立方法
1か月前
個人
オープンシールド機
1か月前
個人
オープンシールド機
1か月前
株式会社奥村組
泥土圧シールド掘進機
5か月前
株式会社熊谷組
天井板撤去装置
5か月前
個人
掘削機、及び、資源回収システム
5か月前
大阪瓦斯株式会社
牽引装置
5か月前
個人
箱形ルーフおよびその施工法
15日前
日特建設株式会社
削孔方法及び削孔装置
7か月前
株式会社ケー・エフ・シー
剥落防止構造
6か月前
株式会社大林組
インバート更新工法
7か月前
株式会社金澤製作所
発進坑口のエントランス装置
4か月前
デンカ株式会社
静的破砕方法
1か月前
個人
メタンハイドレート等海底鉱物資源の採取方法
2か月前
大阪瓦斯株式会社
切欠開裂治具
5か月前
地中空間開発株式会社
トンネル掘削機
8日前
大成建設株式会社
トンネルの褄部構造
6か月前
株式会社ケー・エフ・シー
防水シート探傷装置
7か月前
岐阜工業株式会社
トンネルセントルの妻板装置
2か月前
株式会社奥村組
電力線通信設備を用いた推進方法
8か月前
株式会社ケー・エフ・シー
トンネル水圧調整装置
29日前
続きを見る
他の特許を見る