TOP
|
特許
|
意匠
|
商標
特許ウォッチ
Twitter
他の特許を見る
10個以上の画像は省略されています。
公開番号
2025156890
公報種別
公開特許公報(A)
公開日
2025-10-15
出願番号
2024059632
出願日
2024-04-02
発明の名称
通信装置およびその制御方法
出願人
キヤノン株式会社
代理人
弁理士法人大塚国際特許事務所
主分類
H04W
16/28 20090101AFI20251007BHJP(電気通信技術)
要約
【課題】空間再利用(SR)機能をマルチAP協調構成で効果的に使用する。
【解決手段】マルチAP協調構成におけるシェアリングAPとして動作する通信装置は、マルチAP協調構成でサウンディング信号を送信する送信手段と、サウンディング信号を受信した複数のSTAそれぞれから受信結果を含む応答信号を受信する受信手段と、受信結果に基づいて、複数のSTAそれぞれが属するBSSを構築するAPにおける送信電力制御およびビームフォーミング可否を決定する決定手段と、を備える。
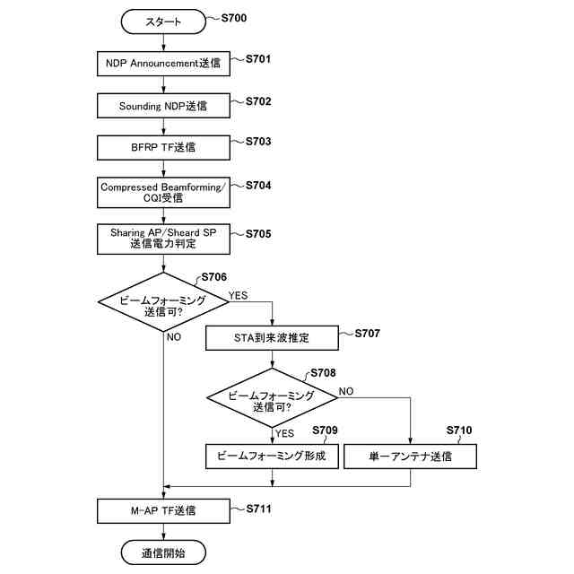
【選択図】図5
特許請求の範囲
【請求項1】
IEEE802.11シリーズ規格に対応し、他のアクセスポイント(AP)と協働して動作するマルチAP協調構成におけるシェアリングAPとして動作する通信装置であって、
マルチAP協調構成でサウンディング信号を送信する送信手段と、
サウンディング信号を受信した複数のステーション(STA)それぞれから受信結果を含む応答信号を受信する受信手段と、
前記受信結果に基づいて、前記複数のSTAそれぞれが属する基本サービスセット(BSS)を構築するAPにおける送信電力制御およびビームフォーミング可否を決定する決定手段と、
を備えることを特徴とする通信装置。
続きを表示(約 1,600 文字)
【請求項2】
前記サウンディング信号は、ヌルデータパケット(NDP)信号であり、
前記受信結果は、それぞれのSTAが受信したサウンディング信号に基づき決定されたチャネル品質指標(CQI)を含む
ことを特徴とする請求項1に記載の通信装置。
【請求項3】
前記CQIは、それぞれのSTAにおいて、自身が属するBSSを構築するAPが送信したサウンディング信号の他のBSSを構築するAPが送信したサウンディング信号に対する受信電力強度比率である
ことを特徴とする請求項2に記載の通信装置。
【請求項4】
前記決定手段は、送信電力を低下させると決定したAPに対して、ビームフォーミングを行わないと決定する
ことを特徴とする請求項1に記載の通信装置。
【請求項5】
前記応答信号を送信したSTAの方向を推定する推定手段をさらに備え、
前記通信装置は、該通信装置に対して前記決定手段によりビームフォーミングを行ってもよいと決定されかつ自BSS内のSTAと略同一の方向に自BSS外のSTAが存在しない場合に、ビームフォーミング送信を行う
ことを特徴とする請求項1に記載の通信装置。
【請求項6】
IEEE802.11シリーズ規格に対応し、他のアクセスポイント(AP)と協働して動作するマルチAP協調構成におけるシェアードAPとして動作する通信装置であって、
マルチAP協調構成のシェアリングAPからの第1の指示に基づいてサウンディング信号を送信する送信手段と、
サウンディング信号を受信した複数のステーション(STA)それぞれから受信結果を含む応答信号を受信した前記シェアリングAPから、前記通信装置における送信電力制御およびビームフォーミング可否の第2の指示を受信する受信手段と、
を備えることを特徴とする通信装置。
【請求項7】
前記応答信号を受信し該応答信号を送信したSTAの方向を推定する推定手段をさらに備え、
前記通信装置は、前記第2の指示において前記通信装置に対してビームフォーミングを行ってもよいことが示されかつ自BSS内のSTAと略同一の方向に自BSS外のSTAが存在しない場合に、ビームフォーミング送信を行う
ことを特徴とする請求項6に記載の通信装置。
【請求項8】
IEEE802.11シリーズ規格に対応し、他のアクセスポイント(AP)と協働して動作するマルチAP協調構成におけるシェアリングAPとして動作する通信装置の制御方法であって、
マルチAP協調構成でサウンディング信号を送信する送信工程と、
サウンディング信号を受信した複数のステーション(STA)それぞれから受信結果を含む応答信号を受信する受信工程と、
前記受信結果に基づいて、前記複数のSTAそれぞれが属する基本サービスセット(BSS)を構築するAPにおける送信電力制御およびビームフォーミング可否を決定する決定工程と、
を含むことを特徴とする制御方法。
【請求項9】
IEEE802.11シリーズ規格に対応し、他のアクセスポイント(AP)と協働して動作するマルチAP協調構成におけるシェアードAPとして動作する通信装置の制御方法であって、
マルチAP協調構成のシェアリングAPからの第1の指示に基づいてサウンディング信号を送信する送信工程と、
サウンディング信号を受信した複数のステーション(STA)それぞれから受信結果を含む応答信号を受信した前記シェアリングAPから、前記通信装置における送信電力制御およびビームフォーミング可否の第2の指示を受信する受信工程と、
を含むことを特徴とする制御方法。
【請求項10】
無線通信部を有するコンピュータに、請求項8または9に記載の制御方法を実行させるためのプログラム。
発明の詳細な説明
【技術分野】
【0001】
本発明は、複数のアクセスポイントの協調動作における通信制御に関するものである。
続きを表示(約 1,700 文字)
【背景技術】
【0002】
近年、無線ローカルエリアネットワーク(LAN)等の通信技術の開発が進められている。無線LANの主要な通信規格として、IEEE802.11シリーズ規格が知られている。IEEE802.11シリーズ規格には、IEEE802.11a/b/g/n/ac/ax/be等の規格が含まれる。また、後継規格として、IEEE802.11bnタスクグループ(TG)が活動している。
【0003】
IEEE802.11be規格(以下11be規格と略す)ではスループット向上を実現するために、複数のアクセスポイント(AP)が協調動作するマルチAP協調構成が新たに規定された。そして、IEEE802.11bn規格(以下11bn規格と略す)ではマルチAP協調構成における通信の信頼性向上が検討されている。協調構成を効率的に運用するためには、アクセスポイント(AP)とステーション(STA)との間で、サウンディング手順をおこなうのが一般的である。しかしながら、現在の11be規格では、マルチAP協調構成におけるサウンディング手順については規定されていない。
【0004】
特許文献1には、複数のAPからヌルデータパケット(NDP)を「サウンディングパケット」として送信し、サウンディングパケットを受信したSTAがチャネル状態(CQIなど)を含むフィードバックパケットをAPに送信する技術が提案されている。そして、APが、協調ビームフォーミングや協調MIMOを実現するために、受信したフィードバック情報を利用することが提案されている。
【先行技術文献】
【特許文献】
【0005】
特表2020-515112号公報
【発明の概要】
【発明が解決しようとする課題】
【0006】
ところで、IEEE802.11シリーズ規格では、周波数利用効率を向上させるために空間的なアイソレーションを用いて同一周波数同一チャンネルで通信をおこなう空間再利用(SR)機能が規定されている。しかしながら、マルチAP協調構成におけるサウンディング手順については規定されていないためSR機能を有効に利用することが困難である。
【0007】
本発明は、このような問題に鑑みてなされたものであり、SR機能をマルチAP協調構成で効果的に使用する技術を提供することを目的としている。
【課題を解決するための手段】
【0008】
上述の問題点を解決するため、本発明に係る通信装置は以下の構成を備える。すなわち、IEEE802.11シリーズ規格に対応し、他のアクセスポイント(AP)と協働して動作するマルチAP協調構成におけるシェアリングAPとして動作する通信装置は、
マルチAP協調構成でサウンディング信号を送信する送信手段と、
サウンディング信号を受信した複数のステーション(STA)それぞれから受信結果を含む応答信号を受信する受信手段と、
前記受信結果に基づいて、前記複数のSTAそれぞれが属する基本サービスセット(BSS)を構築するAPにおける送信電力制御およびビームフォーミング可否を決定する決定手段と、
を備える。
【0009】
また、IEEE802.11シリーズ規格に対応し、他のアクセスポイント(AP)と協働して動作するマルチAP協調構成におけるシェアードAPとして動作する通信装置では、
マルチAP協調構成のシェアリングAPからの第1の指示に基づいてサウンディング信号を送信する送信手段と、
サウンディング信号を受信した複数のステーション(STA)それぞれから受信結果を含む応答信号を受信した前記シェアリングAPから、前記通信装置における送信電力制御およびビームフォーミング可否の第2の指示を受信する受信手段と、
を備える。
【発明の効果】
【0010】
本発明によれば、SR機能をマルチAP協調構成で効果的に使用する技術を提供することができる。
【図面の簡単な説明】
(【0011】以降は省略されています)
この特許をJ-PlatPat(特許庁公式サイト)で参照する
関連特許
キヤノン株式会社
トナー
3日前
キヤノン株式会社
トナー
16日前
キヤノン株式会社
トナー
16日前
キヤノン株式会社
トナー
16日前
キヤノン株式会社
トナー
21日前
キヤノン株式会社
記録装置
14日前
キヤノン株式会社
記録装置
21日前
キヤノン株式会社
定着装置
15日前
キヤノン株式会社
撮像装置
21日前
キヤノン株式会社
現像装置
7日前
キヤノン株式会社
現像装置
14日前
キヤノン株式会社
現像容器
14日前
キヤノン株式会社
撮影装置
14日前
キヤノン株式会社
現像容器
14日前
キヤノン株式会社
現像装置
14日前
キヤノン株式会社
撮像装置
17日前
キヤノン株式会社
測距装置
9日前
キヤノン株式会社
モジュール
16日前
キヤノン株式会社
光学センサ
16日前
キヤノン株式会社
現像剤容器
22日前
キヤノン株式会社
画像形成装置
14日前
キヤノン株式会社
画像形成装置
7日前
キヤノン株式会社
画像形成装置
10日前
キヤノン株式会社
映像表示装置
16日前
キヤノン株式会社
画像形成装置
10日前
キヤノン株式会社
画像形成装置
8日前
キヤノン株式会社
カートリッジ
14日前
キヤノン株式会社
電子写真装置
7日前
キヤノン株式会社
画像形成装置
8日前
キヤノン株式会社
画像形成装置
7日前
キヤノン株式会社
画像形成装置
8日前
キヤノン株式会社
カートリッジ
14日前
キヤノン株式会社
画像形成装置
15日前
キヤノン株式会社
画像形成装置
7日前
キヤノン株式会社
画像処理装置
14日前
キヤノン株式会社
画像形成装置
14日前
続きを見る
他の特許を見る