TOP
|
特許
|
意匠
|
商標
特許ウォッチ
Twitter
他の特許を見る
10個以上の画像は省略されています。
公開番号
2025157006
公報種別
公開特許公報(A)
公開日
2025-10-15
出願番号
2024059822
出願日
2024-04-02
発明の名称
容器、液体保持体、プリフォーム、容器部品の製造方法、容器の製造方法、及び液体保持体の製造方法
出願人
キヤノン株式会社
代理人
弁理士法人近島国際特許事務所
主分類
B65D
1/02 20060101AFI20251007BHJP(運搬;包装;貯蔵;薄板状または線条材料の取扱い)
要約
【課題】口部の直径方向の寸法精度を向上させるのに有利な技術を提供する。
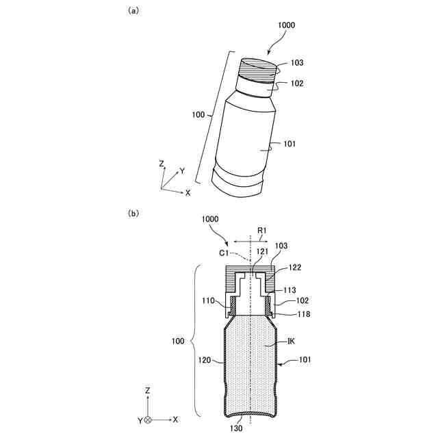
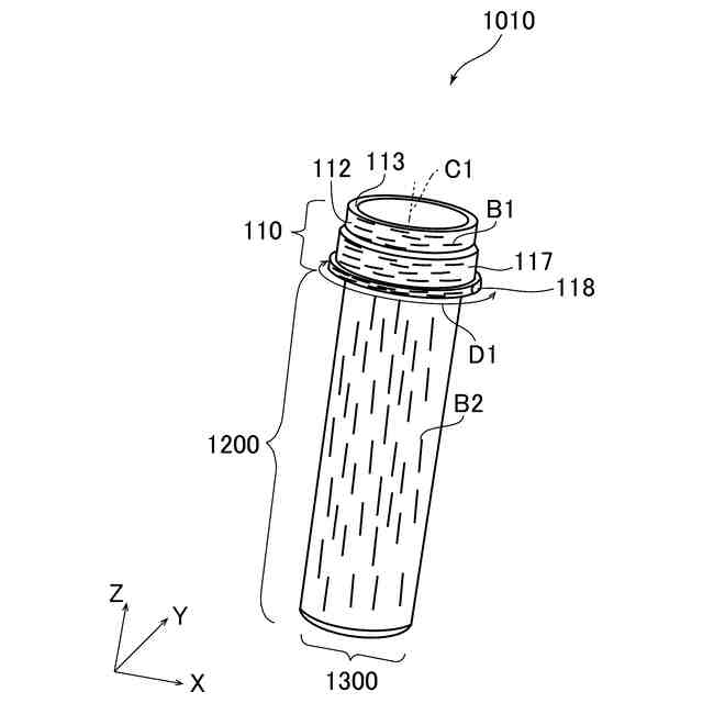
【解決手段】容器は、開口空間を囲む口部、前記開口空間を介して外側空間に連通する内側空間を囲む胴部、及び前記内側空間を介して前記開口空間に対向する底部を有する第1部品を備える。前記口部と前記胴部とは、連続した樹脂層を含み、前記口部の側壁は、前記樹脂層の成形時のゲート痕を有する。
【選択図】図2
特許請求の範囲
【請求項1】
開口空間を囲む口部、前記開口空間を介して外側空間に連通する内側空間を囲む胴部、及び前記内側空間を介して前記開口空間に対向する底部を有する第1部品を備える容器であって、
前記口部と前記胴部とは、連続した樹脂層を含み、
前記口部の側壁は、前記樹脂層の成形時のゲート痕を有することを特徴とする容器。
続きを表示(約 1,000 文字)
【請求項2】
開口空間を囲む口部、前記開口空間を介して外側空間に連通する内側空間を囲む胴部、及び前記内側空間を介して前記開口空間に対向する底部を有する第1部品を備える容器であって、
前記口部は樹脂層を含み、
前記口部の側壁は、前記樹脂層の成形時のゲート痕を有し、
前記ゲート痕の前記口部の周方向における幅は、前記口部の外周長の長さよりも小さいことを特徴とする容器。
【請求項3】
開口空間を囲む口部、前記開口空間を介して外側空間に連通する内側空間を囲む胴部、及び前記内側空間を介して前記開口空間に対向する底部を有する第1部品を備える容器であって、
前記口部は前記口部の周方向に配向した第1成分を含有することを特徴とする容器。
【請求項4】
前記開口空間、前記内側空間及び前記底部を通る直線に垂直な方向において、前記口部の前記樹脂層の厚さが前記胴部の前記樹脂層の厚さよりも大きいことを特徴とする請求項1又は2に記載の容器。
【請求項5】
前記方向において、前記口部の前記樹脂層の厚さは、前記胴部の前記樹脂層の厚さの1.25倍以上であり30倍以下であることを特徴とする請求項4に記載の容器。
【請求項6】
前記開口空間、前記内側空間及び前記底部を通る直線に垂直な方向において、前記胴部の内寸は前記口部の外寸以上であることを特徴とする請求項1乃至3のいずれか1項に記載の容器。
【請求項7】
前記口部に結合された第2部品を更に備えることを特徴とする請求項1乃至3のいずれか1項に記載の容器。
【請求項8】
前記口部に結合された第2部品を更に備え、
前記口部は、前記第2部品に接触する接触面を含む部分を有し、
前記口部の前記樹脂層の厚さは、前記口部の前記部分の厚さであることを特徴とする請求項4に記載の容器。
【請求項9】
前記口部に結合された第2部品を更に備え、
前記ゲート痕は前記第2部品で覆われていることを特徴とする請求項1又は2に記載の容器。
【請求項10】
前記口部に結合された第2部品を更に備え、
前記口部は、前記第2部品に接触する接触面を含む部分を有し、
前記ゲート痕は前記接触面以外の位置に配置されていることを特徴とする請求項1又は2に記載の容器。
(【請求項11】以降は省略されています)
発明の詳細な説明
【技術分野】
【0001】
本開示は、容器、プリフォーム、液体保持体、容器部品の製造方法、容器の製造方法、及び液体保持体の製造方法に関する。
続きを表示(約 1,600 文字)
【背景技術】
【0002】
口部及び胴部を有する成形品の成形方法の1つとして、射出成形法が知られている。特許文献1には、口部の端面にゲート痕が形成され、口部の外周面に、外周面から内周面に向かって凹む凹部が形成され、ゲート痕と凹部とが高さ方向において対向する射出成形品が開示されている。
【0003】
また、特許文献2には、プリフォームを射出成形した後、プリフォームを延伸ブロー成形する方法が開示されている。特許文献2には、プリフォームに対応する形状のキャビティを有する成形型が開示されており、成形型は、口部の側壁に対応する位置に接続されたリング状の上部ゲートと、底部に対応する位置に接続された下部ゲートと、を有する。そして、特許文献2には、下部ゲートからポリエステル樹脂及びバリヤー性樹脂をキャビティに射出し、リング状の上部ゲートから耐熱性樹脂をキャビティに射出することが開示されている。特許文献2に開示されたプリフォームは、口部が耐熱性樹脂層とポリエステル樹脂層とからなり、胴部がポリエステル樹脂層とバリヤー性樹脂層とからなる。
【先行技術文献】
【特許文献】
【0004】
特開2022-11654号公報
特開平4-49010号公報
【発明の概要】
【発明が解決しようとする課題】
【0005】
しかしながら、成形品を成形型から取り出した際に、成形品が後収縮により変形することがある。特に、成形品の口部には、口部の直径方向において、高い寸法精度が要求されており、後収縮による口部の変形量が小さいことが望まれている。
【0006】
本開示は、口部の直径方向の寸法精度を向上させるのに有利な技術を提供する。
【課題を解決するための手段】
【0007】
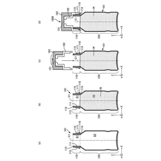
本開示の第1態様は、開口空間を囲む口部、前記開口空間を介して外側空間に連通する内側空間を囲む胴部、及び前記内側空間を介して前記開口空間に対向する底部を有する第1部品を備える容器であって、前記口部と前記胴部とは、連続した樹脂層を含み、前記口部の側壁は、前記樹脂層の成形時のゲート痕を有することを特徴とする容器である。
【0008】
本開示の第2態様は、開口空間を囲む口部、前記開口空間を介して外側空間に連通する内側空間を囲む胴部、及び前記内側空間を介して前記開口空間に対向する底部を有する第1部品を備える容器であって、前記口部は樹脂層を含み、前記口部の側壁は、前記樹脂層の成形時のゲート痕を有し、前記ゲート痕の前記口部の周方向における幅は、前記口部の外周長の長さよりも小さいことを特徴とする容器である。
【0009】
本開示の第3態様は、開口空間を囲む口部、前記開口空間を介して外側空間に連通する内側空間を囲む胴部、及び前記内側空間を介して前記開口空間に対向する底部を有する第1部品を備える容器であって、前記口部は前記口部の周方向に配向した第1成分を含有することを特徴とする容器である。
【0010】
本開示の第4態様は、開口空間を囲む口部、前記開口空間を介して外側空間に連通する内側空間を囲む胴部、及び前記内側空間を介して開口空間に対向する底部を有する第1部品と、前記口部に結合した第2部品と、を備える容器であって、前記第1部品は、互いに接合した第1樹脂層と第2樹脂層と、を含み、前記口部が前記第1樹脂層を含み、前記胴部が前記第1樹脂層及び前記第2樹脂層を含み、前記底部が前記第1樹脂層及び前記第2樹脂層を含み、前記第2部品が前記口部の前記第1樹脂層に接触しており、前記胴部の前記第1樹脂層と前記胴部の前記第2樹脂層とが、前記開口空間、前記内側空間及び前記底部を通る直線に垂直な方向において互いに重なっていることを特徴とする容器である。
(【0011】以降は省略されています)
この特許をJ-PlatPat(特許庁公式サイト)で参照する
関連特許
キヤノン株式会社
トナー
15日前
キヤノン株式会社
トナー
10日前
キヤノン株式会社
トナー
10日前
キヤノン株式会社
トナー
10日前
キヤノン株式会社
撮像装置
11日前
キヤノン株式会社
定着装置
9日前
キヤノン株式会社
記録装置
8日前
キヤノン株式会社
電子機器
19日前
キヤノン株式会社
撮影装置
8日前
キヤノン株式会社
発光装置
22日前
キヤノン株式会社
定着装置
29日前
キヤノン株式会社
表示装置
22日前
キヤノン株式会社
収容装置
23日前
キヤノン株式会社
現像容器
8日前
キヤノン株式会社
現像装置
8日前
キヤノン株式会社
現像容器
8日前
キヤノン株式会社
現像装置
8日前
キヤノン株式会社
測距装置
3日前
キヤノン株式会社
定着装置
23日前
キヤノン株式会社
電子機器
23日前
キヤノン株式会社
撮像装置
23日前
キヤノン株式会社
電子機器
23日前
キヤノン株式会社
記録装置
15日前
キヤノン株式会社
電子機器
17日前
キヤノン株式会社
撮像装置
15日前
キヤノン株式会社
現像装置
1日前
キヤノン株式会社
モジュール
10日前
キヤノン株式会社
光学センサ
10日前
キヤノン株式会社
現像剤容器
16日前
キヤノン株式会社
半導体装置
17日前
キヤノン株式会社
画像形成装置
23日前
キヤノン株式会社
画像形成装置
23日前
キヤノン株式会社
情報処理装置
8日前
キヤノン株式会社
カートリッジ
8日前
キヤノン株式会社
画像形成装置
8日前
キヤノン株式会社
画像形成装置
8日前
続きを見る
他の特許を見る