TOP
|
特許
|
意匠
|
商標
特許ウォッチ
Twitter
他の特許を見る
10個以上の画像は省略されています。
公開番号
2025157192
公報種別
公開特許公報(A)
公開日
2025-10-15
出願番号
2025062972
出願日
2025-04-07
発明の名称
端末及び通信方法
出願人
株式会社NTTドコモ
代理人
弁理士法人ITOH
主分類
H04W
72/0446 20230101AFI20251007BHJP(電気通信技術)
要約
【課題】NTN(Non-Terrestrial Network)環境において繰り返し送信を適用すること。
【解決手段】端末は、NTN(Non-Terrestrial Network)環境において、イニシャルアクセス完了後、又は、RRC(Radio Resource Control)コネクテッドモード中、又は、RRC再接続手順中に、SIB1(System Information Block 1)をスケジューリングするPDCCH(Physical Downlink Control Channel)に繰り返しが適用されるか否かを特定する制御部と、前記特定した繰り返しの適用有無に基づいて、前記PDCCHを受信する受信部とを有し、前記受信部は、前記PDCCHに基づいて、前記SIB1を受信する。
【選択図】図6
特許請求の範囲
【請求項1】
NTN(Non-Terrestrial Network)環境において、イニシャルアクセス完了後、又は、RRC(Radio Resource Control)コネクテッドモード中、又は、RRC再接続手順中に、SIB1(System Information Block 1)をスケジューリングするPDCCH(Physical Downlink Control Channel)に繰り返しが適用されるか否かを特定する制御部と、
前記特定した繰り返しの適用有無に基づいて、前記PDCCHを受信する受信部とを有し、
前記受信部は、前記PDCCHに基づいて、前記SIB1を受信する端末。
続きを表示(約 840 文字)
【請求項2】
前記制御部は、前記繰り返しが適用されるか否かを示す通知を、MIB(Master Information Block)以外のシグナリングから取得する請求項1記載の端末。
【請求項3】
前記制御部は、前記繰り返しが適用されるか否かを示す通知を、SIB、UE(User Equipment)固有RRCシグナリング、MAC-CE(Medium Access Control - Control Element)又はDCI(Downlink Control Information)から取得する請求項1記載の端末。
【請求項4】
前記制御部は、イニシャルアクセス後、又は、RRCコネクテッドモード中、又は、RRC再接続手順中に、MIB(Master Information Block)をモニタリングする請求項1記載の端末。
【請求項5】
前記制御部は、イニシャルアクセス後、又は、RRCコネクテッドモード中、又は、RRC再接続手順中に、MIB(Master Information Block)をモニタリングして、前記繰り返しが適用されるか否かを示す通知を前記MIBから取得する請求項1記載の端末。
【請求項6】
NTN(Non-Terrestrial Network)環境において、イニシャルアクセス完了後、又は、RRC(Radio Resource Control)コネクテッドモード中、又は、RRC再接続手順中に、SIB1(System Information Block 1)をスケジューリングするPDCCH(Physical Downlink Control Channel)に繰り返しが適用されるか否かを特定する手順と、
前記特定した繰り返しの適用有無に基づいて、前記PDCCHを受信する手順と、
前記PDCCHに基づいて、前記SIB1を受信する手順とを端末が実行する通信方法。
発明の詳細な説明
【技術分野】
【0001】
本発明は、無線通信システムにおける端末及び通信方法に関する。
続きを表示(約 1,900 文字)
【背景技術】
【0002】
LTE(Long Term Evolution)の後継システムであるNR(New Radio)(「5G」ともいう。)においては、要求条件として、大容量のシステム、高速なデータ伝送速度、低遅延、多数の端末の同時接続、低コスト、省電力等を満たす技術が検討されている(例えば非特許文献1)。
【0003】
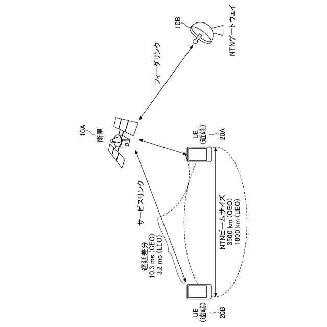
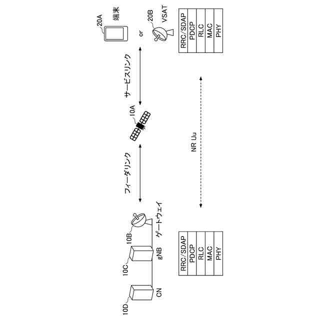
また現在、NTN(Non-Terrestrial Network)が検討されている。NTNとは、衛星等の非地上型ネットワークを使用して、地上型5Gネットワークでは主にコスト面でカバーできないエリアにサービスを提供するものである(例えば非特許文献2及び非特許文献3)。
【先行技術文献】
【非特許文献】
【0004】
3GPP TS 38.300 V18.3.0 (2024-09)
3GPP TR 38.821 V16.2.0 (2023-03)
小西 他,"HAPS移動通信システムにおける下りリンク周波数共用に関する一検討",電子情報通信学会総合大会,B-17-1,2020年
3GPP TS 38.211 V18.4.0 (2024-09)
3GPP TS 38.213 V18.4.0 (2024-09)
3GPP TS 38.214 V18.4.0 (2024-09)
3GPP TS 38.321 V18.3.0 (2024-09)
【発明の概要】
【発明が解決しようとする課題】
【0005】
NTNは、上空の基地局と端末間の距離が非常に大きい環境であり、DL(Downlink)のカバレッジ強化が検討されている。NTN環境では、PDCCH(Physical Downlink Shared Channel)受信に際し十分なBLER(Block error rate)パフォーマンスが確保されない場合が発生し得る。そこで、PDCCHのカバレッジを拡張するために、繰り返し送信を適用することが想定される。一方で、PDCCHに繰り返し送信が適用されるか否かをUE側で決定する必要がある。
【0006】
本発明は上記の点に鑑みてなされたものであり、NTN(Non-Terrestrial Network)環境において繰り返し送信を適用することを目的とする。
【課題を解決するための手段】
【0007】
開示の技術によれば、NTN(Non-Terrestrial Network)環境において、イニシャルアクセス完了後、又は、RRC(Radio Resource Control)コネクテッドモード中、又は、RRC再接続手順中に、SIB1(System Information Block 1)をスケジューリングするPDCCH(Physical Downlink Control Channel)に繰り返しが適用されるか否かを特定する制御部と、前記特定した繰り返しの適用有無に基づいて、前記PDCCHを受信する受信部とを有し、前記受信部は、前記PDCCHに基づいて、前記SIB1を受信する端末が提供される。
【発明の効果】
【0008】
開示の技術によれば、NTN(Non-Terrestrial Network)環境において繰り返し送信を適用することができる。
【図面の簡単な説明】
【0009】
NTNの例(1)を示す図である。
NTNの例(2)を示す図である。
NTNの例(3)を示す図である。
NTNの例(4)を示す図である。
本発明の実施の形態における繰り返し送信の例を示す図である。
本発明の実施の形態における繰り返し送信の例(1)を説明するためのフローチャートである。
本発明の実施の形態における繰り返し送信の例(2)を説明するためのフローチャートである。
本発明の実施の形態における基地局10の機能構成の一例を示す図である。
本発明の実施の形態における端末20の機能構成の一例を示す図である。
本発明の実施の形態における基地局10又は端末20のハードウェア構成の一例を示す図である。
【発明を実施するための形態】
【0010】
以下、図面を参照して本発明の実施の形態を説明する。なお、以下で説明する実施の形態は一例であり、本発明が適用される実施の形態は、以下の実施の形態に限られない。
(【0011】以降は省略されています)
この特許をJ-PlatPat(特許庁公式サイト)で参照する
関連特許
株式会社NTTドコモ
端末
6日前
株式会社NTTドコモ
端末
5日前
株式会社NTTドコモ
端末
6日前
株式会社NTTドコモ
端末
6日前
株式会社NTTドコモ
端末
5日前
株式会社NTTドコモ
端末
5日前
株式会社NTTドコモ
端末
5日前
株式会社NTTドコモ
端末
5日前
株式会社NTTドコモ
端末
6日前
株式会社NTTドコモ
基地局
5日前
株式会社NTTドコモ
デバイス
5日前
株式会社NTTドコモ
デバイス
6日前
株式会社NTTドコモ
デバイス
6日前
株式会社NTTドコモ
デバイス
5日前
株式会社NTTドコモ
デバイス
6日前
株式会社NTTドコモ
デバイス
6日前
株式会社NTTドコモ
デバイス
5日前
株式会社NTTドコモ
装置及び方法
3日前
株式会社NTTドコモ
端末及び基地局
5日前
株式会社NTTドコモ
基地局及び端末
5日前
株式会社NTTドコモ
端末及び基地局
5日前
株式会社NTTドコモ
端末及び基地局
5日前
株式会社NTTドコモ
基地局及び端末
5日前
株式会社NTTドコモ
端末及び通信方法
6日前
株式会社NTTドコモ
端末及び通信方法
6日前
株式会社NTTドコモ
端末及び通信方法
6日前
株式会社NTTドコモ
端末及び通信方法
今日
株式会社NTTドコモ
端末及び通信方法
6日前
株式会社NTTドコモ
端末及び通信方法
6日前
株式会社NTTドコモ
端末及び通信方法
6日前
株式会社NTTドコモ
端末及び通信方法
6日前
株式会社NTTドコモ
端末及び通信方法
6日前
株式会社NTTドコモ
端末及び通信方法
6日前
株式会社NTTドコモ
端末及び通信方法
6日前
株式会社NTTドコモ
端末及び通信方法
6日前
株式会社NTTドコモ
端末及び通信方法
6日前
続きを見る
他の特許を見る