TOP
|
特許
|
意匠
|
商標
特許ウォッチ
Twitter
他の特許を見る
10個以上の画像は省略されています。
公開番号
2025157197
公報種別
公開特許公報(A)
公開日
2025-10-15
出願番号
2025074879
出願日
2025-04-28
発明の名称
基地局及び通信方法
出願人
株式会社NTTドコモ
代理人
弁理士法人ITOH
主分類
H04W
24/10 20090101AFI20251007BHJP(電気通信技術)
要約
【課題】LTM(Lower layer Triggered Mobility)を実行するための効率的な測定を設定すること。
【解決手段】基地局は、ある端末のLTM(Lower layer Triggered Mobility)を実行するためのレイヤ1報告設定を決定する制御部と、前記レイヤ1報告設定を、RRC(Radio resource control)メッセージ、MAC-CE(Medium Access Control - Control Element)又はPDCCH(Physical Downlink Control Channel)を介して前記端末に送信する送信部とを有し、前記制御部は、前記レイヤ1報告設定に、1又は複数の参照信号と、1オフセットとが関連付けられた候補IDのリストを含める。
【選択図】図7
特許請求の範囲
【請求項1】
ある端末のLTM(Lower layer Triggered Mobility)を実行するためのレイヤ1報告設定を決定する制御部と、
前記レイヤ1報告設定を、RRC(Radio resource control)メッセージ、MAC-CE(Medium Access Control - Control Element)又はPDCCH(Physical Downlink Control Channel)を介して前記端末に送信する送信部とを有し、
前記制御部は、前記レイヤ1報告設定に、1又は複数の参照信号と、1オフセットとが関連付けられた候補IDのリストを含める基地局。
続きを表示(約 670 文字)
【請求項2】
前記送信部は、MAC-CE又はRRCメッセージを介して、前記候補IDのアクティベーション又はディアクティベーションを前記端末に通知する請求項1記載の基地局。
【請求項3】
前記送信部は、前記候補IDのリストをターゲット基地局に通知する請求項1記載の基地局。
【請求項4】
前記送信部は、前記候補IDのリストをターゲット基地局に通知し、
更新された前記候補IDのリストを前記ターゲット基地局から受信する受信部をさらに有する請求項1記載の基地局。
【請求項5】
前記送信部は、前記候補IDのリストを要求するメッセージをターゲット基地局に通知し、
前記候補IDのリストを前記ターゲット基地局から受信する受信部をさらに有する請求項1記載の基地局。
【請求項6】
ある端末のLTM(Lower layer Triggered Mobility)を実行するためのレイヤ1報告設定を決定する手順と、
前記レイヤ1報告設定を、RRC(Radio resource control)メッセージ、MAC-CE(Medium Access Control - Control Element)又はPDCCH(Physical Downlink Control Channel)を介して前記端末に送信する手順と、
前記レイヤ1報告設定に、1又は複数の参照信号と、1オフセットとが関連付けられた候補IDのリストを含める手順とを基地局が実行する通信方法。
発明の詳細な説明
【技術分野】
【0001】
本発明は、通信システムにおける基地局及び通信方法に関する。
続きを表示(約 2,600 文字)
【背景技術】
【0002】
3GPP(登録商標)(3rd Generation Partnership Project)では、システム容量の更なる大容量化、データ伝送速度の更なる高速化、無線区間における更なる低遅延化等を実現するために、5GあるいはNR(New Radio)と呼ばれる無線通信方式(以下、当該無線通信方式を「5G」あるいは「NR」という。)の検討が進んでいる。5Gでは、10Gbps以上のスループットを実現しつつ無線区間の遅延を1ms以下にするという要求条件を満たすために、様々な無線技術の検討が行われている。
【0003】
NRでは、LTE(Long Term Evolution)のネットワークアーキテクチャにおけるコアネットワークであるEPC(Evolved Packet Core)に対応する5GC(5G Core Network)及びLTEのネットワークアーキテクチャにおけるRAN(Radio Access Network)であるE-UTRAN(Evolved Universal Terrestrial Radio Access Network)に対応するNG-RAN(Next Generation - Radio Access Network)を含むネットワークアーキテクチャが検討されている(例えば非特許文献1)。
【0004】
また、リリース19ではモビリティ強化として、インターCU(inter-Central Unit)LTM(Lower layer Triggered Mobility)、及びDC(Dual connectivity)を維持したままLTMを行うケースをサポートするための機能拡張が行われる見込みである(例えば非特許文献2)。
【先行技術文献】
【非特許文献】
【0005】
3GPP TS 23.501 V18.8.0 (2024-12)
3GPP TSG-RAN Meeting #101 RP-232618, Bengaluru, India, 11-15 September 2023
3GPP TS 38.401 V18.4.0 (2024-12)
3GPP TS 38.331 V18.4.0 (2024-12)
【発明の概要】
【発明が解決しようとする課題】
【0006】
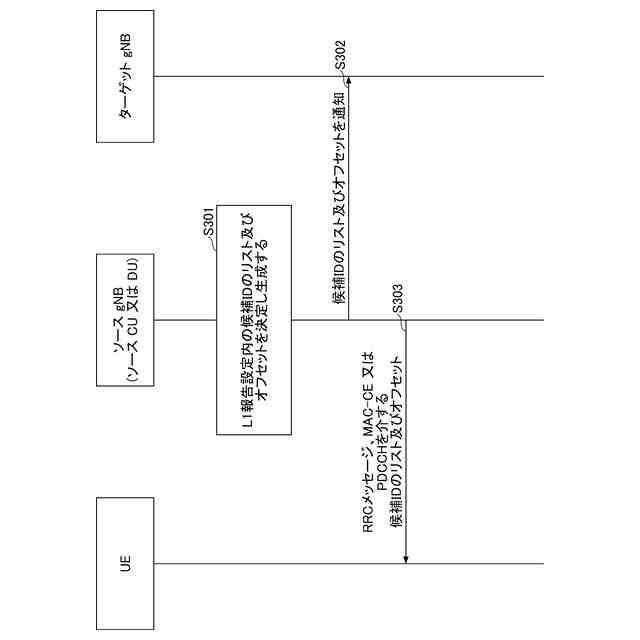
LTMの設定において、L1測定報告に候補ID(Candidate ID)のリストが設定可能である。候補IDは、1又は複数の参照信号及びオフセットと関連付けられる。候補IDが与えられる測定設定はUEによって測定されてもよいし、候補IDが与えられない測定設定はUEによって測定されなくてもよい。ここで、候補ID及びオフセットをどのように生成するかが明確でなかった。
【0007】
本発明は上記の点に鑑みてなされたものであり、LTM(Lower layer Triggered Mobility)を実行するための効率的な測定を設定することを目的とする。
【課題を解決するための手段】
【0008】
開示の技術によれば、ある端末のLTM(Lower layer Triggered Mobility)を実行するためのレイヤ1報告設定を決定する制御部と、前記レイヤ1報告設定を、RRC(Radio resource control)メッセージ、MAC-CE(Medium Access Control - Control Element)又はPDCCH(Physical Downlink Control Channel)を介して前記端末に送信する送信部とを有し、前記制御部は、前記レイヤ1報告設定に、1又は複数の参照信号と、1オフセットとが関連付けられた候補IDのリストを含める基地局が提供される。
【発明の効果】
【0009】
開示の技術によれば、LTM(Lower layer Triggered Mobility)を実行するための効率的な測定を設定することができる。
【図面の簡単な説明】
【0010】
通信システムの例を説明するための図である。
ローミング環境下の通信システムの例を説明するための図である。
インターDU-LTMの例(1)を説明するためのシーケンス図である。
インターDU-LTMの例(2)を説明するためのシーケンス図である。
本発明の実施の形態におけるL1報告設定の例を説明するため図である。
本発明の実施の形態におけるMAC-CEの例を説明するための図である。
本発明の実施の形態におけるL1報告設定の例(1)を説明するためのシーケンス図である。
本発明の実施の形態におけるL1報告設定の例(2)を説明するためのシーケンス図である。
本発明の実施の形態におけるL1報告設定の例(3)を説明するためのシーケンス図である。
本発明の実施の形態におけるL1報告設定の例(4)を説明するためのシーケンス図である。
本発明の実施の形態におけるL1報告設定の例(5)を説明するためのシーケンス図である。
本発明の実施の形態におけるL1報告設定の例(6)を説明するためのシーケンス図である。
本発明の実施の形態におけるL1報告設定の例(7)を説明するためのシーケンス図である。
本発明の実施の形態におけるL1報告設定の例(8)を説明するためのシーケンス図である。
本発明の実施の形態におけるL1報告設定の例(9)を説明するためのシーケンス図である。
本発明の実施の形態におけるL1報告設定の例(10)を説明するためのシーケンス図である。
本発明の実施の形態におけるL1報告設定の例(11)を説明するためのシーケンス図である。
本発明の実施の形態における基地局10及びネットワークノード30の機能構成の一例を示す図である。
本発明の実施の形態における端末20の機能構成の一例を示す図である。
本発明の実施の形態における基地局10及び端末20のハードウェア構成の一例を示す図である。
【発明を実施するための形態】
(【0011】以降は省略されています)
この特許をJ-PlatPat(特許庁公式サイト)で参照する
関連特許
株式会社NTTドコモ
端末
5日前
株式会社NTTドコモ
端末
6日前
株式会社NTTドコモ
端末
5日前
株式会社NTTドコモ
端末
5日前
株式会社NTTドコモ
端末
5日前
株式会社NTTドコモ
端末
6日前
株式会社NTTドコモ
端末
6日前
株式会社NTTドコモ
端末
6日前
株式会社NTTドコモ
端末
5日前
株式会社NTTドコモ
基地局
5日前
株式会社NTTドコモ
デバイス
5日前
株式会社NTTドコモ
デバイス
6日前
株式会社NTTドコモ
デバイス
5日前
株式会社NTTドコモ
デバイス
6日前
株式会社NTTドコモ
デバイス
6日前
株式会社NTTドコモ
デバイス
6日前
株式会社NTTドコモ
デバイス
5日前
株式会社NTTドコモ
リニアライザ
13日前
株式会社NTTドコモ
情報処理装置
12日前
株式会社NTTドコモ
装置及び方法
3日前
株式会社NTTドコモ
端末及び基地局
5日前
株式会社NTTドコモ
基地局及び端末
5日前
株式会社NTTドコモ
端末及び基地局
5日前
株式会社NTTドコモ
端末及び基地局
5日前
株式会社NTTドコモ
基地局及び端末
5日前
株式会社NTTドコモ
端末及び通信方法
6日前
株式会社NTTドコモ
端末及び通信方法
6日前
株式会社NTTドコモ
端末及び通信方法
6日前
株式会社NTTドコモ
端末及び通信方法
6日前
株式会社NTTドコモ
端末及び通信方法
6日前
株式会社NTTドコモ
端末及び通信方法
6日前
株式会社NTTドコモ
端末及び通信方法
6日前
株式会社NTTドコモ
端末及び通信方法
6日前
株式会社NTTドコモ
端末及び通信方法
6日前
株式会社NTTドコモ
端末及び通信方法
6日前
株式会社NTTドコモ
端末及び通信方法
6日前
続きを見る
他の特許を見る