TOP
|
特許
|
意匠
|
商標
特許ウォッチ
Twitter
他の特許を見る
10個以上の画像は省略されています。
公開番号
2025157199
公報種別
公開特許公報(A)
公開日
2025-10-15
出願番号
2025078327
出願日
2025-05-08
発明の名称
端末及び通信方法
出願人
株式会社NTTドコモ
代理人
弁理士法人ITOH
主分類
H04W
72/0457 20230101AFI20251007BHJP(電気通信技術)
要約
【課題】低周波数帯でのキャリアアグリゲーションをスイッチングで実現するときに必要な制約を規定すること。
【解決手段】端末は、LBCA(Low band carrier aggregation)に係るセミスタティックスイッチングパターンを示す情報を受信する通信部と、前記セミスタティックスイッチングパターンに基づいて、FDD(Frequency Division Duplex)キャリアとSDL(Supplemental DownLink)キャリアとをスイッチングするLBCAを実行する制御部とを有し、前記制御部は、第1の数から第2の数を引いた値が制限される前記第1の数の連続するスロット内において、前記第2の数の回数を上限とするFDDキャリアとSDLキャリアのスイッチングを実行する。
【選択図】図3
特許請求の範囲
【請求項1】
LBCA(Low band carrier aggregation)に係るセミスタティックスイッチングパターンを示す情報を受信する通信部と、
前記セミスタティックスイッチングパターンに基づいて、FDD(Frequency Division Duplex)キャリアとSDL(Supplemental DownLink)キャリアとをスイッチングするLBCAを実行する制御部とを有し、
前記制御部は、第1の数から第2の数を引いた値が制限される前記第1の数の連続するスロット内において、前記第2の数の回数を上限とするFDDキャリアとSDLキャリアのスイッチングを実行する端末。
続きを表示(約 970 文字)
【請求項2】
前記制御部は、前記第1の数から前記第2の数を引いた値が3又は4となる前記第1の数の連続するスロット内において、前記第2の数の回数を上限とするFDDキャリアとSDLキャリアのスイッチングを実行する請求項1記載の端末。
【請求項3】
前記制御部は、連続するSDLキャリアのスロット数が上限値を有するようにFDDキャリアとSDLキャリアのスイッチングを実行する請求項1記載の端末。
【請求項4】
前記通信部は、スイッチングパターンの周期中に少なくとも1回ずつFDDキャリアとSDLキャリアにおいて、SSB(SS/PBCH block)を受信する請求項1記載の端末。
【請求項5】
前記通信部は、スイッチングパターンの周期中に少なくとも1回ずつFDDキャリアとSDLキャリアにおいて、SIB1(System Information Block 1)スロット、TRS(Tracking reference signal)スロット、CSI-RS(Channel State Information - reference signal)スロット、PRACH(Physical random access channel)スロット、SR(Scheduling Request)及びType-1 CG PUSCH(Configured grant Physical Uplink Shared Channel)の少なくとも一つを受信する請求項1記載の端末。
【請求項6】
LBCA(Low band carrier aggregation)に係るセミスタティックスイッチングパターンを示す情報を受信する手順と、
前記セミスタティックスイッチングパターンに基づいて、FDD(Frequency Division Duplex)キャリアとSDL(Supplemental DownLink)キャリアとをスイッチングするLBCAを実行する手順と、
第1の数から第2の数を引いた値が制限される前記第1の数の連続するスロット内において、前記第2の数の回数を上限とするFDDキャリアとSDLキャリアのスイッチングを実行する手順とを端末が実行する通信方法。
発明の詳細な説明
【技術分野】
【0001】
本発明は、無線通信システムにおける端末及び通信方法に関する。
続きを表示(約 1,900 文字)
【背景技術】
【0002】
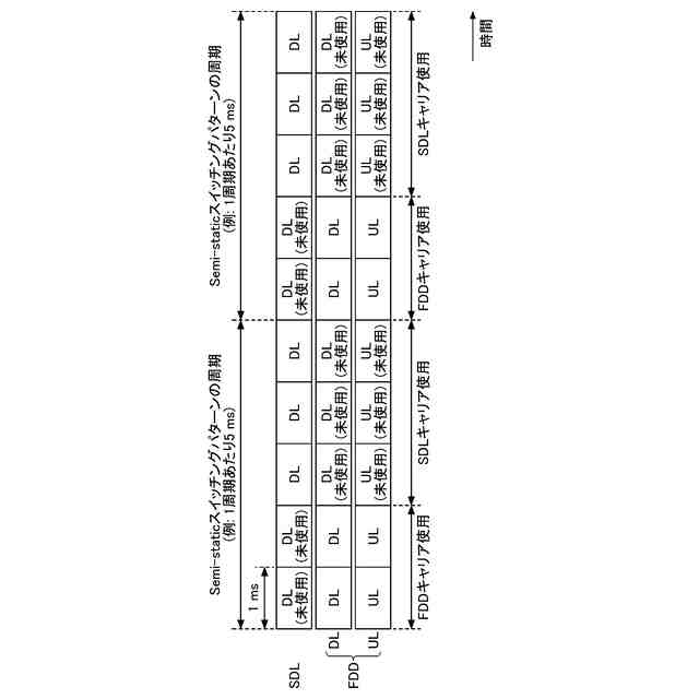
移動通信システムにおいて、低周波数帯(Low Band)はその優れた伝搬特性により、都市部の屋内トラフィック又は郊外・農村部の広範なトラフィック収容において重要な役割を果たしている。しかしながら、従来、800MHz帯のFDD(Frequency Division Duplex)バンド(Band n5)と700MHz帯のSDL(Supplemental DownLink)バンド(Band n29)のような低周波数同士のキャリアアグリゲーション(CA, Carrier Aggregation)は、端末の送受信回路設計又は制御の複雑性のため実現されていなかった。
【0003】
また、3GPP(登録商標)(3rd Generation Partnership Project)では、端末の実装の複雑性を解消し、低周波数帯でのキャリアアグリゲーション(LBCA, Low band carrier aggregation)を実現するために、セミスタティック(Semi-static, 半静的)スイッチングパターンを用いて、FDDキャリアとSDLキャリアとを時分割スイッチングする方法が検討されている(例えば非特許文献1)。
【先行技術文献】
【非特許文献】
【0004】
"New WID on low band carrier aggregation via switching", RP-243315, 3GPP TSG RAN Meeting #106, 2024年12月
【発明の概要】
【発明が解決しようとする課題】
【0005】
従来、セミスタティックスイッチングパターンをどのように規定すべきか明確にされていない。任意のスイッチングパターンの設定を許容してしまうと、通信品質あるいは動作に悪影響を及ぼすおそれがある。
【0006】
本発明は上記の点に鑑みてなされたものであり、低周波数帯でのキャリアアグリゲーションをスイッチングで実現するときに必要な制約を規定することを目的とする。
【課題を解決するための手段】
【0007】
開示の技術によれば、LBCA(Low band carrier aggregation)に係るセミスタティックスイッチングパターンを示す情報を受信する通信部と、前記セミスタティックスイッチングパターンに基づいて、FDD(Frequency Division Duplex)キャリアとSDL(Supplemental DownLink)キャリアとをスイッチングするLBCAを実行する制御部とを有し、前記制御部は、第1の数から第2の数を引いた値が制限される前記第1の数の連続するスロット内において、前記第2の数の回数を上限とするFDDキャリアとSDLキャリアのスイッチングを実行する端末が提供される。
【発明の効果】
【0008】
開示の技術によれば、低周波数帯でのキャリアアグリゲーションをスイッチングで実現するときに必要な制約を規定することができる。
【図面の簡単な説明】
【0009】
本発明の実施の形態に係る無線通信システムを説明するための図である。
FDDバンドとSDLバンドとのスイッチングの動作の一例を示す図である。
本発明の実施の形態に係る端末の動作の一例を示す図である。
本発明の実施の形態に係るセミスタティックスイッチングパターンの一例を示す図である。
本発明の実施の形態に係るセミスタティックスイッチングパターンの一例を示す図である。
本発明の実施の形態に係るセミスタティックスイッチングパターンの一例を示す図である。
本発明の実施の形態に係る動作の例(1)を説明するためのフローチャートである。
本発明の実施の形態に係る動作の例(2)を説明するためのフローチャートである。
本発明の実施の形態に係る基地局10の機能構成の一例を示す図である。
本発明の実施の形態に係る端末20の機能構成の一例を示す図である。
本発明の実施の形態に係る基地局10又は端末20のハードウェア構成の一例を示す図である。
【発明を実施するための形態】
【0010】
以下、図面を参照して本発明の実施の形態を説明する。なお、以下で説明する実施の形態は一例であり、本発明が適用される実施の形態は、以下の実施の形態に限られない。
(【0011】以降は省略されています)
この特許をJ-PlatPat(特許庁公式サイト)で参照する
関連特許
株式会社NTTドコモ
端末
6日前
株式会社NTTドコモ
端末
5日前
株式会社NTTドコモ
端末
6日前
株式会社NTTドコモ
端末
5日前
株式会社NTTドコモ
端末
5日前
株式会社NTTドコモ
端末
5日前
株式会社NTTドコモ
端末
6日前
株式会社NTTドコモ
端末
6日前
株式会社NTTドコモ
端末
5日前
株式会社NTTドコモ
基地局
5日前
株式会社NTTドコモ
デバイス
5日前
株式会社NTTドコモ
デバイス
5日前
株式会社NTTドコモ
デバイス
6日前
株式会社NTTドコモ
デバイス
6日前
株式会社NTTドコモ
デバイス
6日前
株式会社NTTドコモ
デバイス
6日前
株式会社NTTドコモ
デバイス
5日前
株式会社NTTドコモ
装置及び方法
3日前
株式会社NTTドコモ
リニアライザ
13日前
株式会社NTTドコモ
情報処理装置
12日前
株式会社NTTドコモ
装置および方法
18日前
株式会社NTTドコモ
基地局及び端末
5日前
株式会社NTTドコモ
端末及び基地局
5日前
株式会社NTTドコモ
基地局及び端末
5日前
株式会社NTTドコモ
端末及び基地局
5日前
株式会社NTTドコモ
端末及び基地局
5日前
株式会社NTTドコモ
端末及び通信方法
6日前
株式会社NTTドコモ
端末及び通信方法
6日前
株式会社NTTドコモ
端末及び通信方法
6日前
株式会社NTTドコモ
端末及び通信方法
6日前
株式会社NTTドコモ
端末及び通信方法
6日前
株式会社NTTドコモ
端末及び通信方法
6日前
株式会社NTTドコモ
端末及び通信方法
6日前
株式会社NTTドコモ
端末及び通信方法
6日前
株式会社NTTドコモ
端末及び通信方法
6日前
株式会社NTTドコモ
端末及び通信方法
6日前
続きを見る
他の特許を見る