TOP
|
特許
|
意匠
|
商標
特許ウォッチ
Twitter
他の特許を見る
10個以上の画像は省略されています。
公開番号
2025157296
公報種別
公開特許公報(A)
公開日
2025-10-15
出願番号
2025112914,2023033672
出願日
2025-07-03,2019-09-13
発明の名称
交換可能なレンズを備えたディスプレイシステム
出願人
アップル インコーポレイテッド
,
Apple Inc.
代理人
個人
,
個人
,
個人
,
個人
主分類
G02B
27/02 20060101AFI20251007BHJP(光学)
要約
【課題】交換可能なレンズを備えたディスプレイシステムを提供する。
【解決手段】ディスプレイシステムは、ディスプレイと、取り外し可能なレンズアセンブリと、レンズ検出センサと、を含む。取り外し可能なレンズは、ディスプレイに取り外し可能に結合可能である。レンズ検出センサは、ディスプレイに結合された取り外し可能なレンズアセンブリを検出する。ディスプレイシステムは、ディスプレイ及びレンズ検出センサを含むヘッドマウントディスプレイユニットを更に含み得る。ディスプレイシステムは、レンズ検出センサを用いて取り外し可能なレンズからレンズ情報を判定することができ、レンズ情報に従って取り外し可能なレンズのインジケータを提供することができる。
【選択図】図1
特許請求の範囲
【請求項1】
ディスプレイと、
前記ディスプレイに取り外し可能に結合可能である取り外し可能なレンズと、
前記ディスプレイに結合された前記取り外し可能なレンズを検出するためのレンズ検出センサと、
を備える、ディスプレイシステム。
続きを表示(約 840 文字)
【請求項2】
前記ディスプレイシステムが、前記取り外し可能なレンズのレンズ情報を判定する、請求項1に記載のディスプレイシステム。
【請求項3】
前記レンズ情報が、レンズ識別子又はレンズ特性のうちの1つ以上を含む、請求項2に記載のディスプレイシステム。
【請求項4】
前記ディスプレイシステムが、前記レンズ検出センサを用いて前記取り外し可能なレンズからレンズ情報を判定する、請求項1から3のいずれか一項に記載のディスプレイシステム。
【請求項5】
前記レンズ情報が、前記取り外し可能なレンズによって電子的に記憶され、前記レンズ検出センサが、前記レンズ情報を電子的に受信する、請求項4に記載のディスプレイシステム。
【請求項6】
前記取り外し可能なレンズが、前記レンズ情報の光学的マーキングを含み、前記レンズ検出センサが、前記光学的マーキングを読み取る、請求項4に記載のディスプレイシステム。
【請求項7】
前記レンズ検出センサが、ユーザの目を観察する目カメラである、請求項6に記載のディスプレイシステム。
【請求項8】
前記ディスプレイシステムが、虹彩検出を使用して、前記目カメラで前記ユーザを識別する、請求項7に記載のディスプレイシステム。
【請求項9】
前記ディスプレイシステムが、前記レンズ情報を、識別されている前記ユーザのユーザ情報と比較することによって、前記取り外し可能なレンズの前記ユーザとの適合性を判定する、請求項8に記載のディスプレイシステム。
【請求項10】
前記ディスプレイシステムが、前記取り外し可能なレンズから識別子を判定し、かつ、前記取り外し可能なレンズと関連付けられて記憶されたレンズ特性を判定し、前記レンズ特性が屈折特性を含む、請求項8に記載のディスプレイシステム。
(【請求項11】以降は省略されています)
発明の詳細な説明
【技術分野】
【0001】
本開示は、ディスプレイシステム、具体的には、ヘッドマウントディスプレイシステムに関する。
続きを表示(約 4,200 文字)
【背景技術】
【0002】
ヘッドマウントディスプレイ(head-mounted display、HMD)は、ユーザの頭部に装着されるディスプレイデバイスであり、ユーザにグラフィックを表示するための1つ以上のディスプレイモジュールを含む。異なるユーザでは自身の目の屈折異常が異なり得るため、異なるユーザには異なる矯正レンズが必要となる。
【発明の概要】
【0003】
本明細書では、ディスプレイシステムの実装形態が開示される。一実装形態では、ディスプレイシステムは、ディスプレイと、取り外し可能なレンズアセンブリと、レンズ検出センサと、を含む。取り外し可能なレンズは、ディスプレイに取り外し可能に結合可能である。レンズ検出センサは、ディスプレイに結合された取り外し可能なレンズアセンブリを検出する。ディスプレイシステムは、ディスプレイ及びレンズ検出センサを含むヘッドマウントディスプレイユニットを更に含み得る。ディスプレイシステムは、レンズ検出センサを用いて取り外し可能なレンズからレンズ情報を判定することができ、レンズ情報に従って取り外し可能なレンズのインジケータを提供することができる。
【0004】
別の実装形態では、ヘッドマウントディスプレイユニットを動作させるための方法が提供され、この方法は、ヘッドマウントディスプレイユニットのディスプレイモジュールに結合された取り外し可能なレンズを識別することと、取り外し可能なレンズの識別に従って指標を提供することと、を含む。指標は、取り外し可能なレンズと、ディスプレイモジュールに結合可能な別の取り外し可能なレンズとの間で異なる構成指標であってもよい。方法は、ユーザを識別することを更に含んでもよく、一方、指標は、取り外し可能なレンズとユーザとの間の適合性の指標であってもよい。
【0005】
別の実装形態では、ディスプレイシステムは、ヘッドマウントディスプレイユニットと、取り外し可能なレンズアセンブリとを含む。ヘッドマウントディスプレイユニットは、ディスプレイモジュールを含む。取り外し可能なレンズアセンブリは、レンズ素子及びレンズ素子に結合されたフレームを含む。取り外し可能なレンズアセンブリは、フレームに結合され、かつ、レンズ素子を取り囲む磁気取り付け機構を用いて、単一の向きにディスプレイモジュールに取り外し可能であってもよい。取り外し可能なレンズアセンブリは、例えば、取り外し可能なレンズがディスプレイモジュールのレンズマウントをその中で軸方向に受容する柔軟な環状突出部を含む、締まり嵌めを用いて、ディスプレイモジュールに取り外し可能に結合可能であってもよい。取り外し可能なレンズアセンブリは、バネ式ラッチ機構を用いて、ディスプレイモジュールに取り外し可能に結合可能であってもよい。
【0006】
一実装形態では、ディスプレイシステムは、ヘッドマウントディスプレイユニットと、取り外し可能なレンズアセンブリとを含む。ヘッドマウントディスプレイユニットは、ディスプレイモジュールと、対応する機械的結合機構とを含む。取り外し可能なレンズアセンブリは、矯正レンズ素子と、矯正レンズ素子に結合されたフレームと、フレームに結合された機械的結合機構と、を含む。機械的結合機構は、取り外し可能なレンズアセンブリをヘッドマウントディスプレイユニットに取り外し可能に結合するために、対応する機械的結合機構によって受容可能である。
【0007】
機械的結合機構は、対応する機械的結合機構と係合して、ヘッドマウントディスプレイユニットに対する取り外し可能なレンズアセンブリが、矯正レンズ素子の光軸に対して横方向に、それに沿って、及び/又はその周りを移動することを防止する。取り外し可能なレンズアセンブリは、機械的結合機構から離間した磁気的結合機構を更に含んでもよく、それによって、取り外し可能なレンズアセンブリがヘッドマウントディスプレイユニットに磁気的に結合可能である。ディスプレイモジュールは、対応する機械的結合機構を含むレンズマウントを含んでもよく、取り外し可能なレンズアセンブリは、ディスプレイモジュールに取り外し可能に結合可能であってもよい。
【図面の簡単な説明】
【0008】
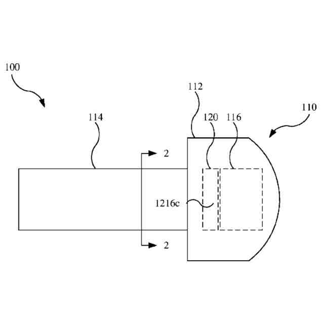
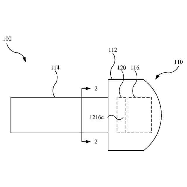
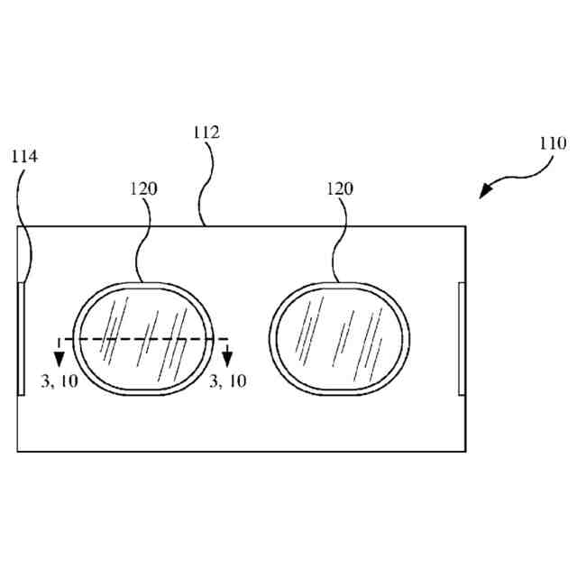
破線で示されている隠れた構成要素を備えたディスプレイシステムの側面図である。
図1の線2-2に沿って切り取られた図1のディスプレイシステムの断面図である。
図2の線3-3に沿って切り取られ、かつ、組み立てられた状態で示された、図1のディスプレイシステムのディスプレイユニット及び交換可能なレンズアセンブリの断面図である。
分解された状態で示された、図3Aのディスプレイユニット及び交換可能なレンズアセンブリの断面図である。
発光点、入口点、及び出口点が、破線(すなわち、一点鎖線)で示されている、図1のディスプレイシステムの取り外し可能なレンズの背面図である。
取り外し可能なレンズの別の実施形態の背面図である。
取り外し可能なレンズの別の実施形態の背面図である。
取り外し可能なレンズの別の実施形態の断面図である。
取り外し可能なレンズの別の実施形態の断面図である。
取り外し可能なレンズの別の実施形態の断面図である。
分解された状態で示された、図1のディスプレイシステムの別のディスプレイユニット及び別の交換可能なレンズアセンブリの断面図である。
組み立てられた状態で示された、図10Aのディスプレイユニット及び交換可能なレンズアセンブリの断面図である。
分解された状態で示された、図1のディスプレイシステムの別のディスプレイユニット及び別の交換可能なレンズアセンブリの断面図である。
組み立てられた状態で示された、図10Aのディスプレイユニット及び交換可能なレンズアセンブリの断面図である。
ディスプレイシステムで使用するためのディスプレイモジュールの側面図である。
ディスプレイシステムで使用するためのディスプレイモジュールの正面図である。
ディスプレイシステムで使用するためのディスプレイモジュールの正面図である。
ディスプレイシステムで使用するためのディスプレイモジュールの正面図である。
ディスプレイシステムで使用するためのディスプレイモジュールの正面図である。
図13Aのディスプレイモジュールと共に使用するための取り外し可能なレンズアセンブリの正面図である。
線13A-13Aに沿って切り取られた、図13Aのディスプレイモジュールの断面図である。
線13B-13Bに沿って切り取られた、図13Bの取り外し可能なレンズアセンブリの断面図である。
部分的に結合された状態の、図13Aのディスプレイモジュール及び図13Bの取り外し可能なレンズアセンブリの断面図である。
結合された状態の、図13Aのディスプレイモジュール及び図13Bの取り外し可能なレンズアセンブリの断面図である。
ディスプレイシステムの概略図である。
ディスプレイシステムを動作させるための方法のフローチャートである。
取り外し可能なレンズとユーザとの適合性を判定するためのプロセスのフローチャートである。
取り外し可能なレンズとユーザとの適合性を判定するための方法のフローチャートである。
ディスプレイシステムのコントローラの例示的なハードウェア構成の概略図である。
【発明を実施するための形態】
【0009】
ヘッドマウントディスプレイユニットと1つ以上の交換可能なレンズとを含むディスプレイシステムの実施形態が、本明細書に開示されている。交換可能なレンズは、異なるユーザの異なる目特性に従って(例えば、眼鏡処方に従って)構成され得る。例えば、一対の交換可能なレンズは、1人のユーザに関連付けられ(例えば、処方され)てもよく、一方、別の一対の交換可能なレンズは、別のユーザに関連付けられてもよい。交換可能なレンズは、異なるレンズがヘッドマウントディスプレイユニットに取り付けられて、異なる目特性を有する異なるユーザに適合し得るような交換可能な方法で、ヘッドマウントディスプレイユニットに取り付け可能である。交換可能なレンズは、様々な異なる方法でヘッドマウントディスプレイユニットに取り付けられ得る。ディスプレイシステムはまた、ヘッドマウントディスプレイユニットに取り付けられた交換可能なレンズを識別し、及び/又はユーザを識別して、それに応じて様々な動作を実行することができる。
【0010】
図1及び図2を参照すると、ディスプレイシステム100は、一般に、ヘッドマウントディスプレイユニット110と、1つ以上の取り外し可能なレンズアセンブリ120とを含む。ヘッドマウントディスプレイユニット110は、一般に、ハウジング112と、ヘッドサポート114と、1つ以上のディスプレイモジュール116(例えば2つ、すなわち、それぞれの目に1つずつ)と、様々な他の電子機器(例えば、コントローラ若しくはコンピューティングデバイス、通信インタフェース、オーディオ入出力デバイス、センサ、バッテリ、又は他の電力電子機器、図12も参照)と、を含む。ディスプレイシステム100は、コンピュータ生成現実(例えば、仮想現実又は混合現実)を提供するように構成されており、この場合、ディスプレイシステム100は、コンピュータ生成現実システム若しくはコンピュータ生成現実ディスプレイシステム、仮想現実システム若しくは仮想現実ディスプレイシステム、又は混合現実ディスプレイシステム若しくは混合現実システムと見なすことができる。コンピュータ生成現実、仮想現実、及び混合現実という用語は、以下で更に詳細に論じられる。
(【0011】以降は省略されています)
この特許をJ-PlatPat(特許庁公式サイト)で参照する
関連特許
個人
立体像表示装置
4日前
住友化学株式会社
偏光板
1日前
東レ株式会社
積層フィルム
10日前
住友化学株式会社
垂直偏光板
1日前
東レ株式会社
赤外線遮蔽構成体
4日前
東レ株式会社
貼合体の製造方法
4日前
スタンレー電気株式会社
照明装置
11日前
日本電気株式会社
光集積回路素子
8日前
三菱電機株式会社
レンズモジュール
1日前
個人
眼鏡装着位置変更具および眼鏡
2日前
住友化学株式会社
積層体
8日前
日東電工株式会社
調光フィルム
9日前
住友化学株式会社
偏光板
4日前
住友化学株式会社
偏光板
4日前
新光電気工業株式会社
光導波路部品
1日前
住友化学株式会社
光学積層体
4日前
新光電気工業株式会社
光導波路部品
1日前
日本分光株式会社
赤外顕微鏡
15日前
旭化成株式会社
成形体
15日前
旭化成株式会社
成形体
15日前
住友化学株式会社
偏光積層体
4日前
日本精機株式会社
ヘッドアップディスプレイ装置
9日前
住友ベークライト株式会社
積層体の製造方法
9日前
キヤノン株式会社
レンズ装置および撮像装置
9日前
キヤノン株式会社
画像表示装置
15日前
Orbray株式会社
MEMS光スイッチの制御方法
9日前
古河電気工業株式会社
光モジュール、光接続構造
9日前
住友化学株式会社
偏光板及び画像表示装置
10日前
住友ベークライト株式会社
光学シート
8日前
キヤノン電子株式会社
光学部材、撮像装置及び宇宙航行体
2日前
キヤノン電子株式会社
光学部材、撮像装置及び宇宙航行体
2日前
京セラ株式会社
走査装置及び制御装置
8日前
TDK株式会社
メタサーフェスレンズ
8日前
日東電工株式会社
積層光学部材及び光学装置
8日前
株式会社小糸製作所
画像投影装置
1日前
京セラ株式会社
走査装置及び制御装置
8日前
続きを見る
他の特許を見る