TOP
|
特許
|
意匠
|
商標
特許ウォッチ
Twitter
他の特許を見る
10個以上の画像は省略されています。
公開番号
2025157333
公報種別
公開特許公報(A)
公開日
2025-10-15
出願番号
2025116026,2023207167
出願日
2025-07-09,2020-11-04
発明の名称
符号化ユニットを復号および符号化する方法、装置およびプログラム
出願人
キヤノン株式会社
代理人
弁理士法人大塚国際特許事務所
主分類
H04N
19/70 20140101AFI20251007BHJP(電気通信技術)
要約
【課題】ビデオビットストリームからの画像フレームの符号化ツリーユニットから符号化ツリーの符号化ユニットを復号する方法を提供する。
【解決手段】ビットストリームから符号化ユニットを復号する方法において、符号化ユニットはツリー構造を用いて画像の符号化ツリーユニットから分割され、符号化ユニットはルマ成分とクロマ成分を有することが可能であり、クロマ成分はCb成分とCr成分とを含む。方法は、符号化ユニットがルマ成分を有する場合に、ルマ成分のためのルマ変換スキップフラグをビットストリームから復号する第1の復号ステップと、符号化ユニットがクロマ成分を有する場合に、Cb成分のための第1のクロマ変換スキップフラグと、Cr成分のための第2のクロマ変換スキップフラグとを、ビットストリームから復号する第2の復号ステップと、LFNST処理のためのLFNSTインデックスを決定する決定ステップと、を含む。
【選択図】図16
特許請求の範囲
【請求項1】
ビットストリームから符号化ユニットを復号する方法であって、前記符号化ユニットはツリー構造を用いて画像の符号化ツリーユニットから分割され、前記符号化ユニットは少なくともルマ成分または複数のクロマ成分を有することが可能であり、前記複数のクロマ成分はCb成分とCr成分とを含み、前記方法は、
前記符号化ユニットが前記ルマ成分を有する場合に、前記ルマ成分のためのルマ変換スキップフラグを前記ビットストリームから復号する第1の復号ステップと、
前記符号化ユニットが前記複数のクロマ成分を有する場合に、前記Cb成分のための第1のクロマ変換スキップフラグと、前記Cr成分のための第2のクロマ変換スキップフラグとを、前記ビットストリームから復号する第2の復号ステップと、
前記ビットストリームから特定の変換処理のためのインデックスを復号するかを前記符号化ユニットに対し判定する判定ステップであって、前記特定の変換処理において使用するカーネルは複数のカーネルの候補セットの中から選択することが可能であり、前記インデックスは前記使用するカーネルを特定するインデックスである、前記判定ステップと、
前記判定ステップにおける判定の結果に従って、前記符号化ユニットに対し、前記特定の変換処理のための前記インデックスを前記ビットストリームから復号する第3の復号ステップと、
を有し、
前記ルマ変換スキップフラグは、前記ルマ成分のためのルマ変換処理がスキップされるかを示し、
前記第1のクロマ変換スキップフラグは、前記Cb成分のための第1のクロマ変換処理がスキップされるかを示し、
前記第2のクロマ変換スキップフラグは、前記Cr成分のための第2のクロマ変換処理がスキップされるかを示し、
前記符号化ツリーユニットが128×128のサイズを有し、且つ、前記符号化ツリーユニットにおける前記ルマ成分に対する符号化ツリー構造が前記符号化ツリーユニットにおける前記複数のクロマ成分に対する符号化ツリー構造と別個となる場合において、(a)前記符号化ツリーユニットは、前記ルマ成分と前記複数のクロマ成分とで共通して、64×64のサイズを各々が有する4つの領域に分割され、(b)前記ルマ成分に対するデュアルツリー構造と前記複数のクロマ成分に対するデュアルツリー構造が前記4つの領域の各々に対して開始し、(c)前記4つの領域のうちの或る領域から前記複数のクロマ成分に対する前記デュアルツリー構造を用いて分割された符号化ユニットの各々に対し前記インデックスを復号するかの前記判定が実行される前に、前記或る領域から前記ルマ成分に対するデュアルツリー構造を用いて分割された符号化ユニットの各々に対し前記インデックスを復号するかの前記判定が実行され、
前記符号化ユニットがシングルツリー構造を用いて前記符号化ツリーユニットから分割され、且つ、当該符号化ユニットにおける各変換ブロックがDC位置でのみ有意係数を有する場合において、当該符号化ユニットに対する前記インデックスは前記ビットストリームから常に復号されず、
前記ルマ変換処理、前記第1のクロマ変換処理、及び前記第2のクロマ変換処理がスキップされ、かつ、前記符号化ユニットがシングルツリー構造を用いて前記符号化ツリーユニットから分割される場合、当該符号化ユニットに対する前記特定の変換処理は他の条件に依らず常に実行されずに、前記符号化ユニットに対する前記インデックスは前記ビットストリームから復号されず、当該符号化ユニットに対する当該インデックスの値は0であると推定され、
前記ルマ変換処理がスキップされ、かつ、前記符号化ユニットが前記ルマ成分に対する前記デュアルツリー構造を用いて前記符号化ツリーユニットから分割される場合、当該符号化ユニットに対する前記インデックスは前記ビットストリームから復号されず、当該符号化ユニットに対する当該インデックスの値は0であると推定され、
前記第1のクロマ変換処理及び前記第2のクロマ変換処理がスキップされ、かつ、前記符号化ユニットが前記複数のクロマ成分に対する前記デュアルツリー構造を用いて前記符号化ツリーユニットから分割される場合、当該符号化ユニットに対する前記インデックスは前記ビットストリームから復号されず、当該符号化ユニットに対する当該インデックスの値は0であると推定され、
前記符号化ツリーユニットにおける符号化ユニットを複数の符号化ユニットに分割するためにターナリー分割を使用することが可能であり、
前記符号化ツリーユニットにおける符号化ユニットを複数の符号化ユニットに分割するためにバイナリ分割を使用することが可能である、
ことを特徴とする方法。
続きを表示(約 6,100 文字)
【請求項2】
ビットストリームに符号化ユニットを符号化する方法であって、前記符号化ユニットはツリー構造を用いて画像の符号化ツリーユニットから分割され、前記符号化ユニットは少なくともルマ成分または複数のクロマ成分を有することが可能であり、前記複数のクロマ成分はCb成分とCr成分とを含み、前記方法は、
前記符号化ユニットが前記ルマ成分を有する場合に、前記ルマ成分のためのルマ変換スキップフラグを前記ビットストリームに符号化する第1の符号化ステップと、
前記符号化ユニットが前記複数のクロマ成分を有する場合に、前記Cb成分のための第1のクロマ変換スキップフラグと、前記Cr成分のための第2のクロマ変換スキップフラグとを、前記ビットストリームに符号化する第2の符号化ステップと、
前記ビットストリームに特定の変換処理のためのインデックスを符号化するかを前記符号化ユニットに対し判定する判定ステップであって、前記特定の変換処理において使用するカーネルは複数のカーネルの候補セットの中から選択することが可能であり、前記インデックスは前記使用するカーネルを特定するインデックスである、前記判定ステップと、
前記判定ステップにおける判定の結果に従って、前記符号化ユニットに対し、前記特定の変換処理のための前記インデックスを前記ビットストリームに符号化する第3の符号化ステップと、
を有し、
前記ルマ変換スキップフラグは、前記ルマ成分のためのルマ変換処理がスキップされるかを示し、
前記第1のクロマ変換スキップフラグは、前記Cb成分のための第1のクロマ変換処理がスキップされるかを示し、
前記第2のクロマ変換スキップフラグは、前記Cr成分のための第2のクロマ変換処理がスキップされるかを示し、
前記符号化ツリーユニットが128×128のサイズを有し、且つ、前記符号化ツリーユニットにおける前記ルマ成分に対する符号化ツリー構造が前記符号化ツリーユニットにおける前記複数のクロマ成分に対する符号化ツリー構造と別個となる場合において、(a)前記符号化ツリーユニットは、前記ルマ成分と前記複数のクロマ成分とで共通して、64×64のサイズを各々が有する4つの領域に分割され、(b)前記ルマ成分に対するデュアルツリー構造と前記複数のクロマ成分に対するデュアルツリー構造が前記4つの領域の各々に対して開始し、(c)前記4つの領域のうちの或る領域から前記複数のクロマ成分に対する前記デュアルツリー構造を用いて分割された符号化ユニットの各々に対し前記インデックスを符号化するかの前記判定が実行される前に、前記或る領域から前記ルマ成分に対するデュアルツリー構造を用いて分割された符号化ユニットの各々に対し前記インデックスを符号化するかの前記判定が実行され、
前記符号化ユニットがシングルツリー構造を用いて前記符号化ツリーユニットから分割され、且つ、当該符号化ユニットにおける各変換ブロックがDC位置でのみ有意係数を有する場合において、当該符号化ユニットに対する前記インデックスは前記ビットストリームに常に符号化されず、
前記ルマ変換処理、前記第1のクロマ変換処理、及び前記第2のクロマ変換処理がスキップされ、かつ、前記符号化ユニットがシングルツリー構造を用いて前記符号化ツリーユニットから分割される場合、当該符号化ユニットに対する前記特定の変換処理は他の条件に依らず常に実行されずに、前記符号化ユニットに対する前記インデックスは前記ビットストリームに符号化されず、当該符号化ユニットに対する当該インデックスの値は0であると推定され、
前記ルマ変換処理がスキップされ、かつ、前記符号化ユニットが前記ルマ成分に対する前記デュアルツリー構造を用いて前記符号化ツリーユニットから分割される場合、当該符号化ユニットに対する前記インデックスは前記ビットストリームに符号化されず、当該符号化ユニットに対する当該インデックスの値は0であると推定され、
前記第1のクロマ変換処理及び前記第2のクロマ変換処理がスキップされ、かつ、前記符号化ユニットが前記複数のクロマ成分に対する前記デュアルツリー構造を用いて前記符号化ツリーユニットから分割される場合、当該符号化ユニットに対する前記インデックスは前記ビットストリームに符号化されず、当該符号化ユニットに対する当該インデックスの値は0であると推定され、
前記符号化ツリーユニットにおける符号化ユニットを複数の符号化ユニットに分割するためにターナリー分割を使用することが可能であり、
前記符号化ツリーユニットにおける符号化ユニットを複数の符号化ユニットに分割するためにバイナリ分割を使用することが可能である、
ことを特徴とする方法。
【請求項3】
ビットストリームから符号化ユニットを復号する装置であって、前記符号化ユニットはツリー構造を用いて画像の符号化ツリーユニットから分割され、前記符号化ユニットは少なくともルマ成分または複数のクロマ成分を有することが可能であり、前記複数のクロマ成分はCb成分とCr成分とを含み、前記装置は、
前記符号化ユニットが前記ルマ成分を有する場合に、前記ルマ成分のためのルマ変換スキップフラグを前記ビットストリームから復号する第1の復号手段と、
前記符号化ユニットが前記複数のクロマ成分を有する場合に、前記Cb成分のための第1のクロマ変換スキップフラグと、前記Cr成分のための第2のクロマ変換スキップフラグとを、前記ビットストリームから復号する第2の復号手段と、
前記ビットストリームから特定の変換処理のためのインデックスを復号するかを前記符号化ユニットに対し判定する判定手段であって、前記特定の変換処理において使用するカーネルは複数のカーネルの候補セットの中から選択することが可能であり、前記インデックスは前記使用するカーネルを特定するインデックスである、前記判定手段と、
前記判定手段における判定の結果に従って、前記符号化ユニットに対し、前記特定の変換処理のための前記インデックスを前記ビットストリームから復号する第3の復号手段と、
を有し、
前記ルマ変換スキップフラグは、前記ルマ成分のためのルマ変換処理がスキップされるかを示し、
前記第1のクロマ変換スキップフラグは、前記Cb成分のための第1のクロマ変換処理がスキップされるかを示し、
前記第2のクロマ変換スキップフラグは、前記Cr成分のための第2のクロマ変換処理がスキップされるかを示し、
前記符号化ツリーユニットが128×128のサイズを有し、且つ、前記符号化ツリーユニットにおける前記ルマ成分に対する符号化ツリー構造が前記符号化ツリーユニットにおける前記複数のクロマ成分に対する符号化ツリー構造と別個となる場合において、(a)前記符号化ツリーユニットは、前記ルマ成分と前記複数のクロマ成分とで共通して、64×64のサイズを各々が有する4つの領域に分割され、(b)前記ルマ成分に対するデュアルツリー構造と前記複数のクロマ成分に対するデュアルツリー構造が前記4つの領域の各々に対して開始し、(c)前記4つの領域のうちの或る領域から前記複数のクロマ成分に対する前記デュアルツリー構造を用いて分割された符号化ユニットの各々に対し前記インデックスを復号するかの前記判定が実行される前に、前記或る領域から前記ルマ成分に対するデュアルツリー構造を用いて分割された符号化ユニットの各々に対し前記インデックスを復号するかの前記判定が実行され、
前記符号化ユニットがシングルツリー構造を用いて前記符号化ツリーユニットから分割され、且つ、当該符号化ユニットにおける各変換ブロックがDC位置でのみ有意係数を有する場合において、当該符号化ユニットに対する前記インデックスは前記ビットストリームから常に復号されず、
前記ルマ変換処理、前記第1のクロマ変換処理、及び前記第2のクロマ変換処理がスキップされ、かつ、前記符号化ユニットがシングルツリー構造を用いて前記符号化ツリーユニットから分割される場合、当該符号化ユニットに対する前記特定の変換処理は他の条件に依らず常に実行されずに、前記符号化ユニットに対する前記インデックスは前記ビットストリームから復号されず、当該符号化ユニットに対する当該インデックスの値は0であると推定され、
前記ルマ変換処理がスキップされ、かつ、前記符号化ユニットが前記ルマ成分に対する前記デュアルツリー構造を用いて前記符号化ツリーユニットから分割される場合、当該符号化ユニットに対する前記インデックスは前記ビットストリームから復号されず、当該符号化ユニットに対する当該インデックスの値は0であると推定され、
前記第1のクロマ変換処理及び前記第2のクロマ変換処理がスキップされ、かつ、前記符号化ユニットが前記複数のクロマ成分に対する前記デュアルツリー構造を用いて前記符号化ツリーユニットから分割される場合、当該符号化ユニットに対する前記インデックスは前記ビットストリームから復号されず、当該符号化ユニットに対する当該インデックスの値は0であると推定され、
前記符号化ツリーユニットにおける符号化ユニットを複数の符号化ユニットに分割するためにターナリー分割を使用することが可能であり、
前記符号化ツリーユニットにおける符号化ユニットを複数の符号化ユニットに分割するためにバイナリ分割を使用することが可能である、
ことを特徴とする装置。
【請求項4】
ビットストリームに符号化ユニットを符号化する装置であって、前記符号化ユニットはツリー構造を用いて画像の符号化ツリーユニットから分割され、前記符号化ユニットは少なくともルマ成分または複数のクロマ成分を有することが可能であり、前記複数のクロマ成分はCb成分とCr成分とを含み、前記装置は、
前記符号化ユニットが前記ルマ成分を有する場合に、前記ルマ成分のためのルマ変換スキップフラグを前記ビットストリームに符号化する第1の符号化手段と、
前記符号化ユニットが前記複数のクロマ成分を有する場合に、前記Cb成分のための第1のクロマ変換スキップフラグと、前記Cr成分のための第2のクロマ変換スキップフラグとを、前記ビットストリームに符号化する第2の符号化手段と、
前記ビットストリームに特定の変換処理のためのインデックスを符号化するかを前記符号化ユニットに対し判定する判定手段であって、前記特定の変換処理において使用するカーネルは複数のカーネルの候補セットの中から選択することが可能であり、前記インデックスは前記使用するカーネルを特定するインデックスである、前記判定手段と、
前記判定手段における判定の結果に従って、前記符号化ユニットに対し、前記特定の変換処理のための前記インデックスを前記ビットストリームに符号化する第3の符号化手段と、
を有し、
前記ルマ変換スキップフラグは、前記ルマ成分のためのルマ変換処理がスキップされるかを示し、
前記第1のクロマ変換スキップフラグは、前記Cb成分のための第1のクロマ変換処理がスキップされるかを示し、
前記第2のクロマ変換スキップフラグは、前記Cr成分のための第2のクロマ変換処理がスキップされるかを示し、
前記符号化ツリーユニットが128×128のサイズを有し、且つ、前記符号化ツリーユニットにおける前記ルマ成分に対する符号化ツリー構造が前記符号化ツリーユニットにおける前記複数のクロマ成分に対する符号化ツリー構造と別個となる場合において、(a)前記符号化ツリーユニットは、前記ルマ成分と前記複数のクロマ成分とで共通して、64×64のサイズを各々が有する4つの領域に分割され、(b)前記ルマ成分に対するデュアルツリー構造と前記複数のクロマ成分に対するデュアルツリー構造が前記4つの領域の各々に対して開始し、(c)前記4つの領域のうちの或る領域から前記複数のクロマ成分に対する前記デュアルツリー構造を用いて分割された符号化ユニットの各々に対し前記インデックスを符号化するかの前記判定が実行される前に、前記或る領域から前記ルマ成分に対するデュアルツリー構造を用いて分割された符号化ユニットの各々に対し前記インデックスを符号化するかの前記判定が実行され、
前記符号化ユニットがシングルツリー構造を用いて前記符号化ツリーユニットから分割され、且つ、当該符号化ユニットにおける各変換ブロックがDC位置でのみ有意係数を有する場合において、当該符号化ユニットに対する前記インデックスは前記ビットストリームに常に符号化されず、
前記ルマ変換処理、前記第1のクロマ変換処理、及び前記第2のクロマ変換処理がスキップされ、かつ、前記符号化ユニットがシングルツリー構造を用いて前記符号化ツリーユニットから分割される場合、当該符号化ユニットに対する前記特定の変換処理は他の条件に依らず常に実行されずに、前記符号化ユニットに対する前記インデックスは前記ビットストリームに符号化されず、当該符号化ユニットに対する当該インデックスの値は0であると推定され、
前記ルマ変換処理がスキップされ、かつ、前記符号化ユニットが前記ルマ成分に対する前記デュアルツリー構造を用いて前記符号化ツリーユニットから分割される場合、当該符号化ユニットに対する前記インデックスは前記ビットストリームに符号化されず、当該符号化ユニットに対する当該インデックスの値は0であると推定され、
前記第1のクロマ変換処理及び前記第2のクロマ変換処理がスキップされ、かつ、前記符号化ユニットが前記複数のクロマ成分に対する前記デュアルツリー構造を用いて前記符号化ツリーユニットから分割される場合、当該符号化ユニットに対する前記インデックスは前記ビットストリームに符号化されず、当該符号化ユニットに対する当該インデックスの値は0であると推定され、
前記符号化ツリーユニットにおける符号化ユニットを複数の符号化ユニットに分割するためにターナリー分割を使用することが可能であり、
前記符号化ツリーユニットにおける符号化ユニットを複数の符号化ユニットに分割するためにバイナリ分割を使用することが可能である、
ことを特徴とする装置。
【請求項5】
コンピュータに、請求項1に記載の方法を実行させることを特徴とするプログラム。
【請求項6】
コンピュータに、請求項2に記載の方法を実行させることを特徴とするプログラム。
発明の詳細な説明
【技術分野】
【0001】
関連出願の参照
本出願は、2019年12月3日に出願されたオーストラリア国特許出願第2019275553号の米国特許法セクション119に基づく出願日の利益を主張するものであり、本明細書に完全に記載されているかのように、その全体が参照により組み込まれる。
続きを表示(約 5,200 文字)
【0002】
本発明は、一般に、デジタルビデオ信号処理に関し、特に、ビデオサンプルのブロックを符号化および復号化するための方法、装置およびシステムに関するものである。また、本発明は、ビデオサンプルのブロックを符号化および復号化するためのコンピュータプログラムを記録したコンピュータ可読媒体を含むコンピュータプログラム製品にも関する。
【背景技術】
【0003】
ビデオデータの送信および保存のためのアプリケーションを含む、ビデオ符号化のための多くのアプリケーションが現在存在する。また、多くのビデオ符号化標準が開発されており、他のものも現在開発中である。ビデオ符号化の標準化の最近の進展により、「ジョイントビデオエキスパートチーム」(JVET)と呼ばれるグループが形成されている。ジョイントビデオエキスパートチーム(JVET)は、「ビデオ符号化エキスパートグループ」(VCEG)とも呼ばれる国際電気通信連合(ITU)の電気通信標準化部門(ITU-T)のスタディグループ16,研究課題6(SG16/Q6)のメンバーと「動画エキスパートグループ」(MPEG)とも呼ばれる国際標準化機構/国際電気標準会議のジョイント技術委員会1/サブ委員会29/作業グループ11(ISO/IEC JTC1/SC29/WG11)のメンバーとを含んでいる。
【0004】
ジョイントビデオエキスパートチーム(JVET)は、提案募集(CfP)を発行し、米国のサンディエゴで開催された第10回会議で回答を分析した。提出された提案は、現在の最新ビデオ圧縮規格である「高効率ビデオ符号化」(HEVC)を大幅に上回るビデオ圧縮能力を示していた。この結果を受けて、新たなビデオ圧縮規格である「多用途ビデオ符号化(VVC)」の開発プロジェクトを開始することが決定された。VVCは、ビデオフォーマットの高機能化(高解像度化、高フレームレート化)や、帯域コストが相対的に高いWAN上でのサービス提供に対する市場の要求の高まりを受けて、これまで以上に高い圧縮性能が求められている。没入型ビデオなどのユースケースでは、このような高次フォーマットのリアルタイムの符号化と復号化が必要であり、例えば、キューブマッププロジェクション(CMP)では、最終的にレンダリングされる「ビューポート」が低解像度であっても、8Kフォーマットを使用することがある。VVCは現代のシリコンプロセスで実装可能でなければならず、達成された性能と実装コストの間に許容できるトレードオフを提供しなければならない。実装コストは、例えば、シリコン面積、CPUプロセッサの負荷、メモリ利用率、帯域幅の1以上の観点から検討することができる。高次のビデオフォーマットは、フレーム領域を複数のセクションに分割し、各セクションを並行して処理することによって処理することができる。「シングルコア」復号化器による復号化(つまり、ビットレートを含むフレームレベルの制約)に適した、圧縮フレームの複数のセクションから構築されたビットストリームは、アプリケーションのニーズに応じて各セクションに割り当てられる。
【0005】
ビデオデータは、各フレームが1つ以上のカラーチャネルを含む画像データの複数のフレームのシーケンスを含む。一般的には、1つのプライマリカラーチャネルと2つのセカンダリカラーチャネルが必要である。プライマリカラーチャネルは一般に「ルマ」チャネルと呼ばれ、セカンダリカラーチャネル(複数可)は一般に「クロマ」チャネルと呼ばれる。ビデオデータは通常、RGB(赤-緑-青)色空間で表示されるが、この色空間は3つの成分の間に高度な相関関係がある。符号化器や復号化器が見るビデオデータの表現は、多くの場合、YCbCrなどの色空間を用いている。YCbCrは、伝達関数によって「ルマ」にマッピングされた輝度をY(プライマリ)チャネルに、クロマをCbとCr(セカンダリ)チャネルに集約している。相関の無いYCbCr信号を使用するため、ルマチャネルの統計量はクロマチャネルの統計量と大きく異なる。主な違いは、量子化の後、クロマチャネルは、対応するルマチャネルブロックの係数と比較して、所与のブロックの有意な係数が比較的少ないことである。さらに、CbおよびCrチャネルは、例えば水平方向に半分、垂直方向に半分というように、ルマチャネルに比べて低いレートで空間的にサンプリングされる(サブサンプルされる)ことがあり、これは「4:2:0クロマフォーマット」として知られている。4:2:0クロマフォーマットは、インターネットビデオストリーミング、テレビ放送、ブルーレイディスクへの保存など、一般消費者向けのアプリケーションで使用されている。CbチャネルとCrチャネルを水平方向にハーフレートでサブサンプリングし、垂直方向にはサブサンプリングしない方式は「4:2:2クロマフォーマット」として知られている。4:2:2クロマフォーマットは、映画製作用のビデオを撮影するなど、プロ向けの用途で使用されることが多い。4:2:2クロマフォーマットは、サンプリングレートが高いため、カラーグレーディングなどの編集作業に強いビデオが得られる。4:2:2クロマフォーマットの素材は、消費者に配信されるために、4:2:0クロマフォーマットに変換された後、符号化されることが多い。クロマフォーマットに加えて、ビデオは解像度とフレームレートによっても特徴づけられる。解像度は3840x2160の超高精細(UHD)や7680x4320の「8K」などがあり、フレームレートは60Hzや120Hzなどがある。ルマのサンプルレートは、約500メガサンプル/秒から数ギガサンプル/秒の範囲になる。4:2:0クロマフォーマットの場合、各クロマチャネルのサンプルレートは、ルマサンプルレートの1/4であり、4:2:2クロマフォーマットの場合、各クロマチャネルのサンプルレートは、ルマサンプルレートの1/2である。
【0006】
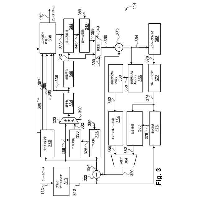
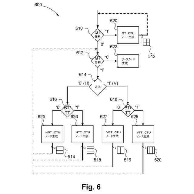
VVC規格は「ブロックベース」のコーデックであり、フレームはまず「符号化ツリーユニット」(CTU)として知られる正方形の領域配列に分割される。フレームが複数のCTUに整数分割できない場合、左端と下端に沿った複数のCTUはフレームサイズに合わせて切り捨てられることがある。CTUは一般的に、128×128のルマサンプルのような比較的大きな領域を占める。ただし、フレームの右端や下端にあるCTUは面積が小さい場合がある。各CTUに関連付けられた「符号化ツリー」は、ルマチャネルとクロマチャネルの両方に対して単一の(シングル)ツリー(「共有ツリー」)であってもよく、ルマチャネルとクロマチャネルのそれぞれに対して別々のツリー(「デュアルツリー」)に「フォーク」を含んでもよい。符号化ツリーは、CTUの領域を「符号化ユニット」(CU)と呼ばれるブロックの集合への分解を定義する。CBは特定の順序で符号化または復号化のために処理される。ルマとクロマの別々の符号化ツリーは一般に64×64のルマサンプル粒度で始まり、それ以上は共有ツリーが存在する。4:2:0クロマフォーマットを採用しているため、64×64のルマサンプル粒度で始まる個別の符号化ツリー構造には、32×32クロマサンプル領域を持つクロマ符号化ツリーが配置される。「ユニット」は、ブロックの元となる符号化ツリーの全カラーチャネルに適用されることを示す。単一の符号化ツリーは、1つのルマ符号化ブロックと2つのクロマ符号化ブロックを有する符号化ユニットになる。別の符号化ツリーのルマブランチは、それぞれが1つのルマ符号化ブロックを有する符号化ユニットをもたらし、別の符号化ツリーのクロマブランチは、それぞれが1対のクロマブロックを有する符号化ユニットをもたらす。上述のCUはまた、「予測ユニット」(PU)、および「変換ユニット」(TU)に関連付けられ、これらの各々は、CUが派生する符号化ツリーのすべてのカラーチャネルに適用される。同様に、符号化ブロックは、予測ブロック(PB)および変換ブロック(TB)と関連付けられ、それぞれが単一のカラーチャネルに適用される。4:2:0クロマフォーマットビデオデータのカラーチャネルにまたがるCUを持つ単一のツリーは、クロマ符号化ブロックが対応するルマ符号化ブロックの半分の幅と高さを持つ結果となる。
【0007】
上記の「ユニット」と「ブロック」の区別にかかわらず、「ブロック」という用語は、すべてのカラーチャネルに演算が適用されるフレームのエリアまたは領域の一般的な用語として使用することができる。
【0008】
各CUについて、フレームデータの対応するエリアのコンテンツ(サンプル値)の予測ユニット(PU)が生成される。さらに、予測値と、符号化器への入力時に見られる領域のコンテンツとの間の差(または「空間領域」残差)の表現が形成される。各カラーチャネルの差は、残差係数のシーケンスとして変換されかつ符号化され、所定のCUに対する1つまたは複数のTUを形成することができる。適用される変換は、残差値の各ブロックに適用される離散コサイン変換(DCT)または他の変換であってもよい。この変換は分離して適用され、二次元変換は2つのパスで実行される。まず、ブロック内のサンプルの各行に1次元変換を適用してブロックを変換しり。次に、部分結果の各列に一次元変換を適用して部分結果を変換し、残差サンプルを実質的に相関させる変換係数の最終ブロックを生成する。VVC規格では、様々なサイズの変換がサポートされており、各辺が2の累乗になっている長方形のブロックの変換も含まれる。変換係数は、ビットストリームへのエントロピー符号化のために量子化される。さらに、分離不可能な変換ステージが適用されることもある。最後に、変換の適用がバイパスされることもある。
【0009】
VVCの特徴は、イントラフレーム予測とインターフレーム予測である。イントラフレーム予測は、フレーム内で以前に処理されたサンプルを使用して、フレーム内の現在のサンプルブロックの予測を生成するものである。インターフレーム予測は、以前に復号されたフレームから得られたサンプルのブロックを使用して、フレーム内のサンプルの現在のブロックの予測を生成することを含む。以前に復号化されたフレームから得られたサンプルのブロックは、動きベクトルに従って現在のブロックの空間的位置からオフセットされ、多くの場合、フィルタリングが適用されている。イントラフレーム予測ブロックは、(i)一様なサンプル値(「DCイントラ予測」)、(ii)オフセットと水平および垂直勾配を有する平面(「平面イントラ予測」)、(iii)特定の方向に適用される近隣のサンプルとブロックの集団(「角度イントラ予測」)、または(iv)近隣のサンプルと選択した行列係数を用いた行列積の結果であり得る。予測されたブロックと対応する入力サンプルとの間のさらなる不一致は、ビットストリームに「残差」を符号化することによってある程度補正することができる。残差は一般に空間領域から周波数領域に変換されて(「一次変換」領域で)残差係数を形成し、(「二次変換領域」で残差係数を生成するために)「二次変換」の適用によってさらに変換されることがある。残差係数は量子化パラメータに従って量子化され、その結果、復号化器で生成されるサンプルの再構成の精度は失われるが、ビットストリームのビットレートは減少する。
【0010】
量子化パラメータは、フレーム間および各フレーム内で変化することがある。フレーム内で量子化パラメータを変化させることは、「レート制御」符号化器の典型的な例である。レート制御符号化器は、ノイズ特性や動きの度合いなど、受信した入力サンプルの統計に関係なく、実質的に一定のビットレートでビットストリームを生成しようとするものである。ビットストリームは通常、帯域幅が限られたネットワーク上で伝送されるため、レート制御は、符号化器に入力されるオリジナルフレームの変動にかかわらず、ネットワーク上で信頼できるパフォーマンスを確保するために広く使用されている技術である。フレームが並列セクションで符号化される場合、セクションによって要求される忠実度が異なるため、レート制御の使用には柔軟性が必要である。
(【0011】以降は省略されています)
この特許をJ-PlatPat(特許庁公式サイト)で参照する
関連特許
キヤノン株式会社
トナー
20日前
キヤノン株式会社
トナー
15日前
キヤノン株式会社
トナー
15日前
キヤノン株式会社
トナー
15日前
キヤノン株式会社
トナー
2日前
キヤノン株式会社
現像装置
13日前
キヤノン株式会社
記録装置
13日前
キヤノン株式会社
現像容器
13日前
キヤノン株式会社
記録装置
20日前
キヤノン株式会社
撮影装置
13日前
キヤノン株式会社
定着装置
14日前
キヤノン株式会社
測距装置
8日前
キヤノン株式会社
現像容器
13日前
キヤノン株式会社
撮像装置
16日前
キヤノン株式会社
現像装置
6日前
キヤノン株式会社
撮像装置
20日前
キヤノン株式会社
電子機器
22日前
キヤノン株式会社
現像装置
13日前
キヤノン株式会社
現像剤容器
21日前
キヤノン株式会社
半導体装置
22日前
キヤノン株式会社
光学センサ
15日前
キヤノン株式会社
モジュール
15日前
キヤノン株式会社
画像形成装置
21日前
キヤノン株式会社
画像形成装置
20日前
キヤノン株式会社
画像形成装置
20日前
キヤノン株式会社
電子写真装置
6日前
キヤノン株式会社
吐出素子基板
20日前
キヤノン株式会社
画像形成装置
6日前
キヤノン株式会社
情報処理装置
20日前
キヤノン株式会社
画像形成装置
6日前
キヤノン株式会社
画像形成装置
6日前
キヤノン株式会社
画像形成装置
16日前
キヤノン株式会社
画像形成装置
16日前
キヤノン株式会社
画像形成装置
16日前
キヤノン株式会社
画像処理装置
21日前
キヤノン株式会社
画像形成装置
9日前
続きを見る
他の特許を見る