TOP
|
特許
|
意匠
|
商標
特許ウォッチ
Twitter
他の特許を見る
10個以上の画像は省略されています。
公開番号
2025157373
公報種別
公開特許公報(A)
公開日
2025-10-15
出願番号
2025118678,2023174929
出願日
2025-07-15,2012-08-10
発明の名称
車両用システム及びプログラム
出願人
株式会社ユピテル
代理人
主分類
G01C
21/26 20060101AFI20251007BHJP(測定;試験)
要約
【課題】車両の運転者に向けて音声を出力する制御を行うレーダー探知機であって、個々の運転者が必要とする情報を音声により適切に提供するレーダー探知機を提供すること。
【解決手段】レーダー探知機1は、交通取締が行われる取締地点の位置情報等を含むGPSコンテンツや音声出力用情報などが格納されたデータベース100を備え、運転者の個人情報を含む複数種類の取得情報に基づき、取得情報の情報内容の組合せに応じてデータベース100に格納された音声出力用情報のうちの何れかを選択し音声により出力する。
【選択図】図3
特許請求の範囲
【請求項1】
警報対象の所定の電波が受信されたことに応じて警報を出力する機能を有する車両用システムであって、
前記所定の電波の受信レベルが次第に強くなっていくときの警報と、受信レベルが次第に弱くなっていくときの警報を異なる警報とする機能を備え、
前記受信レベルは、少なくとも最低と最高と前記最低と前記最高の間のレベルを備える複数の段階に割り当て、複数の段階のうち、前記間のレベルにあたる所定の段階において前記異なる警報を行うこと
を特徴とする車両用システム。
続きを表示(約 210 文字)
【請求項2】
前記所定の段階は、前記複数の段階のうち中間の段階としたこと
を特徴とする請求項1に記載の車両用システム。
【請求項3】
前記警報は、電波を受信している「エリア」であることを示す内容を含むこと
を特徴とする請求項1または2に記載の車両用システム。
【請求項4】
請求項1から3のいずれかに記載の車両用システムの機能をコンピュータに実現させるためのプログラム。
発明の詳細な説明
【技術分野】
【0001】
本発明は、車両の運転者に向けて音声を出力する制御を行う車両用システムに関する。
続きを表示(約 1,600 文字)
【背景技術】
【0002】
従来より、車両の運転を支援するための運転支援装置として、地図を表示して経路を案内するナビゲーション装置や、交通取締情報を提示するレーダー探知機等の車載装置が知られている。
一般的なナビゲーション装置は、目的地までの経路計算機能と、自車の現在位置を測位するためのGPS機能と、を備えている。このようなナビゲーション装置の中には、計算した経路に沿って走行するための進路方向を音声で案内する装置もある(例えば、特許文献1参照。)。
【0003】
レーダー探知機としては、速度取締のレーダ波を受信する機能に加えて、速度取締システムの設置ポイントに関するデータベース、及び現在位置を取得するGPS機能を備えた装置がある。このようなレーダ探知機は、速度取締システムの設置ポイントへの車両の接近を検知し、その旨を音や光で運転者に警告する(例えば、特許文献2参照。)。
【0004】
しかしながら、前記従来の運転支援装置では、次のような問題がある。すなわち、これらの運転支援装置が出力する運転支援情報は、経路情報や速度取締システムの設置ポイントなど運転支援装置が内部的に保有する情報と、現在位置などの車両情報と、の組合せに基づく画一的な情報であるため、個々の運転者が必要とする情報を過不足なく適切に提供するという観点において不十分であるという問題がある。
【先行技術文献】
【特許文献】
【0005】
特開2012-56396号公報
特開2007-248180号公報
【発明の概要】
【発明が解決しようとする課題】
【0006】
本発明は、前記従来の問題点に鑑みてなされたものであり、車両の運転者に向けて音声を出力する制御を行う車両用システムであって、個々の運転者が必要とする情報を音声により適切に提供する車両用システムを提供しようとする発明である。
【課題を解決するための手段】
【0007】
本発明の一態様は、車両の運転者に向けて音声を出力する制御を行う車両用システムであって、
運転者の個人情報を含む複数種類の取得情報に基づき、
当該複数種類の取得情報の情報内容の組合せに応じて、音声出力される複数種類の音声出力用情報のうちの何れかを選択し音声により出力する車両用システムにある(請求項1)。
【0008】
本発明の一態様は、車両の運転者に向けて音声を出力する制御を行う車両用システムを制御するためのプログラムであって、
本発明の車両用システムの機能を実現させるためのコンピュータ用のプログラムにある(請求項30)。
【0009】
本発明の車両用システムは、前記個人情報を含む前記複数種類の取得情報に基づき、前記情報内容の組合せに応じた何れかの音声出力用情報を音声により出力する。前記複数種類の取得情報の中には、運転者の個人情報が含まれている。それ故、この車両用システムによれば、個々の運転者に対して適切な音声出力用情報を出力できる。このように音声出力用情報を提供できれば、個々の運転者に対応してきめ細かく運転を支援できるほか、音声出力により運転者を和ませたり楽しませることが可能である。
【0010】
本発明における運転者の個人情報としては、運転者の自宅の位置の緯度経度などの情報や、運転者が所属する会社や学校等の団体の所在地の情報や、運転者が良く走行する経路に関する情報や、運転者の嗜好や興味や好みに関する情報や、運転者の行動パターンに関する情報や、運転者の生年月日や記念日に関する情報等がある。これらの個人情報については、運転者による操作に応じて登録したり、車両の走行履歴等に応じて自動生成すると良い。
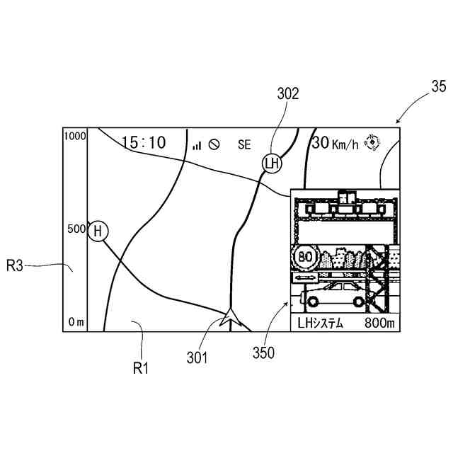
(【0011】以降は省略されています)
この特許をJ-PlatPat(特許庁公式サイト)で参照する
関連特許
株式会社ユピテル
システム等
20日前
株式会社ユピテル
システム等
1か月前
株式会社ユピテル
システム及びプログラム
12日前
株式会社ユピテル
システム及びプログラム
16日前
株式会社ユピテル
電子機器及びプログラム
1か月前
株式会社ユピテル
システム及びプログラム等
1か月前
株式会社ユピテル
システムおよびプログラム等
1か月前
株式会社ユピテル
車両用システム及びプログラム
4日前
株式会社ユピテル
端末、撮影機器、プログラム等
1か月前
株式会社ユピテル
録画装置及び車両情報処理装置等
1か月前
株式会社ユピテル
電子機器と、静止画を動画化するサーバと、プログラム等
4日前
個人
メジャー文具
12日前
個人
高精度同時多点測定装置
4日前
個人
アクセサリー型テスター
5日前
日本精機株式会社
位置検出装置
18日前
日本精機株式会社
位置検出装置
18日前
日本精機株式会社
位置検出装置
18日前
ユニパルス株式会社
ロードセル
11日前
大和製衡株式会社
組合せ秤
23日前
大和製衡株式会社
組合せ秤
23日前
アズビル株式会社
圧力センサ
17日前
株式会社ヨコオ
ソケット
10日前
株式会社チノー
放射光測温装置
11日前
株式会社ヨコオ
ソケット
11日前
株式会社ユーシン
操作検出装置
20日前
エイブリック株式会社
磁気センサ回路
17日前
トヨタ自動車株式会社
検査装置
20日前
トヨタ自動車株式会社
監視装置
10日前
ダイキン工業株式会社
監視装置
9日前
株式会社東芝
センサ
23日前
株式会社東芝
センサ
23日前
東レエンジニアリング株式会社
計量装置
20日前
長崎県
形状計測方法
5日前
TDK株式会社
磁気センサ
10日前
TDK株式会社
ガスセンサ
16日前
ローム株式会社
半導体装置
3日前
続きを見る
他の特許を見る