TOP
|
特許
|
意匠
|
商標
特許ウォッチ
Twitter
他の特許を見る
10個以上の画像は省略されています。
公開番号
2025142022
公報種別
公開特許公報(A)
公開日
2025-09-29
出願番号
2025118677,2023178635
出願日
2025-07-15,2019-10-25
発明の名称
システム等
出願人
株式会社ユピテル
代理人
主分類
H04N
5/77 20060101AFI20250919BHJP(電気通信技術)
要約
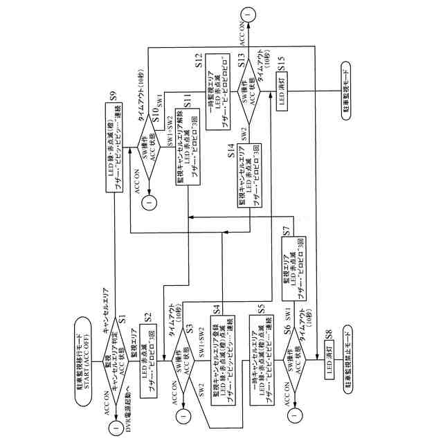
【課題】 駐車録画をしないキャンセルエリアを設定した状態のまま、一時的に駐車録画をし、その後に所定の条件を満たさない状態で当該設定中の駐車位置に駐車した場合は、特別な操作をすることなく元々設定されていた駐車録画をするシステムを提供する。
【解決手段】 駐車位置で撮影した映像を記録する駐車監視機能と、駐車監視機能の作動を抑制する駐車位置を設定する機能を備える。駐車監視機能は、設定中の駐車位置に駐車された場合でも、所定の条件を満たした場合は映像を記録する。
【選択図】 図1
特許請求の範囲
【請求項1】
駐車位置で撮影した映像を記録する駐車監視機能と、
前記駐車監視機能の作動を抑制する駐車位置を設定する機能と、を備え、
前記駐車監視機能は、設定中の駐車位置に駐車された場合でも、所定の条件を満たした場合は前記映像を記録するシステム。
続きを表示(約 930 文字)
【請求項2】
前記駐車監視機能の作動を抑制することは、前記映像を記録しないことである請求項1に記載のシステム。
【請求項3】
前記駐車監視機能は、設定中の駐車位置でない位置に駐車された場合でも、所定の条件を満たした場合は作動を抑制する請求項1または2に記載のシステム。
【請求項4】
駐車中の映像を記録する駐車位置を設定する機能と、
設定中の駐車位置に駐車された場合に、撮影した映像を記録する駐車監視機能と、を有し、
前記駐車監視機能は、設定中の駐車位置に駐車された場合でも、所定の条件を満たした場合は前記映像の記録を抑制するシステム。
【請求項5】
前記駐車監視機能は、設定中の駐車位置でない位置に駐車された場合でも、所定の条件を満たした場合は駐車中の映像を記録する請求項4に記載のシステム。
【請求項6】
前記所定の条件は、前記駐車位置に駐車された際の操作に基づくものである請求項1から5のいずれか1項に記載のシステム。
【請求項7】
前記操作に基づき発光部の発光状態を変更させる機能を備えた請求項6のいずれか1項に記載のシステム。
【請求項8】
前記操作により前記所定の条件を満たすか否かを切り替えるようにし、
駐車してから所定時間を経過するまでに前記操作がない場合に前記所定の条件を満たしたとし、
前記操作があると、前記所定時間を延長し、その延長した時間の経過により前記所定の条件を満たすか否かを確定するようにした請求項6または7に記載のシステム。
【請求項9】
前記操作とは異なる操作に応じて前記所定の条件を満たすか否かを切り替える機能と、
前記駐車位置に関する設定の更新を行う機能と、
を備える請求項6から8のいずれか1項に記載のシステム。
【請求項10】
表示部を備え、
前記所定の条件は、前記駐車位置に駐車された際の前記表示部の画面に対する操作に基づくものである請求項1から9のいずれか1項に記載のシステム。
(【請求項11】以降は省略されています)
発明の詳細な説明
【技術分野】
【0001】
本発明は、例えばシステム等に関するものである。
続きを表示(約 2,300 文字)
【背景技術】
【0002】
特許文献1には、車載機器及びシステムなどに関する発明(段落[0001]等)について、段落[0055]に、「監視バッテリはACC電源からの給電が遮断されると、ドライブレコーダへの給電元を車両から内部バッテリへ切替え、ドライブレコーダへの給電を継続する。」と記載され、また、段落[0076]に、「「マイエリア」とは、「録画モード」が「手動」と設定されている場合であっても、自動で、監視録画を行うエリアである。「マイキャンセルエリア」とは、「録画モード」が「自動」と設定されている場合であっても、自動では、監視録画を行わないエリアである。ユーザは、例えば、セキュリティがない自宅の駐車場などを「マイエリア」に登録すれば、自宅の駐車場に駐車すると、自動で監視録画を行うことができる。「マイキャンセルエリア」は、「設定」にて、予め登録することができる構成となっている。また、ユーザは、例えば、セキュリティがある勤務先の駐車場を「マイキャンセルエリア」に登録すれば、勤務先の駐車場では、監視録画を行わないことができる。」と記載されている。
【先行技術文献】
【特許文献】
【0003】
特開2017-195755号公報
【発明の概要】
【発明が解決しようとする課題】
【0004】
例えば駐車中に監視録画を行ったり、行わなかったりする場合に、設定の登録内容を変更する必要があり煩雑な場合がある。例えば車両を停車してACCをOFFにした場合、早く降車したいという運転者がいると、設定の登録内容の変更を必要とするシステムでは当該運転者の要求を満たせない場合がある。また例えば、運転者は、車両を駐車して降車する際に、面倒な設定の切換などをすることなく降車しつつ、適切な駐車監視機能の作動/抑制をしたい場合がある。
【0005】
従来、駐車中の監視は、監視録画をするか否かというように画一的で、例えばバッテリ残量などの車両の状況、駐車した場所、周囲の状況、駐車時間などに応じた駐車監視が行えない。本発明の目的の一つは、このような駐車中の監視録画に関する課題を解決することである。
【0006】
ところで、ドライブレコーダの録画データの中で、事故をしそうな状態(いわゆるヒヤリハット)の運転時の録画データが、どこに録画されているか分かりにくい、という課題がある。現状のドライブレコーダは、事故の時の記録に特化しているため、Gセンサが閾値を超えるような大きな衝撃があったときは、イベント録画(イベント記録ともいう。)として重要度を高めて保存している。しかし、事故しそうな状態(ヒヤリハット)のときにユーザが、イベントボタン記録を指示する操作を行わなければ、ヒヤリハット時の画像が通常録画の画像に埋もれてしまい、後で分かりにくい場合がある。そのため、ヒヤリハット運転を動画でふりかえってみることが、面倒になっている。そこで、本発明の他の目的の一つは、このような運転中の録画に関する課題を解決するものである。
【0007】
上述した課題はそれぞれ独立したものとして記載しているものであり、本発明は、必ずしも記載した課題の全てを解決できる必要はない。本願の発明の目的はこれに限定されず、本明細書及び図面等に開示される構成の部分から奏する効果を得ることを目的とする構成についても分割出願・補正等により権利取得する意思を有する。例えば本明細書において「~できる」と記載した箇所を「~が課題である」と読み替えた課題が本明細書には開示されている。課題はそれぞれ独立したものとして記載しているものであり、この課題を解決するための構成についても単独で分割出願・補正等により権利取得する意思を有する。課題が明細書の記載から黙示的に把握されるものであっても、本出願人は本明細書に記載の構成の一部を補正または分割出願にて特許請求の範囲とする意思を有する。またこれら独立の課題を組み合わせた課題も開示されている。
【課題を解決するための手段】
【0008】
(1)駐車位置で撮影した映像を記録する駐車監視機能と、前記駐車監視機能の作動を抑制する駐車位置を設定する機能と、を備え、前記駐車監視機能は、設定中の駐車位置に駐車された場合でも、所定の条件を満たした場合は前記映像を記録するように構成するとよい。
【0009】
所定の条件を満たした場合、駐車監視機能の作動を抑制する駐車位置の設定を維持したまま、駐車位置で撮影した映像を記録する。記録を行わない駐車位置の設定は維持されているので、その後に所定の条件を満たさない状態で当該設定中の駐車位置に駐車した場合は、駐車監視機能の作動が抑制される。例えば、運転者は、車両を駐車して降車する際に、特別な操作(例えば面倒な設定の切換)をすることなく降車しつつ、適切な駐車監視機能の作動/抑制をしたいという課題を解決できる。
【0010】
(2)前記駐車監視機能の作動を抑制することは、前記映像を記録しないこととするとよい。このようにすると、設定された駐車位置に駐車された場合には駐車監視機能は映像を記録しない。予め適宜の駐車位置を設定することで、車両を駐車して降車する際に、所望の位置では駐車監視をし、設定した駐車位置では駐車監視しないようにできる。駐車位置の設定が変わっていないので、その後にその駐車位置に駐車する際には駐車記録をしない。よって、通常は駐車記録しないでよい場所で確実に駐車記録しないようにすることができる。
(【0011】以降は省略されています)
この特許をJ-PlatPat(特許庁公式サイト)で参照する
関連特許
株式会社ユピテル
システム等
1日前
株式会社ユピテル
電子機器及びプログラム
13日前
株式会社ユピテル
システム及びプログラム等
11日前
株式会社ユピテル
システムおよびプログラム等
11日前
株式会社ユピテル
端末、撮影機器、プログラム等
11日前
個人
店内配信予約システム
2か月前
WHISMR合同会社
収音装置
19日前
アイホン株式会社
電気機器
13日前
キヤノン株式会社
電子機器
2か月前
キヤノン株式会社
撮像装置
1か月前
株式会社リコー
画像形成装置
1か月前
キヤノン電子株式会社
画像読取装置
20日前
株式会社リコー
画像形成装置
1か月前
個人
ワイヤレスイヤホン対応耳掛け
11日前
株式会社リコー
画像形成装置
29日前
ブラザー工業株式会社
読取装置
1か月前
株式会社ニコン
撮像装置
2か月前
キヤノン株式会社
撮像システム
13日前
DXO株式会社
情報処理システム
2か月前
キヤノン電子株式会社
シート材搬送装置
1か月前
沖電気工業株式会社
画像形成装置
1日前
大日本印刷株式会社
写真撮影装置
12日前
株式会社小糸製作所
画像照射装置
28日前
パテントフレア株式会社
超高速電波通信
27日前
国立大学法人電気通信大学
小型光学装置
1か月前
パテントフレア株式会社
水中電波通信法
1か月前
株式会社松平商会
携帯機器カバー
22日前
株式会社リコー
画像形成装置
1か月前
株式会社JVCケンウッド
スピーカ
20日前
日本無線株式会社
無線通信システム
1か月前
日本無線株式会社
無線通信システム
1か月前
株式会社大林組
監視システム
1か月前
日本無線株式会社
無線通信システム
22日前
株式会社国際電気
遠隔監視システム
28日前
日本無線株式会社
無線通信システム
1か月前
日本無線株式会社
無線通信システム
5日前
続きを見る
他の特許を見る