TOP
|
特許
|
意匠
|
商標
特許ウォッチ
Twitter
他の特許を見る
10個以上の画像は省略されています。
公開番号
2025158218
公報種別
公開特許公報(A)
公開日
2025-10-17
出願番号
2024060554
出願日
2024-04-04
発明の名称
装置
出願人
古野電気株式会社
代理人
個人
,
個人
,
個人
主分類
G03B
17/56 20210101AFI20251009BHJP(写真;映画;光波以外の波を使用する類似技術;電子写真;ホログラフイ)
要約
【課題】設置の容易化を実現しつつ、ソーラーパネルと筐体の姿勢を個別に調整することが可能な装置を提供する。
【解決手段】装置は、ソーラーパネルと、ソーラーパネルにより生成された電力が供給される電子機器と、電子機器を収容する筐体と、ソーラーパネル及び筐体を支持する支持具であって、構造物に取り付けるための取付部と、ソーラーパネルの姿勢を調整するパネル調整機構と、筐体の姿勢を調整する筐体調整機構と、を有する支持具と、を備える。
【選択図】図1
特許請求の範囲
【請求項1】
ソーラーパネルと、
前記ソーラーパネルにより生成された電力が供給される電子機器と、
前記電子機器を収容する筐体と、
前記ソーラーパネル及び前記筐体を支持する支持具であって、構造物に取り付けるための取付部と、前記ソーラーパネルの姿勢を調整するパネル調整機構と、前記筐体の姿勢を調整する筐体調整機構と、を有する支持具と、
を備える、装置。
続きを表示(約 1,000 文字)
【請求項2】
前記筐体の壁部に、電磁波を透過する透過窓が設けられ、
前記電子機器は、前記電磁波を検出するセンサを有する、
請求項1に記載の装置。
【請求項3】
前記センサは、イメージセンサであり、
前記電子機器は、前記イメージセンサを有するカメラである、
請求項2に記載の装置。
【請求項4】
前記支持具は、水平方向に延びる片持ち梁部を有し、
前記ソーラーパネルは、前記片持ち梁部の上側に支持され、
前記筐体は、前記片持ち梁部の下側に支持される、
請求項1に記載の装置。
【請求項5】
前記パネル調整機構は、
前記片持ち梁部の先端部に設けられ、前記ソーラーパネルを鉛直方向に揺動可能に支持する軸支部と、
前記片持ち梁部の基端部に設けられ、前記ソーラーパネルに連結され、前記ソーラーパネルを第1角度と第2角度の間で調整可能な調整部と、
を有する、
請求項4に記載の装置。
【請求項6】
前記第1角度は、前記ソーラーパネルが水平に寝る角度であり、
前記第2角度は、前記ソーラーパネルが斜めに立つ角度である、
請求項5に記載の装置。
【請求項7】
前記調整部は、前記ソーラーパネルを前記第1角度にする第1位置と、前記ソーラーパネルを前記第2角度にする第2位置との間でスライド可能なレール部を有する、
請求項5に記載の装置。
【請求項8】
前記支持具は、前記取付部が設けられた鉛直方向に延びる基礎部を有し、
前記レール部は、前記第1位置にあるとき、前記軸支部の軸方向に見て前記基礎部と重なる、
請求項7に記載の装置。
【請求項9】
前記筐体調整機構は、
前記片持ち梁部に対して前記筐体をヨー方向に旋回させるヨー旋回機構と、
前記ヨー旋回機構に対して前記筐体をピッチ方向に旋回させるピッチ旋回機構と、
を有する、
請求項4に記載の装置。
【請求項10】
前記支持具は、前記取付部が設けられた鉛直方向に延びる基礎部を有し、
前記筐体は、前記片持ち梁部の延伸方向に見て前記基礎部と重なる、
請求項4に記載の装置。
(【請求項11】以降は省略されています)
発明の詳細な説明
【技術分野】
【0001】
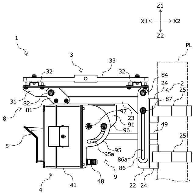
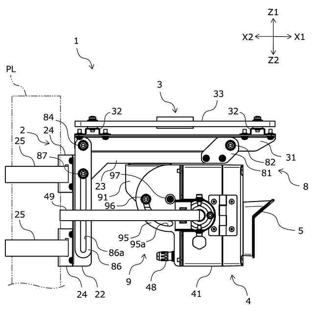
本発明は、監視装置などの装置に関する。
続きを表示(約 1,300 文字)
【背景技術】
【0002】
特許文献1には、支持棒体上部に取り付けたソーラーパネルと、ソーラーパネルより下の位置にて支持棒体に取り付けた窓付きの収容箱体と、収容箱体に収容され、窓から外側を撮影する撮影装置と、撮影された静止画または動画を送信する送信装置と、ソーラーパネルからの電力を蓄電し、撮影装置と送信装置へ電力を供給する電力供給装置とを備える遠隔監視システムが開示されている。
【0003】
特許文献2には、窓部を備えた筐体と、筐体の内部に配置され、窓部を介して筐体の外部を撮像して画像データを取得する画像取得部と、画像取得部が取得した画像データを無線で通信ネットワークに送信する情報転送部と、画像取得部と情報転送部とに電力を供給する二次電池と備える可搬型通信装置が開示されている。同文献には、ソーラーパネルをさらに備えることも開示されている。
【先行技術文献】
【特許文献】
【0004】
実用新案登録第3212029号公報
実用新案登録第3225157号公報
【発明の概要】
【発明が解決しようとする課題】
【0005】
ところで、特許文献1に開示された技術では、ソーラーパネルと箱体を個別に支持棒に取り付ける必要があるため、設置作業が煩雑である。
【0006】
また、特許文献2に開示された技術では、ソーラーパネルと筐体が一体的に設けられているが、それらの姿勢を個別に調整することはできない。また、ソーラーパネルと筐体が一体的に設けられると、装置が大型化してしまう。
【0007】
本発明は、上記課題に鑑みてなされたものであり、その主な目的は、設置の容易化を実現しつつ、ソーラーパネルと筐体の姿勢を個別に調整することが可能な装置を提供することにある。
【課題を解決するための手段】
【0008】
上記課題を解決するため、本発明の一の態様の装置は、ソーラーパネルと、前記ソーラーパネルにより生成された電力が供給される電子機器と、前記電子機器を収容する筐体と、前記ソーラーパネル及び前記筐体を支持する支持具であって、構造物に取り付けるための取付部と、前記ソーラーパネルの姿勢を調整するパネル調整機構と、前記筐体の姿勢を調整する筐体調整機構と、を有する支持具と、を備える。これによれば、設置の容易化を実現しつつ、ソーラーパネルと筐体の姿勢を個別に調整することが可能となる。
【0009】
上記態様において、前記筐体の壁部に、電磁波を透過する透過窓が設けられ、前記電子機器は、前記電磁波を検出するセンサを有してもよい。これによれば、筐体に収容されたセンサの検出方向を調整することが可能となる。
【0010】
上記態様において、前記センサは、イメージセンサであり、前記電子機器は、前記イメージセンサを有するカメラであってもよい。これによれば、筐体に収容されたカメラの撮像方向を調整することが可能となる。
(【0011】以降は省略されています)
この特許をJ-PlatPat(特許庁公式サイト)で参照する
関連特許
古野電気株式会社
装置
3日前
古野電気株式会社
監視装置
3日前
古野電気株式会社
電磁波整合装置、電磁波通過装置、及び壁
24日前
古野電気株式会社
監視装置、レンズ識別方法、及びプログラム
3日前
古野電気株式会社
気象予測装置、気象予測方法および気象予測プログラム
11日前
古野電気株式会社
海図情報表示システム、海図情報表示方法、及びプログラム
3日前
古野電気株式会社
船体制御装置、船体制御システム、船体制御方法、船体制御プログラム
3日前
個人
表示装置
5日前
個人
雨用レンズカバー
3日前
株式会社シグマ
絞りユニット
1か月前
平和精機工業株式会社
雲台
1か月前
日本精機株式会社
車両用投射装置
11日前
キヤノン株式会社
撮像装置
1か月前
キヤノン株式会社
撮像装置
1か月前
キヤノン株式会社
撮像装置
25日前
株式会社リコー
画像形成装置
2か月前
株式会社リコー
画像形成装置
1か月前
株式会社リコー
画像形成装置
1か月前
株式会社リコー
画像形成装置
2か月前
株式会社リコー
画像形成装置
2か月前
株式会社リコー
画像形成装置
21日前
キヤノン株式会社
画像形成装置
1か月前
キヤノン株式会社
トナー
17日前
キヤノン株式会社
トナー
1か月前
キヤノン株式会社
画像形成装置
6日前
キヤノン株式会社
画像形成装置
2か月前
ブラザー工業株式会社
再生方法
2か月前
キヤノン株式会社
画像形成装置
2か月前
シャープ株式会社
画像形成装置
2か月前
株式会社オプトル
プロジェクタ
24日前
キヤノン株式会社
画像形成装置
2か月前
株式会社オプトル
プロジェクタ
2か月前
キヤノン株式会社
トナー
12日前
キヤノン株式会社
画像形成装置
2か月前
キヤノン株式会社
画像形成装置
2か月前
キヤノン株式会社
画像形成装置
1か月前
続きを見る
他の特許を見る