TOP
|
特許
|
意匠
|
商標
特許ウォッチ
Twitter
他の特許を見る
公開番号
2025157015
公報種別
公開特許公報(A)
公開日
2025-10-15
出願番号
2024067811
出願日
2024-04-02
発明の名称
表示装置
出願人
個人
代理人
主分類
G03B
21/14 20060101AFI20251007BHJP(写真;映画;光波以外の波を使用する類似技術;電子写真;ホログラフイ)
要約
【課題】 仰臥したときに見やすいテレビ装置としては、テレビをアームの先端の保持具に取り付け、アームの基礎部を固定具に取り付ける方式が開示されているが、この装置では視聴者が見やすい位置にテレビを固定するためには、保持具及び固定具を所定の角度で固定する必要があり、例えば寝返りを打つたびに設置しなおすことは、かなり困難であった。
【解決手段】 プロジェクタとスクリーンと球面を有する構造体の重心が球面中心近傍にあって、球面に3つ以上のボールローラと摩擦弾性体とを接触させて構造体を保持することで、仰臥もしくは左右いずれの横臥状態でも、非常に軽い力でスクリーンを移動させて、視聴者が望む位置に置くことができる表示装置を構成することができる。
【選択図】図1
特許請求の範囲
【請求項1】
プロジェクタとスクリーンと球面を有する構造体の重心が球面中心近傍にあって、球面に3つ以上のボールローラと摩擦弾性体とを接触させて構造体を保持する表示装置。
発明の詳細な説明
【技術分野】
【0001】
本発明は仰臥もしくは横臥した時に、見やすい表示装置に関する技術分野である。
続きを表示(約 1,100 文字)
【背景技術】
【0002】
仰臥したときに見やすいテレビ装置としては、テレビをアームの先端の保持具に取り付け、アームの基礎部を固定具に取り付ける方式が提案されている。(特許文献1参照)
実用新案登録第3209224号広報
【発明の開示】
【発明が解決しようとする課題】
【0003】
しかしながら従来から知られている技術は、視聴者が見やすい位置にテレビを固定するためには、保持具及び固定具を所定の角度で固定する必要があり、例えば寝返りを打つたびに設置しなおすことは、かなり困難であった。
【0004】
本発明は上述した従来技術の問題点に鑑みてなされ、仰臥もしくは左右いずれの横臥状態でも、表示機器を視聴者の頭部からほぼ一定距離を保ちながら、つねに視聴者側に表示面を向けながら、視聴者が軽微な力で回転させることが可能でかつ大画面及び軽量な表示装置を実現するものである。
【課題を解決するための手段】
【0005】
上述した従来技術の問題点を解決し、上述した目的を達成するために、本発明のうち請求項1に記載した発明の表示装置は、プロジェクタとスクリーンと球面を有する構造体の重心が球面中心近傍にあって、球面に3つ以上のボールローラと摩擦弾性体とを接触させて構造体を保持することを特徴とする。
【発明の効果】
【0006】
第1の請求項に記載した発明に拠れば、プロジェクタとスクリーンと球面を有する構造体の重心が球面中心近傍にあって、球面に3つ以上のボールローラと摩擦弾性体とを接触させて構造体を保持することで、軽微な力で回転させることが可能となる効果がある。
【発明を実施するための最良の形態】
【0007】
以下本発明の実施形態を、図面を用いて詳細に説明する。
【0008】
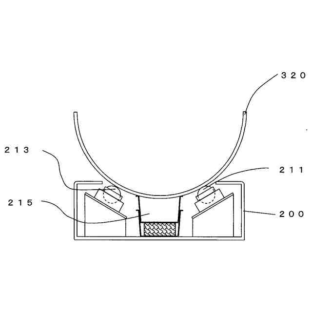
本実施形態は請求項1に記載の発明に対応した実施形態であり、図1、図2、図3及び図4は本実施形態における表示装置を説明するための図である。
【0009】
図1は本実施形態における表示装置の説明図であって、視聴者100が仰臥して、プロジェクタ310から投射される光がスクリーン350上に形成する画像を視聴している状態を表している。
【0010】
本実施形態の表示装置は、台座カバー200と、台座カバーの上に置かれた構造体300で構成され、構造体はスクリーン、スクリーン保持機構351,アーム340、ミラーボックス335,シャーシ313、半球殻320、プロジェクタ310などで構成されており、スクリーンはスクリーン保持機構でアームに保持されている。
(【0011】以降は省略されています)
この特許をJ-PlatPat(特許庁公式サイト)で参照する
関連特許
個人
表示装置
4日前
個人
雨用レンズカバー
2日前
株式会社シグマ
絞りユニット
1か月前
平和精機工業株式会社
雲台
1か月前
キヤノン株式会社
撮像装置
1か月前
キヤノン株式会社
撮像装置
1か月前
キヤノン株式会社
撮像装置
24日前
日本精機株式会社
車両用投射装置
10日前
株式会社リコー
画像形成装置
1か月前
株式会社リコー
画像形成装置
2か月前
株式会社リコー
画像形成装置
1か月前
株式会社リコー
画像形成装置
20日前
キヤノン株式会社
トナー
1か月前
キヤノン株式会社
トナー
16日前
株式会社オプトル
プロジェクタ
23日前
キヤノン株式会社
画像形成装置
2か月前
株式会社オプトル
プロジェクタ
2か月前
キヤノン株式会社
画像形成装置
1か月前
キヤノン株式会社
画像形成装置
5日前
キヤノン株式会社
画像形成装置
1か月前
シャープ株式会社
画像形成装置
2か月前
キヤノン株式会社
トナー
11日前
沖電気工業株式会社
画像形成装置
2日前
アイホン株式会社
機器の設置構造
2か月前
スタンレー電気株式会社
照明装置
12日前
アイホン株式会社
機器の設置構造
2か月前
キヤノン株式会社
現像装置
9日前
キヤノン株式会社
レンズキャップ
3日前
アイホン株式会社
カメラシステム
10日前
株式会社シグマ
絞り機構及びレンズ鏡筒
1か月前
沖電気工業株式会社
画像形成装置
1か月前
ブラザー工業株式会社
画像形成装置
1か月前
株式会社リコー
画像形成装置
20日前
株式会社リコー
画像投射装置
2か月前
古野電気株式会社
装置
2日前
ブラザー工業株式会社
画像形成装置
9日前
続きを見る
他の特許を見る