TOP
|
特許
|
意匠
|
商標
特許ウォッチ
Twitter
他の特許を見る
公開番号
2025158530
公報種別
公開特許公報(A)
公開日
2025-10-17
出願番号
2024061162
出願日
2024-04-05
発明の名称
雨用レンズカバー
出願人
個人
代理人
主分類
G03B
17/56 20210101AFI20251009BHJP(写真;映画;光波以外の波を使用する類似技術;電子写真;ホログラフイ)
要約
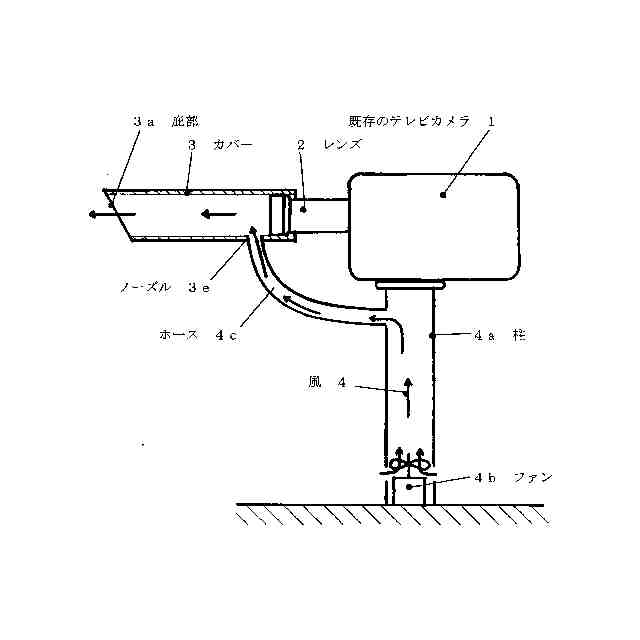
【課題】 従来のカメラは、テレビカメラ全体に薄いナイロン製のカバーを掛けるようにしているが、それでも雨天のゴルフ中継では、雨水がレンズに掛かり、放映された画面には雨水が映りこんでいた。 そこで、本発明の雨用レンズカバーは、既存のテレビカメラ(1)のレンズ(2)に、カバー(3)を取り付け可能とし、筒状の先端(3a)は80度から45度になっている。
【解決手段】 本発明の雨用レンズカバーは、既存のテレビカメラ(1)のレンズ(2)に、カバー(3)を取り付け可能とし、そのカバー(3)は筒状の先端(3a)が庇部(3a)になっている物を提供する。
【選択図】図1
特許請求の範囲
【請求項1】
既存のテレビカメラ(1)のレンズ(2)に、長さ20センチ以上のカバー(3)を取り付けることができ、
該カバー(3)は、筒状の先端の角度は、80度から45度の庇部(3a)になっていることを特徴とする雨用レンズカバー。
発明の詳細な説明
【技術分野】
【0001】
本発明は、庇の奥から撮影するので、雨水がかからない雨用レンズカバーに関するものである。
続きを表示(約 1,500 文字)
【背景技術】
【0002】
従来のカメラは、カメラマンが肩に担いで使用する肩掛け形のテレビカメラにおいては、使用環境に応じて、雨天の日の撮影は、撮影レンズを含め、テレビカメラ全体にビニール製のカバーを掛けるようにしている。
【0003】
また、台風などの様子を知れせる固定式のテレビカメラは、雨水がかかると、自動車などで使用しているワイパーを使用していた。そのワイパーが作動すると、その後雨水が撮影するレンズに付着して、その付着する按配によって、その雨の強さを視聴者は個々に判断していた。
【先行技術文献】
【特許文献】
【0004】
特願2021-189300
特願2017-97133
特願2006-165761
特願平8-79583
【発明の開示】
【発明が解決しようとする課題】
【0005】
従来のカメラは、カメラマンが肩に担いで使用する、肩掛け形のテレビカメラにおいては、使用環境に応じて撮影レンズを含め、テレビカメラ全体にカバーを掛けるようにしている。それでも、雨天のゴルフ中継では、雨水がレンズに掛かり、放映された画面には雨水の水滴が映りこんでいたので、撮影する人物などがぼやけていた。
【0006】
また、台風などの監視カメラは、ワイパーで雨水を払拭していたが、そのレンズ(2)に付く雨の大きさや、ワイパーをかける回数などで、テレビを見ている視聴者は、雨の強さを判断していた。しかし、ワイパーをかけたときだけ周りが視えていたが、直ぐに雨で周りの景色が見えなくなり、見苦しいものであった。また、港のようすを視るのに、ワイパーなどは無くてもスッキリ見えるためには、雨が降り込まない場所の、建物の中にカメラを入れて、そこから撮影をすると良く見える。
【0007】
そこで、本発明の雨用レンズカバーは、小さい建物と同じで、既存のテレビカメラ(1)のレンズ(2)に、カバー(3)を取り付け、そのカバー(3)は筒状の先端に庇部(3a)があり、そのカバー(3)が雨水を寄せ付けない雨用レンズカバーを提供するものである。
【課題を解決するための手段】
【0008】
上記目的を達成するために、本発明の雨用レンズカバーは、既存のテレビカメラ(1)のレンズ(2)に、長さ20センチ以上のパイプで、筒状のカバー(3)を着脱可能に取り付ける。
【0009】
そのカバー(3)は、筒状の先端の角度は、80度から45度の庇部(3a)になっていて、その下部に切れ目(3b)を入れて、レンズ(2)が大きくても挿入することで目的を達成した。
【発明の効果】
【0010】
本発明の雨用レンズカバーは、次のような効果がある。
(イ)後付であるため、雨天になったときだけ使用できる。
(詳しくは0012段落参照)
(ロ)下に切れ目があることで、取り付けがしやすい。
(詳しくは0012段落参照)
(ハ)レンズの前には発熱装置があり、レンズの曇りをなくする。
(詳しくは図3と0016段落参照)
(ニ)雨用レンズカバーの先端は、庇のようになっているので、雨がかからない。
(詳しくは0012段落参照)
(ホ)雨用レンズカバーには、風を送る装置が付いている。
(詳しくは図5と0027段落参照)
【図面の簡単な説明】
(【0011】以降は省略されています)
この特許をJ-PlatPat(特許庁公式サイト)で参照する
関連特許
個人
表示装置
5日前
個人
雨用レンズカバー
3日前
株式会社シグマ
絞りユニット
1か月前
平和精機工業株式会社
雲台
1か月前
キヤノン株式会社
撮像装置
1か月前
日本精機株式会社
車両用投射装置
11日前
キヤノン株式会社
撮像装置
25日前
キヤノン株式会社
撮像装置
1か月前
株式会社リコー
画像形成装置
21日前
株式会社リコー
画像形成装置
1か月前
株式会社リコー
画像形成装置
1か月前
株式会社リコー
画像形成装置
2か月前
株式会社リコー
画像形成装置
2か月前
株式会社リコー
画像形成装置
2か月前
キヤノン株式会社
画像形成装置
2か月前
キヤノン株式会社
トナー
17日前
株式会社オプトル
プロジェクタ
2か月前
株式会社オプトル
プロジェクタ
24日前
ブラザー工業株式会社
再生方法
2か月前
キヤノン株式会社
画像形成装置
2か月前
シャープ株式会社
画像形成装置
2か月前
キヤノン株式会社
画像形成装置
1か月前
キヤノン株式会社
画像形成装置
6日前
キヤノン株式会社
トナー
12日前
キヤノン株式会社
トナー
1か月前
キヤノン株式会社
画像形成装置
1か月前
キヤノン株式会社
画像形成装置
2か月前
キヤノン株式会社
画像形成装置
2か月前
キヤノン株式会社
画像形成装置
2か月前
キヤノン株式会社
画像形成装置
2か月前
アイホン株式会社
カメラシステム
11日前
アイホン株式会社
機器の設置構造
2か月前
キヤノン株式会社
現像装置
10日前
スタンレー電気株式会社
照明装置
13日前
株式会社シグマ
絞り機構及びレンズ鏡筒
2か月前
沖電気工業株式会社
画像形成装置
3日前
続きを見る
他の特許を見る