TOP
|
特許
|
意匠
|
商標
特許ウォッチ
Twitter
他の特許を見る
公開番号
2025158226
公報種別
公開特許公報(A)
公開日
2025-10-17
出願番号
2024060566
出願日
2024-04-04
発明の名称
締結式覆工板の損傷防止装置及び当該装置を備えた覆工板
出願人
ジェコス株式会社
代理人
個人
,
個人
主分類
E01C
9/08 20060101AFI20251009BHJP(道路,鉄道または橋りょうの建設)
要約
【課題】複数の覆工板が保管等で積層された際の、下段側の覆工板上面のコーティング処理の剥離や破損、および覆工板の吊り込みや締結金具の締付け作業中等における締結金具等の部品の落下を防止する。
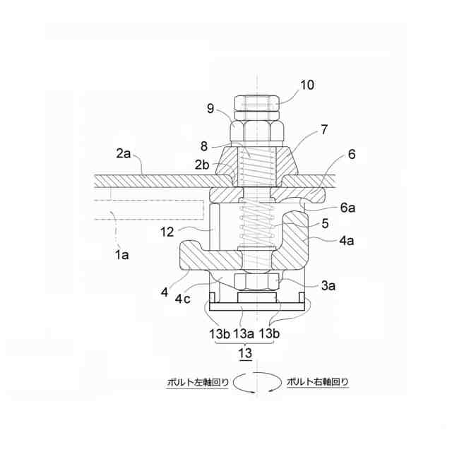
【解決手段】覆工板2の下面板2aを貫通する締結ボルト3と、締結ボルト3の下端部に取り付けられ、下面板2aの下側に覆工板2を受ける桁材1を挟持する締結金具4と、下面板2aと桁材1との間に配置され、締結金具4を保護する保護金具11を備えている。保護金具11は下面板2aに取り付けられ、締結金具4及び締結ボルト3の近傍を締結金具4および固定ボルト3より下方まで垂下する脚部12と脚部12の下端部に形成された底板部13を備えている。
【選択図】図1
特許請求の範囲
【請求項1】
覆工板を形成する下面板を貫通する締結ボルトと、前記締結ボルトの下端部に取り付けられ、前記下面板の下側に前記覆工板を受ける桁材を挟持する締結金具と、前記下面板と前記桁材との間に配置され、前記締結金具を保護する保護金具を備えてなる締結式覆工板の損傷防止装置であって、前記保護金具は前記下面板に取り付けられ、前記締結金具の外側近傍を前記締結金具より下方まで垂下する脚部と前記脚部の下端部に形成された底板部を備えていることを特徴とする締結式覆工板の損傷防止装置。
続きを表示(約 550 文字)
【請求項2】
請求項1記載の締結式覆工板の損傷防止装置において、前記底板部は前記締結金具の下方に伸びていることを特徴とする締結式覆工板の損傷防止装置。
【請求項3】
請求項1または2記載の締結式覆工板の損傷防止装置において、前記底板部に前記締結ボルトの締付け損傷時に前記締結ボルトが落下不可能な貫通孔が形成されていることを特徴とする締結式覆工板の損傷防止装置。
【請求項4】
請求項1または2記載の締結式覆工板の損傷防止装置において、前記保護金具は、前記締結ボルトと共に回転する前記締結金具の回転を一定範囲で阻止する回転止めを兼ねていることを特徴とする締結式覆工板の損傷防止装置。
【請求項5】
覆工板と、前記覆工板を形成する下面板を貫通する締結ボルトと、前記締結ボルトの下端部に取り付けられ、前記下面板の下側に前記覆工板を受ける桁材を挟持する締結金具と、前記下面板に取り付けられ、前記締結金具を保護する締結金具保護金具を備えてなる覆工板であって、前記締結金具保護金具は前記下面板に取り付けられ、前記締結金具の近傍を前記締結金具の下端部より下方に垂下する脚部と前記脚部の下端部に形成された底板部を備えていることを特徴とする損傷防止装置を備えた覆工板。
発明の詳細な説明
【技術分野】
【0001】
本発明は、複数の覆工板が保管や運搬などの目的で積層された際の、前記覆工板に取り付けられた覆工板締結金具による下段側覆工板の上面に塗布されたコーティング等の剥離や破損、および前記覆工板の吊り込みや締結金具の締付け等の作業中における前記締結金具などの部品の落下を防止して作業の安全性を図れるようにしたものである。
続きを表示(約 1,100 文字)
【背景技術】
【0002】
地下鉄工事などの地下工事では、工事中、地上の交通の妨げにならないように、地表部に覆工板を敷設して仮設道路が設置される。その際、覆工板は地下部仮設構台の地表部に架設された桁材の上に敷設され、複数の覆工板締結金具によって前記桁材に固定される。
【0003】
また一般に、各覆工板の上面には滑り止め等の目的でコーティング処理がされている。
【0004】
例えば、特許文献1に覆工板を桁材に固定する覆工板の締結機構および当該締結機構を備えた覆工板の発明が開示されている(図8(a),(b)参照)。
【0005】
具体的に説明すると、覆工板60の下面61を貫通するパイプ部材20と、当該パイプ部材20の側面に取り付けられ、先端がパイプ部材20の内側の空間部に突出する案内部材40と、パイプ部材20に挿入された円筒状の本体部12を備えている。
【0006】
また、本体部12の下端部に取り付けられ、覆工板60を桁材70に掛止する掛止部11を備えた締結金具10と、本体部12を下方に貫通すると共に、本体部12の下端部に配置されたナット14と螺合する締結ボルト30を備えている。
【0007】
さらに、本体部12の側面には締結ボルト30を締め込むことにより掛止部11を桁材70と干渉しない位置(桁材70と平行な位置)から桁材70に掛止する位置(桁材70と直角な位置)へと移動させるための案内溝13が設けられている。
【0008】
この場合、締結ボルト30を締め込むこと、案内部材40が案内溝13を案内溝13の連続方向に相対的に移動することで、締結金具10が上昇しながら回転することにより、締結金具10の掛止部11が桁材70と干渉しない位置から桁材70に掛止する位置へと移動する。これにより覆工板60を桁材70の上に固定することができる。
【0009】
また、覆工板60の底面には、締結金具10の近傍に位置し、かつ締結金具10の下端位置よりも下側に位置するような長さを有する保護部材65が取り付けられている。これにより、保管や運搬などの目的で複数の覆工板60が積層された際に、締結金具10が上下の覆工板60,60間に挟まれて変形や損傷したりするのを防止することができる。
【先行技術文献】
【特許文献】
【0010】
特開2024-31号公報
特開2009-19417号公報
特開2006-161549号公報
特許第3366110号
【発明の概要】
【発明が解決しようとする課題】
(【0011】以降は省略されています)
この特許をJ-PlatPat(特許庁公式サイト)で参照する
関連特許
ジェコス株式会社
締結式覆工板の損傷防止装置及び当該装置を備えた覆工板
7日前
株式会社熊谷組
床版
15日前
株式会社熊谷組
床版
15日前
個人
折り畳み式標識具
22日前
株式会社熊谷組
床版接合構造
25日前
北越消雪機械工業株式会社
消雪装置
22日前
株式会社セイトク
防雪パネル
7日前
白出商事株式会社
縁石銘板(名板)
17日前
株式会社NIPPO
斜面用ローラ
16日前
株式会社NIPPO
距離補正装置
15日前
株式会社NIPPO
斜面用ローラ
16日前
株式会社ササキコーポレーション
作業機
14日前
株式会社NIPPO
切削用制御装置
15日前
三信工業株式会社
床版架設装置
14日前
桑名金属工業株式会社
融雪マットおよび融雪方法
14日前
株式会社熊谷組
床版継手装置、及び、床版
25日前
東亜グラウト工業株式会社
防護柵の支柱構造
15日前
中井商工株式会社
橋梁の桁端止水工法
25日前
株式会社NIPPO
バンク用建設機械サポータ装置
16日前
西尾レントオール株式会社
コーンベット型電源装置
9日前
株式会社NIPPO
アスファルトスタッカ制御装置
16日前
日鉄神鋼建材株式会社
補強金具、及び支柱取付構造
15日前
日立建機株式会社
転圧機械
15日前
日鉄建材株式会社
吊り材で支持された足場用床パネル
14日前
鹿島建設株式会社
床版架設方法
今日
オリエンタル白石株式会社
補強鋼板及び排土方法
7日前
株式会社日本コンポジット工業
壁用構造体
14日前
三井住友建設株式会社
床版拡幅工法
16日前
宮地エンジニアリング株式会社
ワイヤブリッジの設置方法
3日前
株式会社NIPPO
コンクリートスタッカ
21日前
東日本旅客鉄道株式会社
横取り方法
21日前
鹿島建設株式会社
橋、および橋の製造方法
8日前
株式会社プロテックエンジニアリング
衝撃吸収柵
10日前
株式会社NIPPO
コンクリート舗装の施工方法
25日前
株式会社NIPPO
スコップ加熱器
14日前
オリエンタル白石株式会社
馬蹄形ジベルの合成床版撤去工法
1日前
続きを見る
他の特許を見る