TOP
|
特許
|
意匠
|
商標
特許ウォッチ
Twitter
他の特許を見る
公開番号
2025158337
公報種別
公開特許公報(A)
公開日
2025-10-17
出願番号
2024060777
出願日
2024-04-04
発明の名称
保持機構
出願人
日産自動車株式会社
代理人
弁理士法人とこしえ特許事務所
主分類
H01M
50/262 20210101AFI20251009BHJP(基本的電気素子)
要約
【課題】全固体電池の積層体の膨張収縮による荷重の変動に対して、積層体に加わる面圧をより適切に保持できる保持機構を提供することである。
【解決手段】全固体電池の積層体を積層方向に圧縮して積層体に加わる面圧を保持する保持機構であって、積層体の膨張収縮による前記積層方向の荷重の変動に応じて、油圧によって面圧を保持する面圧保持部と、油圧によって、積層体に対して積層方向に荷重を付与するように作動する油圧作動部と、油圧作動部に油圧を供給する油圧ポンプと、を備え、油圧作動部を作動させるための最大作動油圧は、面圧保持部の前記面圧を保持するための最大保持油圧よりも小さい。
【選択図】 図1
特許請求の範囲
【請求項1】
全固体電池の積層体を積層方向に圧縮して前記積層体に加わる面圧を保持する保持機構であって、
前記積層体の膨張収縮による前記積層方向の荷重の変動に応じて、油圧によって前記面圧を保持する面圧保持部と、
前記油圧によって、前記積層体に対して前記積層方向に荷重を付与するように作動する油圧作動部と、
前記油圧作動部に前記油圧を供給する油圧ポンプと、を備え、
前記油圧作動部を作動させるための最大作動油圧は、前記面圧保持部の前記面圧を保持するための最大保持油圧よりも小さい保持機構。
続きを表示(約 840 文字)
【請求項2】
請求項1に記載の保持機構であって、
前記面圧保持部が前記面圧を保持している場合に前記油圧作動部を作動させるための作動油圧は、前記面圧保持部が前記面圧を保持していない場合に前記油圧作動部を作動させるための作動油圧よりも小さい保持機構。
【請求項3】
請求項1又は2に記載の保持機構であって、
前記油圧作動部が前記積層体に対して前記積層方向に付与する最大荷重は、前記面圧保持部が前記積層体に対して前記積層方向に付与する最大荷重よりも大きい保持機構。
【請求項4】
請求項1又は2に記載の保持機構であって、
前記油圧作動部は、減速機と油圧モータとを備える油圧アクチュエータを備える保持機構。
【請求項5】
請求項1又は2に記載の保持機構であって、
前記面圧保持部は、油圧シリンダ機構を備える保持機構。
【請求項6】
請求項5に記載の保持機構であって、
前記面圧保持部は、逆止弁を備え、
前記逆止弁は、前記油圧シリンダ機構の油圧室内に油を注入する方向に開いて、前記油圧シリンダ機構の油圧室から前記油を排出する方向に閉じる保持機構。
【請求項7】
請求項5に記載の保持機構であって、
前記面圧保持部は、前記油圧シリンダ機構の油圧室内の前記油圧を調整する油路を備える保持機構。
【請求項8】
請求項1又は2に記載の保持機構であって、
前記積層体が複数ある場合には、前記積層体ごとに、前記面圧保持部と前記油圧作動部とを備え、
複数の前記積層体それぞれに備えられる前記油圧作動部はひとつの前記油圧ポンプによって作動される保持機構。
【請求項9】
請求項1又は2に記載の保持機構であって、
前記面圧保持部及び前記油圧作動部は、前記積層方向から見て、前記積層体の中央部に配置されている保持機構。
発明の詳細な説明
【技術分野】
【0001】
本発明は、保持機構に関するものである。
続きを表示(約 1,700 文字)
【背景技術】
【0002】
複数の単電池が積層した積層体と、積層体の積層方向の一方の端部に、積層体の積層方向にかかる圧力を調節する圧力調節部材とを備えた電池モジュールであって、圧力調節部材は、積層方向に弾性変形可能な複数のばねを備える技術が知られている(特許文献1)。
【先行技術文献】
【特許文献】
【0003】
特開2019-125455号
【発明の概要】
【発明が解決しようとする課題】
【0004】
しかしながら、特許文献1に記載の技術では、圧力調節部材のストローク量には限界があるため、積層体の膨張収縮によって荷重が大きく変動する場合に、積層体に加わる面圧を適切に保持できないことがあるという問題がある。
【0005】
本発明が解決しようとする課題は、全固体電池の積層体の膨張収縮による荷重の変動に対して、積層体に加わる面圧をより適切に保持できる保持機構を提供することである。
【課題を解決するための手段】
【0006】
本発明は、全固体電池の積層体を積層方向に圧縮して積層体に加わる面圧を保持する保持機構であって、積層体の膨張収縮による前記積層方向の荷重の変動に応じて、油圧によって面圧を保持する面圧保持部と、油圧によって、積層体に対して積層方向に荷重を付与するように作動する油圧作動部と、油圧作動部に油圧を供給する油圧ポンプと、を備え、油圧作動部を作動させるための最大作動油圧は、面圧保持部の前記面圧を保持するための最大保持油圧よりも小さいことによって上記課題を解決する。
【発明の効果】
【0007】
本発明によれば、全固体電池の積層体の膨張収縮による荷重の変動に対して、積層体に加わる面圧をより適切に保持できる。
【図面の簡単な説明】
【0008】
図1は、本発明の実施形態に係る保持機構を含む電池モジュールを模式的に示した正面図である。
図2は、本実施形態に係る保持機構に備えられる面圧保持部の一例を説明するための図である。
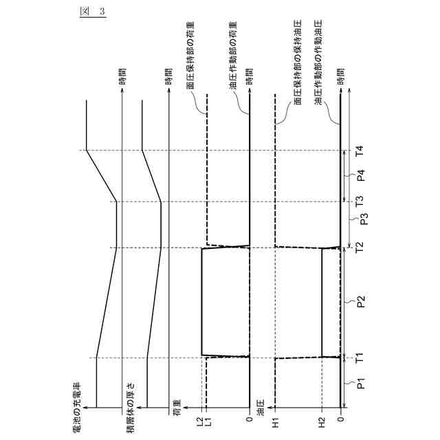
図3は、本実施形態における積層体及び保持機構の車両の状態に応じた状態の変化を説明するための図である。
図4は、本実施形態に係る保持機構の実施例を示す上面図及び断面図である。
図5は、本実施形態に係る油圧作動部に備えられる油圧モータの一例を示す上面図、断面図、及び下面図である。
図6は、本実施形態に係る保持機構の実施例を示す上面図及び断面図である。
【発明を実施するための形態】
【0009】
本発明の実施形態に係る保持機構について図面に基づいて説明する。本実施形態に係る保持機構は、全固体電池の電池モジュールに備えられる。電池モジュールは、例えば、電気自動車にバッテリとして搭載される。
【0010】
図1は、本発明の実施形態に係る保持機構を含む電池モジュールを模式的に示した正面図である。電池モジュール1は、全固体電池の積層体10と保持機構20と外装部材30とを備える。図1では、積層体10は、全固体電池がX軸方向に積層したものである。すなわち、X軸方向は、全固体電池が積層する積層方向である。Y軸は、全固体電池の面方向であって、X軸に対して垂直方向である。電池モジュール1は、ひとつに限らず、複数備えることとしてもよい。図1の例では、複数の電池モジュール1として、電池モジュール1a、1b、1cの3つの電池モジュールを備える。電池モジュールの数は、これに限らず、2つ以下、又は、4つ以上であってもよい。図1で示されているように、電池モジュール1(1a、1b、1c)は、積層体10(10a、10b、10c)と、保持機構20(20a、20b、20c)と、外装部材30(30a、30b、30c)とをそれぞれ備える。以下の説明では、複数の電池モジュール1のうち電池モジュール1aを例として説明するが、他の電池モジュール1b及び1cについてもそれぞれ同じ構成及び機能を備えるため、説明を省略して、電池モジュール1aの説明を適宜援用する。
(【0011】以降は省略されています)
この特許をJ-PlatPat(特許庁公式サイト)で参照する
関連特許
日産自動車株式会社
保持機構
3日前
日産自動車株式会社
積層型電池
3日前
日産自動車株式会社
面圧付与機構
3日前
日産自動車株式会社
車両制御装置及び車両制御方法
4日前
日産自動車株式会社
配車管理装置及び配車管理方法
13日前
日産自動車株式会社
配車管理装置及び配車管理方法
13日前
日産自動車株式会社
画像表示方法及び画像表示装置
10日前
日産自動車株式会社
画像処理方法及び画像処理装置
10日前
日産自動車株式会社
故障判定方法及び故障判定装置
17日前
日産自動車株式会社
配車管理装置及び配車管理方法
4日前
住友理工株式会社
筒型防振装置
12日前
日産自動車株式会社
固体酸化物形燃料電池の製造方法
5日前
日産自動車株式会社
車両監視方法、及び車両監視システム
13日前
日産自動車株式会社
電池劣化診断方法及び電池劣化診断装置
4日前
日産自動車株式会社
電池品質診断方法及び電池品質診断装置
4日前
日産自動車株式会社
充放電制御方法及び充放電制御システム
11日前
日産自動車株式会社
電池の仕分け方法及び電池の仕分け装置
4日前
日産自動車株式会社
ルート選出装置、ルート選出方法およびプログラム
4日前
日産自動車株式会社
車両制御装置及びこれによる車両周囲の空間認識処理方法
4日前
日産自動車株式会社
駐車支援方法、駐車支援装置及びコンピュータプログラム
10日前
日産自動車株式会社
車両用表示装置の検査方法、検査装置および検査プログラム
12日前
日本発條株式会社
積層体
21日前
個人
フレキシブル電気化学素子
10日前
ローム株式会社
半導体装置
19日前
日新イオン機器株式会社
イオン源
6日前
個人
防雪防塵カバー
21日前
ローム株式会社
半導体装置
17日前
株式会社ユーシン
操作装置
10日前
ローム株式会社
半導体装置
19日前
ローム株式会社
半導体装置
12日前
ローム株式会社
半導体装置
19日前
太陽誘電株式会社
コイル部品
10日前
オムロン株式会社
電磁継電器
11日前
株式会社GSユアサ
蓄電装置
21日前
株式会社GSユアサ
蓄電装置
17日前
株式会社ホロン
冷陰極電子源
4日前
続きを見る
他の特許を見る