TOP
|
特許
|
意匠
|
商標
特許ウォッチ
Twitter
他の特許を見る
公開番号
2025147576
公報種別
公開特許公報(A)
公開日
2025-10-07
出願番号
2024047894
出願日
2024-03-25
発明の名称
配車管理装置及び配車管理方法
出願人
日産自動車株式会社
代理人
個人
,
個人
,
個人
主分類
G08G
1/123 20060101AFI20250930BHJP(信号)
要約
【課題】 配車サービスに供される車両を用いて特定車両の走行を支援する。
【解決手段】 本発明は、配車サービスを管理する配車管理装置である。前記装置は、各前記車両の車両情報を記憶する車両情報データベースと、前記車両情報データベースに基づいて配車計画を行う配車計画部とを備える。前記配車計画部は、前記各車両から前記車両情報を取得する車両情報取得部と、ユーザの配車要求に基づいて前記ユーザに配車される車両を選択する車両選択部と、前記車両の前記配車計画を作成する配車計画作成部と、前記配車計画に従い前記車両に配車指示を行う配車指示部とを備える。前記配車計画部は、特定事態情報に基づいて、前記車両情報データベースを参照して、前記ユーザに未配車の車両を協力車両として選択し、前記特定車両の特定走行ルートに沿って前記協力車両が配備されるように前記配車計画を作成し、前記配車計画に従って前記協力車両に業務指示を行う。
【選択図】 図4
特許請求の範囲
【請求項1】
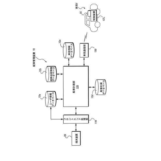
所定のサービス対象エリアにおける複数の車両の配車を管理する配車管理装置であって、
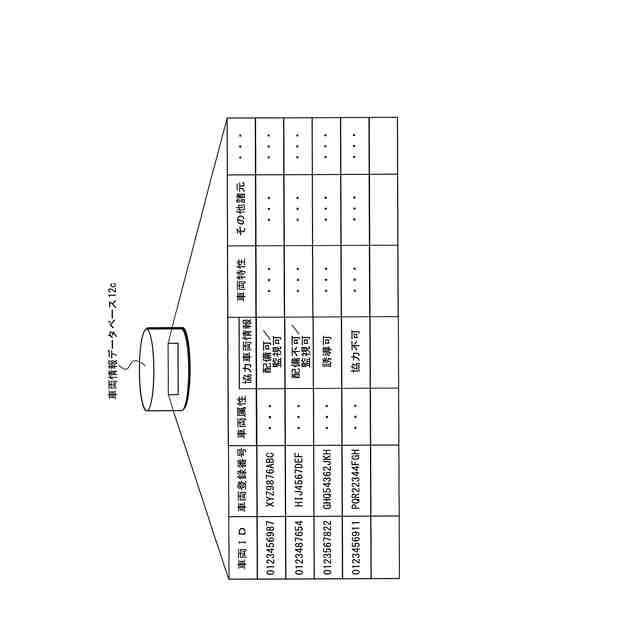
前記複数の車両の各々の前記車両情報を記憶する車両情報データベースと、
前記車両情報データベースに基づいて、配車されるべき車両の配車計画を行う配車計画部と、を備え、
前記配車計画部は、
前記複数の車両の各々から車両情報を取得する車両情報取得部と、
ユーザの配車要求に基づいて、前記複数の車両の中から前記ユーザに配車されるべき車両を選択する車両選択部と、
選択された前記車両の前記配車計画を作成する配車計画作成部と、
前記配車計画に従って前記車両に対して配車指示を行う配車指示部と、を備え、
前記車両選択部は、特定車両の走行に係る特定事態情報に基づいて、前記車両情報データベースを参照して、前記複数の車両のうち、前記ユーザに未だ配車されていない車両を協力車両として選択し、
前記配車計画作成部は、前記特定車両の特定走行ルートに沿って特定の配備地点に前記協力車両の幾つかが配備されるように、前記配車計画を作成し、
前記配車指示部は、前記配車計画に従って前記協力車両の幾つかが前記特定の配備地点に配備されるように、前記協力車両に移動指示を行う、
配車管理装置。
続きを表示(約 920 文字)
【請求項2】
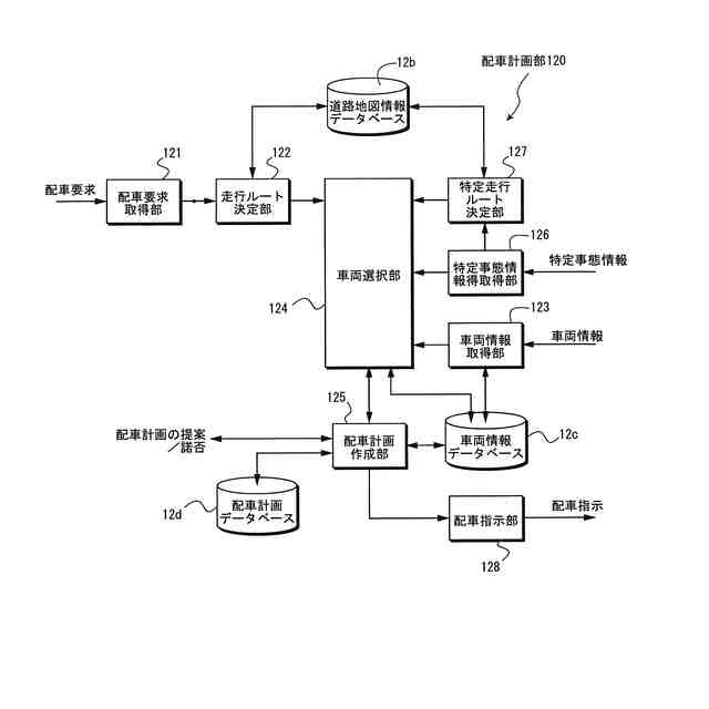
前記配車計画部は、前記特定事態情報に基づいて、前記特定車両の前記特定走行ルートを決定する特定走行ルート決定部を更に備える、
請求項1に記載の配車管理装置。
【請求項3】
前記特定走行ルート決定部は、前記特定車両の現在位置に基づいて前記特定車両の前記特定走行ルートを更新する、
請求項2に記載の配車管理装置。
【請求項4】
前記車両選択部は、更新された前記特定走行ルートに基づいて、前記協力車両の選択を更新する、
請求項2に記載の配車管理装置。
【請求項5】
前記配車計画作成部は、更新された前記特定走行ルートに基づいて、前記協力車両の配車計画を更新する、
請求項4に記載の配車管理装置。
【請求項6】
前記配車計画作成部は、前記特定走行ルートに接続する各道路の交差点及び/又は分岐点の近傍に前記協力車両が配備されるように、前記協力車両の配車計画を作成する、
請求項1に記載の配車管理装置。
【請求項7】
前記配車計画作成部は、信号最適化制御システムに対応した信号機が設置されていない前記交差点及び/又は前記分岐点の近傍に前記協力車両が配備されるように、前記協力車両の配車計画を作成する、
請求項6に記載の配車管理装置。
【請求項8】
前記配車指示部は、更新された前記配車計画に基づいて、前記協力車両の配備が更新されるように、前記協力車両に業務指示を行う、
請求項5に記載の配車管理装置。
【請求項9】
前記配車指示部は、前記選択された協力車両のうち、前記特定走行ルートに沿って配備しなかった前記協力車両に、自車両の周囲環境を監視し、前記周囲環境に関する情報を送信するように指示を行う、
請求項1に記載の配車管理装置。
【請求項10】
前記配車指示部は、前記協力車両の周囲に特定活動に協力中である旨を知らせるように、前記協力車両に指示を行う、
請求項1に記載の配車管理装置。
(【請求項11】以降は省略されています)
発明の詳細な説明
【技術分野】
【0001】
本発明は、配車管理装置及び配車管理方法に関する。
続きを表示(約 1,400 文字)
【背景技術】
【0002】
緊急車両のような特定車両以外の走行中の一般の車両は、特定車両の走行を妨げないように、避譲措置を講じる必要がある。
【0003】
例えば、下記特許文献1は、公共目的に対応する運行を要求された車両が、例えば、災害又は事件若しくは事故等の緊急事態が発生した場合に、該緊急事態への対応のために必要とされる運行を行う技術を開示している。
【0004】
また、下記特許文献2は、緊急車両が緊急走行する際に、緊急車両の現在位置と緊急車両以外の一般車両の現在位置とに基づいて、一般車両を道路の路肩近傍に移動させて停止させる技術を開示している
【先行技術文献】
【特許文献】
【0005】
特開2021-170264号公報
特開2020-166412号公報
【発明の概要】
【発明が解決しようとする課題】
【0006】
上記の特許文献1及び2に示される技術は、いずれも、単に、緊急車両の緊急走行の妨げとならないように、一般車両が緊急車両の走行ルートを避けたり、一般車両を道路の路肩近傍に移動させて停止させたりするものに過ぎず、緊急車両の緊急走行をよりスムーズにするものではなかった。とりわけ、緊急走行の緊急車両が交差点等に進入する際には、一般車両との衝突を警戒し、減速を余儀なくされるため、スムーズは走行が困難であるといった実情がある。
【0007】
そこで、本発明は、モビリティサービスにおける自動運転型車両を用いて、緊急車両のような特定車両の走行を支援することを可能にする配車管理装置及び配車管理方法を提供することを目的とする。
【0008】
より具体的には、本発明は、モビリティサービスにおける自動運転型車両を用いて、緊急車両のような特定車両の走行ルートを確保することを可能にする配車管理装置及び配車管理方法を提供することを目的とする。
【課題を解決するための手段】
【0009】
上記課題を解決するための本発明は、以下に示す発明特定事項乃至は技術的特徴を含んで構成される。
【0010】
ある観点に従う本発明は、所定のサービス対象エリアにおける複数の車両の配車を管理する配車管理装置である。前記装置は、前記複数の車両の各々の前記車両情報を記憶する車両情報データベースと、前記車両情報データベースに基づいて、配車されるべき車両の配車計画を行う配車計画部と、を備える。前記配車計画部は、前記複数の車両の各々から車両情報を取得する車両情報取得部と、ユーザの配車要求に基づいて、前記複数の車両の中から前記ユーザに配車されるべき車両を選択する車両選択部と、選択された前記車両の前記配車計画を作成する配車計画作成部と、前記配車計画に従って前記車両に対して配車指示を行う配車指示部と、を備える。前記車両選択部は、特定車両の走行に係る特定事態情報に基づいて、前記車両情報データベースを参照して、前記複数の車両のうち、前記ユーザに未だ配車されていない車両を協力車両として選択する。前記配車計画作成部は、前記特定車両の特定走行ルートに沿って特定の配備地点に前記協力車両の幾つかが配備されるように、前記配車計画を作成する。前記配車指示部は、前記配車計画に従って前記協力車両の幾つかが前記特定の配備地点に配備されるように、前記協力車両に移動指示を行う。
(【0011】以降は省略されています)
この特許をJ-PlatPat(特許庁公式サイト)で参照する
関連特許
日産自動車株式会社
ステータ
12日前
日産自動車株式会社
伝動部材
12日前
日産自動車株式会社
内燃機関
11日前
日産自動車株式会社
内燃機関
11日前
日産自動車株式会社
ターボ過給機付き内燃機関
11日前
日産自動車株式会社
画像処理方法及び画像処理装置
4日前
日産自動車株式会社
画像表示方法及び画像表示装置
4日前
日産自動車株式会社
車両のエアサスペンション装置
11日前
日産自動車株式会社
打ち抜き金型用薄鋼帯搬送装置
11日前
日産自動車株式会社
故障判定方法及び故障判定装置
11日前
日産自動車株式会社
配車管理装置及び配車管理方法
7日前
日産自動車株式会社
配車管理装置及び配車管理方法
7日前
日産自動車株式会社
製品検査方法及び製品検査装置
13日前
住友理工株式会社
筒型防振装置
6日前
日産自動車株式会社
内燃機関の回転数表示方法および装置
11日前
日産自動車株式会社
車両監視方法、及び車両監視システム
7日前
日産自動車株式会社
電池パック及び電池パックの製造方法
12日前
日産自動車株式会社
充放電制御方法及び充放電制御システム
5日前
日産自動車株式会社
駐車支援方法、駐車支援装置及びコンピュータプログラム
4日前
日産自動車株式会社
車両用表示装置の検査方法、検査装置および検査プログラム
6日前
日本精機株式会社
警報システム
1か月前
個人
自動電動車椅子
26日前
株式会社SUBARU
車両
5日前
スズキ株式会社
運転支援装置
1か月前
エムケー精工株式会社
車両誘導装置
1か月前
個人
磁気路上での車両の路線離脱防御
15日前
株式会社国際電気
防災システム
1か月前
ニッタン株式会社
発信機
2か月前
ニッタン株式会社
検知器
1か月前
ニッタン株式会社
検知器
1か月前
ニッタン株式会社
検知器
1か月前
ニッタン株式会社
検知器
12日前
ニッタン株式会社
発信機
2か月前
トヨタ自動車株式会社
車両
2か月前
株式会社SUBARU
運転支援装置
13日前
トヨタ自動車株式会社
サーバ
19日前
続きを見る
他の特許を見る