TOP
|
特許
|
意匠
|
商標
特許ウォッチ
Twitter
他の特許を見る
公開番号
2025158608
公報種別
公開特許公報(A)
公開日
2025-10-17
出願番号
2024061316
出願日
2024-04-05
発明の名称
積層型電池
出願人
日産自動車株式会社
代理人
弁理士法人後藤特許事務所
主分類
H01M
50/174 20210101AFI20251009BHJP(基本的電気素子)
要約
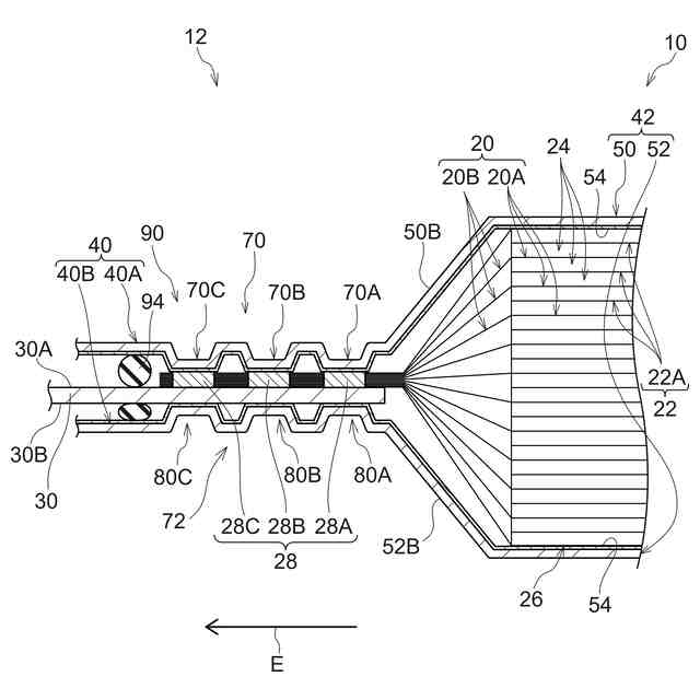
【課題】溶接部の放熱効率の向上を可能とすることを目的とする。
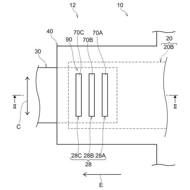
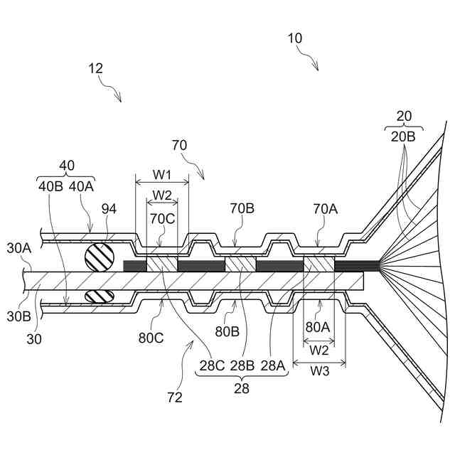
【解決手段】積層型電池10は、正極12の集電体としての正極集電体20及び負極の集電体としての負極集電体22を含む発電要素24が積層された積層体26を備える。積層型電池10は、積層体26から延出した同極の集電体が溶接部28によって接続される電極タブ30を備える。積層型電池10は、電極タブ30を外部に延出するための延出部40を有するとともに積層体26を収容する外装材42を備える。外装材42は、積層体26を挟むように配置され延出部40を除く周縁部が互いに接合された金属板としての一方側金属板50と他方側金属板52とを含む。延出部40には、凹凸形状の一方側凹凸部70及び他方側凹凸部72が形成され、各凹凸部70、72において内側へ突出した各凹部70A、70B、70C、80A、80B、80Cは、溶接部28による接続箇所に接する。
【選択図】図2
特許請求の範囲
【請求項1】
正極の集電体及び負極の集電体を含む発電要素が積層された積層体と、
前記積層体から延出した同極の集電体が溶接部によって接続される電極タブと、
前記電極タブを外部に延出するための延出部を有するとともに前記積層体を収容する外装材と、
を備え、
前記外装材は、前記積層体を挟むように配置され前記延出部を除く周縁部が互いに接合された金属板を含み、
前記延出部には、凹凸形状の凹凸部が形成され、前記凹凸部において内側へ突出した凹部は、前記溶接部による接続箇所に接する、
積層型電池。
続きを表示(約 610 文字)
【請求項2】
請求項1に記載の積層型電池であって、
前記溶接部による前記接続箇所及び前記接続箇所に接する前記凹部を複数有する、
積層型電池。
【請求項3】
請求項1に記載の積層型電池であって、
前記金属板は、前記積層体の一方側に配置される一方側金属板と、前記積層体の他方側に配置される他方側金属板と、含み、
前記一方側金属板は、前記延出部に一方側凹凸部を備え、前記他方側金属板は、前記延出部に他方側凹凸部を備え、
前記一方側凹凸部の前記凹部が一方側から前記接続箇所に接し、前記他方側凹凸部の前記凹部が他方側から前記接続箇所に接する、
積層型電池。
【請求項4】
請求項1に記載の積層型電池であって、
前記接続箇所に対向する前記凹部の凹部側面積は、前記凹部に対向する前記接続箇所の接続箇所面積よりも広い、
積層型電池。
【請求項5】
請求項1に記載の積層型電池であって、
前記接続箇所及び前記凹部が接する接触部は、前記電極タブの延出方向と交差する交差方向に長い前記溶接部による前記接続箇所に前記交差方向に長い前記凹部が接する第一接触部、又は前記延出方向に長い前記溶接部による前記接続箇所に前記延出方向に長い前記凹部が接する第二接触部のうちの少なくとも一方を含む、
積層型電池。
発明の詳細な説明
【技術分野】
【0001】
本発明は、積層型電池に関する。
続きを表示(約 1,000 文字)
【背景技術】
【0002】
特許文献1には、密閉型電池が開示されている。密閉型電池は、複数の正極シート及び負極シート等が積層されて構成された電極体と、電極体を収容する外装体と、を備えた積層型電池である。
【0003】
電極体から延出した各集電体は、接合部において集電タブに重ねられた状態で溶接されている。この溶接部は、他の部分よりも電気抵抗が高くなるため、溶接部の溶損を考慮した設計が行われる。
【先行技術文献】
【特許文献】
【0004】
特開2020-149801号公報
【発明の概要】
【発明が解決しようとする課題】
【0005】
特許文献1に記載されたような積層型電池は、溶接部が密閉空間に設けられており、溶接部の放熱効率が低い。
【0006】
このため、高出力で充放電する為には、放熱効率の改善が要求される。
【0007】
本発明の目的は、溶接部の放熱効率の向上が可能な積層型電池を提供することを目的とする。
【課題を解決するための手段】
【0008】
本発明のある態様の積層型電池は、正極の集電体を含む正極層及び負極の集電体を含む負極層が積層された積層体と、積層体から延出した同極の集電体が溶接部によって接続される電極タブと、を備える。積層型電池は、電極タブを外部に延出するための延出部を有するとともに積層体を収容する外装材を備える。外装材は、積層体を挟むように配置され延出部を除く周縁部が互いに接合された金属板を含む。延出部には、凹凸形状の凹凸部が形成され、凹凸部において内側へ突出した凹部は、溶接部による接続箇所に接する。
【発明の効果】
【0009】
本発明のある態様によれば、外装材は、空気よりも熱伝導率が大きい金属板で形成されており、外装材の延出部には、集電体を電極タブに接続する溶接部による接続箇所に接する凹部が形成されている。このため、通電時に溶接部に生ずる熱は、接続箇所に接する凹部を介して外装材に伝達され、積層体を収容する外装材から放出される。
【0010】
また、接続箇所から熱が伝達される凹部は、凹凸部を構成し、凹凸部は、延出部に形成された凹凸形状により構成される。このため、凹凸部が形成された延出部は、接続箇所に接する延出部が平坦部に形成された場合と比較して、表面積が増大し、放熱効率が高まる。
(【0011】以降は省略されています)
この特許をJ-PlatPat(特許庁公式サイト)で参照する
関連特許
日産自動車株式会社
保持機構
2日前
日産自動車株式会社
電子部品
1か月前
日産自動車株式会社
ステータ
17日前
日産自動車株式会社
伝動部材
17日前
日産自動車株式会社
内燃機関
16日前
日産自動車株式会社
内燃機関
16日前
日産自動車株式会社
積層型電池
2日前
日産自動車株式会社
面圧付与機構
2日前
日産自動車株式会社
ターボ過給機付き内燃機関
16日前
日産自動車株式会社
ステータ及びその製造方法
1か月前
日産自動車株式会社
配車管理装置及び配車管理方法
12日前
日産自動車株式会社
車両制御装置及び車両制御方法
3日前
日産自動車株式会社
情報処理方法及び情報処理装置
1か月前
日産自動車株式会社
製品検査方法及び製品検査装置
18日前
日産自動車株式会社
画像処理方法及び画像処理装置
9日前
日産自動車株式会社
車両のエアサスペンション装置
16日前
日産自動車株式会社
打ち抜き金型用薄鋼帯搬送装置
16日前
日産自動車株式会社
故障判定方法及び故障判定装置
16日前
日産自動車株式会社
配車管理装置及び配車管理方法
3日前
日産自動車株式会社
配車管理装置及び配車管理方法
12日前
日産自動車株式会社
画像表示方法及び画像表示装置
9日前
日産自動車株式会社
固体酸化物形燃料電池の製造方法
4日前
住友理工株式会社
筒型防振装置
11日前
日産自動車株式会社
電池パック及び電池パックの製造方法
17日前
日産自動車株式会社
車両監視方法、及び車両監視システム
12日前
日産自動車株式会社
内燃機関の回転数表示方法および装置
16日前
日産自動車株式会社
充放電制御方法及び充放電制御システム
10日前
日産自動車株式会社
電池劣化診断方法及び電池劣化診断装置
3日前
日産自動車株式会社
電池品質診断方法及び電池品質診断装置
3日前
日産自動車株式会社
電池の仕分け方法及び電池の仕分け装置
3日前
日産自動車株式会社
充放電制御方法及び充放電制御システム
18日前
日産自動車株式会社
経路選出装置、経路選出方法及びプログラム
18日前
日産自動車株式会社
経路選出装置、経路選出方法及びプログラム
18日前
日産自動車株式会社
ルート選出装置、ルート選出方法およびプログラム
3日前
日産自動車株式会社
駐車支援方法、駐車支援装置及びコンピュータプログラム
9日前
日産自動車株式会社
車両制御装置及びこれによる車両周囲の空間認識処理方法
3日前
続きを見る
他の特許を見る