TOP
|
特許
|
意匠
|
商標
特許ウォッチ
Twitter
他の特許を見る
公開番号
2025158419
公報種別
公開特許公報(A)
公開日
2025-10-17
出願番号
2024060932
出願日
2024-04-04
発明の名称
樹脂組成物、電線、樹脂組成物の製造方法、および電線の製造方法
出願人
住友電気工業株式会社
,
住友電工産業電線株式会社
代理人
個人
,
個人
主分類
C08L
101/10 20060101AFI20251009BHJP(有機高分子化合物;その製造または化学的加工;それに基づく組成物)
要約
【課題】燃焼時に発生する煙が少ない樹脂組成物を提供する。
【解決手段】シラングラフト化された第1ポリオレフィン系樹脂と、シラングラフト化されていない第2ポリオレフィン系樹脂と、プロセスオイルと、を含み、前記プロセスオイルの含有割合は、前記第1ポリオレフィン系樹脂と前記第2ポリオレフィン系樹脂との合計100質量部に対して10質量部以上35質量部以下であり、NBSスモークチャンバー発煙性試験において、燃焼時の発煙濃度が150以下である、樹脂組成物。
【選択図】なし
特許請求の範囲
【請求項1】
シラングラフト化された第1ポリオレフィン系樹脂と、
シラングラフト化されていない第2ポリオレフィン系樹脂と、
プロセスオイルと、を含み、
前記プロセスオイルの含有割合は、前記第1ポリオレフィン系樹脂と前記第2ポリオレフィン系樹脂との合計100質量部に対して10質量部以上35質量部以下であり、
NBSスモークチャンバー発煙性試験において、燃焼時の発煙濃度が150以下である、
樹脂組成物。
続きを表示(約 1,100 文字)
【請求項2】
前記プロセスオイルの重量平均分子量が0.75×10
3
以上1.50×10
3
以下である、請求項1に記載の樹脂組成物。
【請求項3】
前記プロセスオイルの40℃における動粘度が95mm
2
/s以上500mm
2
/s以下である、請求項1に記載の樹脂組成物。
【請求項4】
さらに、無機フィラーを含む、請求項1に記載の樹脂組成物。
【請求項5】
前記第2ポリオレフィン系樹脂は、無水マレイン酸変性ポリエチレンを含む、請求項1に記載の樹脂組成物。
【請求項6】
前記第2ポリオレフィン系樹脂は、エチレンアクリル酸共重合体を含む、請求項1に記載の樹脂組成物。
【請求項7】
導体と、前記導体の外周を覆う絶縁体とを備える電線であって、
前記絶縁体の材料が、請求項1から請求項6のいずれか1項に記載の樹脂組成物である、
電線。
【請求項8】
シラングラフト化された第1ポリオレフィン系樹脂と、シラングラフト化されていない第2ポリオレフィン系樹脂と、プロセスオイルとを混合して樹脂素材を得る工程と、
前記樹脂素材とシラノール縮合触媒とを混合した後に成形して成形体を得る工程と、
前記成形体を架橋する工程と、を備え、
前記プロセスオイルの40℃における動粘度は95mm
2
/s以上500mm
2
/s以下であり、
前記プロセスオイルは、前記第1ポリオレフィン系樹脂と前記第2ポリオレフィン系樹脂との合計100質量部に対して10質量部以上35質量部以下の割合で混合される、
樹脂組成物の製造方法。
【請求項9】
シラングラフト化された第1ポリオレフィン系樹脂と、シラングラフト化されていない第2ポリオレフィン系樹脂と、プロセスオイルとを混合して樹脂素材を得る工程と、
前記樹脂素材とシラノール縮合触媒とを混合した後に導体に被覆して被覆層を形成する工程と、
前記被覆層を架橋して絶縁体を形成する工程と、を備え、
前記プロセスオイルの40℃における動粘度は95mm
2
/s以上500mm
2
/s以下であり、
前記プロセスオイルは、前記第1ポリオレフィン系樹脂と前記第2ポリオレフィン系樹脂との合計100質量部に対して10質量部以上35質量部以下の割合で混合される、
電線の製造方法。
発明の詳細な説明
【技術分野】
【0001】
本開示は、樹脂組成物、電線、樹脂組成物の製造方法、および電線の製造方法に関する。
続きを表示(約 1,000 文字)
【背景技術】
【0002】
特許文献1は、耐熱性樹脂組成物の製造方法を開示する。この製造方法により製造された耐熱性樹脂組成物は、電線の絶縁体などに使用される。
【先行技術文献】
【特許文献】
【0003】
国際公開第2013/147148号
【発明の概要】
【発明が解決しようとする課題】
【0004】
電気機器用の電線は、絶縁体の材料に樹脂組成物が使用されている。電線の絶縁体には、燃焼しても煙の発生が少ないことが求められている。
【0005】
本開示は、燃焼時に発生する煙が少ない樹脂組成物を提供することを目的の一つとする。
【課題を解決するための手段】
【0006】
本開示の樹脂組成物は、シラングラフト化された第1ポリオレフィン系樹脂と、シラングラフト化されていない第2ポリオレフィン系樹脂と、プロセスオイルと、を含む。前記プロセスオイルの含有割合は、前記第1ポリオレフィン系樹脂と前記第2ポリオレフィン系樹脂との合計100質量部に対して10質量部以上35質量部以下である。本開示の樹脂組成物は、NBS(National Bureau of Standards)スモークチャンバー発煙性試験において、燃焼時の発煙濃度が150以下である。
【発明の効果】
【0007】
本開示の樹脂組成物は、燃焼時に発生する煙が少ない。
【図面の簡単な説明】
【0008】
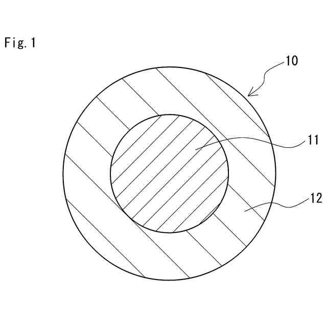
図1は、実施形態に係る電線の構造を示す概略断面図である。
【発明を実施するための形態】
【0009】
[本開示の実施形態の説明]
最初に本開示の実施態様を列記して説明する。
【0010】
(1)本開示の樹脂組成物は、シラングラフト化された第1ポリオレフィン系樹脂と、シラングラフト化されていない第2ポリオレフィン系樹脂と、プロセスオイルと、を含む。前記プロセスオイルの含有割合は、前記第1ポリオレフィン系樹脂と前記第2ポリオレフィン系樹脂との合計100質量部に対して10質量部以上35質量部以下である。本開示の樹脂組成物は、NBSスモークチャンバー発煙性試験において、燃焼時の発煙濃度が150以下である。
(【0011】以降は省略されています)
この特許をJ-PlatPat(特許庁公式サイト)で参照する
関連特許
住友電気工業株式会社
コンタクタ治具および検査治具
1日前
住友電気工業株式会社
方法、超電導線材、および制御システム
4日前
住友電気工業株式会社
樹脂組成物、電線、樹脂組成物の製造方法、および電線の製造方法
1日前
株式会社オートネットワーク技術研究所
車載用制御装置
2日前
株式会社オートネットワーク技術研究所
端子材料および電気接続端子
4日前
株式会社オートネットワーク技術研究所
端子材料および電気接続端子
4日前
株式会社オートネットワーク技術研究所
端子材料および電気接続端子
8日前
株式会社オートネットワーク技術研究所
端子金具、実装基板及び基板装置
3日前
株式会社オートネットワーク技術研究所
電気接続箱、及び電気接続箱の製造方法
3日前
住友電気工業株式会社
出力制御ユニット、電力変換装置、電力変換システム、電池残量管理方法およびコンピュータプログラム
1日前
株式会社オートネットワーク技術研究所
クランプ、ワイヤハーネス及びクランプセット
1日前
株式会社オートネットワーク技術研究所
車載更新システム、車載装置、及び車載ECU
4日前
株式会社オートネットワーク技術研究所
電線導体、絶縁電線、およびワイヤーハーネス
8日前
株式会社オートネットワーク技術研究所
ワイヤハーネス
1日前
株式会社オートネットワーク技術研究所
ワイヤハーネス
1日前
株式会社オートネットワーク技術研究所
シールド導電路
3日前
東ソー株式会社
ペレット
3日前
ユニチカ株式会社
透明シート
1か月前
株式会社カネカ
硬化性組成物
3か月前
ユニチカ株式会社
透明シート
19日前
株式会社コバヤシ
成形体
16日前
東レ株式会社
熱硬化性樹脂組成物
2か月前
東レ株式会社
ポリエステルフィルム
23日前
住友精化株式会社
吸水剤の製造方法
29日前
東レ株式会社
ポリエステルフィルム
1日前
東ソー株式会社
ゴム用接着性改質剤
4日前
丸住製紙株式会社
変性パルプ
19日前
東レ株式会社
引抜成形品の製造方法
1か月前
東レ株式会社
ポリオレフィン微多孔膜
2か月前
東ソー株式会社
樹脂組成物および蓋材
1か月前
東ソー株式会社
樹脂組成物および蓋材
1か月前
花王株式会社
樹脂組成物
3か月前
横浜ゴム株式会社
重荷重タイヤ
15日前
東レ株式会社
ポリプロピレンフィルム
15日前
日本特殊陶業株式会社
樹脂成形体
29日前
UBE株式会社
衝撃吸収材
19日前
続きを見る
他の特許を見る