TOP
|
特許
|
意匠
|
商標
特許ウォッチ
Twitter
他の特許を見る
10個以上の画像は省略されています。
公開番号
2025155644
公報種別
公開特許公報(A)
公開日
2025-10-14
出願番号
2024179881
出願日
2024-10-15
発明の名称
車載更新システム、車載装置、及び車載ECU
出願人
株式会社オートネットワーク技術研究所
,
住友電装株式会社
,
住友電気工業株式会社
代理人
個人
,
個人
主分類
G06F
8/65 20180101AFI20251006BHJP(計算;計数)
要約
【課題】車載装置が車載ECUに更新プログラムを送信する際の時間を短縮する車載更新システム等を提供する。
【解決手段】本開示の一実施形態に係る車載更新システムは、前記車載装置は、前記更新プログラムを所定のサイズにて分割されたブロックにて順次に前記車載ECUに送信し、前記車載ECUは、前記ブロックを受信した場合、受信した前記ブロックを順次にメモリに記憶し、前記車載ECUは、前記メモリの少なくとも一部の領域をワーク領域として用いることにより、前記メモリに記憶した前記ブロックに対する後処理を行い、前記車載装置は、前記車載ECUが前記メモリに記憶した前記ブロックに対する後処理を実行中においても、後処理を実行中の前記ブロックの次順となる次のブロックを前記車載ECUに送信する。
【選択図】図1
特許請求の範囲
【請求項1】
車両に搭載される車載ECUと、
プログラム提供装置から送信される更新プログラムを取得し、前記車載ECUのプログラムを更新するための処理を行う車載装置と
を含む車載更新システムであって、
前記車載装置は、前記更新プログラムを所定のサイズにて分割されたブロックにて順次に前記車載ECUに送信し、
前記車載ECUは、前記ブロックを受信した場合、受信した前記ブロックを順次にメモリに記憶し、
前記車載ECUは、前記メモリの少なくとも一部の領域をワーク領域として用いることにより、前記メモリに記憶した前記ブロックに対する後処理を行い、
前記車載装置は、前記車載ECUが前記メモリに記憶した前記ブロックに対する後処理を実行中においても、後処理を実行中の前記ブロックの次順となる次のブロックを前記車載ECUに送信する
車載更新システム。
続きを表示(約 1,400 文字)
【請求項2】
前記プログラム提供装置は、前記車両外の外部サーバである
請求項1に記載の車載更新システム。
【請求項3】
前記車載装置は、前記車載ECUの前記メモリの空き容量が第1の所定値以下となった場合に、前記ブロックの送信を停止する
請求項1または2に記載の車載更新システム。
【請求項4】
前記車載ECUの前記メモリは、受信する前記ブロックそれぞれに応じた複数のバッファを含み、
前記車載ECUは、前記バッファをワーク領域として用いることにより、前記バッファに記憶した前記ブロックに対する後処理を行い、
前記車載装置は、前記車載ECUが前記バッファに記憶した前記ブロックに対する後処理を実行中においても、後処理を実行中の前記ブロックの次順となる前記次のブロックを前記車載ECUに送信する
請求項1または2に記載の車載更新システム。
【請求項5】
前記車載ECUは、前記バッファに記憶した前記ブロックに対する後処理の実行中において、前記次のブロックを受信し、
後処理を実行中の前記ブロックが記憶される前記バッファとは異なる、他のバッファに前記次のブロックを記憶する
請求項4に記載の車載更新システム。
【請求項6】
前記車載ECUの前記メモリは、受信する前記ブロックそれぞれに応じた複数のバッファを含み、
前記車載ECUは、
前記バッファをワーク領域として用いることにより、前記バッファに記憶した前記ブロックに対する後処理を行い、
前記バッファに記憶した前記ブロックに対する後処理の実行後、前記ブロックを前記バッファから消去し、
前記車載ECUの前記メモリの空き容量は、複数の前記バッファのうち、前記ブロックを記憶していない前記バッファの個数に対応する
請求項3に記載の車載更新システム。
【請求項7】
前記車載ECUは、前記メモリに記憶した前記ブロックに対する後処理の実行後、前記ブロックを前記メモリから消去し、
前記車載装置は、前記車載ECUの前記メモリの空き容量が第2の所定値以上となった場合に、前記ブロックの送信を開始する
請求項1または2に記載の車載更新システム。
【請求項8】
前記車載ECUは、前記ブロックを前記メモリに記憶させた後、前記メモリに記憶した前記ブロックに対する後処理が完了するより前に、次順の前記次のブロックの送信を要求する信号を前記車載装置に送信する
請求項1または2に記載の車載更新システム。
【請求項9】
前記車載ECUは、前記メモリの空き容量が第1の所定値以下となった場合に、前記ブロックの送信の停止を要求する信号を前記車載装置に送信する
請求項3に記載の車載更新システム。
【請求項10】
前記車載装置と前記車載ECUとは、二つのコネクションを確立しており、
一方のコネクションにおいて前記車載装置から前記車載ECUへの前記ブロックの送信が行われ、
他方のコネクションにおいて、前記車載ECUから前記車載装置への前記ブロックの送信の停止を要求する信号の送信が行われる
請求項9に記載の車載更新システム。
(【請求項11】以降は省略されています)
発明の詳細な説明
【技術分野】
【0001】
本技術は、車載更新システム、車載装置、及び車載ECUに関する。
続きを表示(約 2,600 文字)
【背景技術】
【0002】
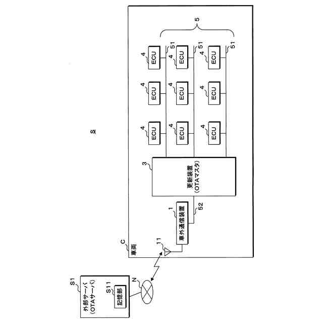
車両には、エンジン制御等の駆動制御系、エアコン制御等のボディ系等の車載機器を制御するためのECU(Electronic Control Unit)が搭載されている。ECUは、MPU等の演算処理部、例えばEEPROM等の書き換え可能な不揮発性の記憶部、及び他のECUと通信するための通信部を含み、記憶部に記憶した制御プログラムを読み込んで実行することにより、車載機器の制御を行う。更に車両には、無線通信の機能を備えた通信機(車載装置)が実装されており、通信機を介して、車外のネットワークに接続されているプログラム提供装置と通信し、当該プログラム提供装置からECUの制御プログラムをダウンロード(受信)し、当該ECUの制御プログラムを更新することができる(例えば特許文献1参照)。
【先行技術文献】
【特許文献】
【0003】
特開2017-97851号公報
【発明の概要】
【発明が解決しようとする課題】
【0004】
しかしながら、特許文献1においては、車載装置が車載ECUに更新する制御プログラム(更新プログラム)を送信する際にかかる時間の短縮について考慮されていない。
【0005】
本開示は斯かる事情に鑑みてなされたものであり、車載装置が車載ECUに更新プログラムを送信する際の時間を短縮する車載システム等を提供することを目的とする。
【課題を解決するための手段】
【0006】
本開示の一実施形態に係る車載更新システムは、車両に搭載される車載ECUと、前記車両外の外部サーバから送信される更新プログラムを取得し、前記車載ECUのプログラムを更新するための処理を行う車載装置とを含む車載更新システムであって、前記車載装置は、前記更新プログラムを所定のサイズにて分割されたブロックにて順次に前記車載ECUに送信し、前記車載ECUは、前記ブロックを受信した場合、受信した前記ブロックを順次にメモリに記憶し、前記車載ECUは、前記メモリの少なくとも一部の領域をワーク領域として用いることにより、前記メモリに記憶した前記ブロックに対する後処理を行い、前記車載装置は、前記車載ECUが前記メモリに記憶した前記ブロックに対する後処理を実行中においても、後処理を実行中の前記ブロックの次順となる次のブロックを前記車載ECUに送信する。
【発明の効果】
【0007】
本開示の一実施形態に係る車載更新システムにあっては、車載装置が車載ECUに更新プログラムを送信する際の時間を短縮できる。
【図面の簡単な説明】
【0008】
車載更新システムの構成を例示する模式図である。
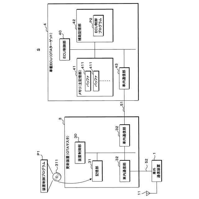
実施形態1に係る車載装置及び車載ECUの物理構成を例示するブロック図である。
メモリの使用状況の遷移を示す説明図である。
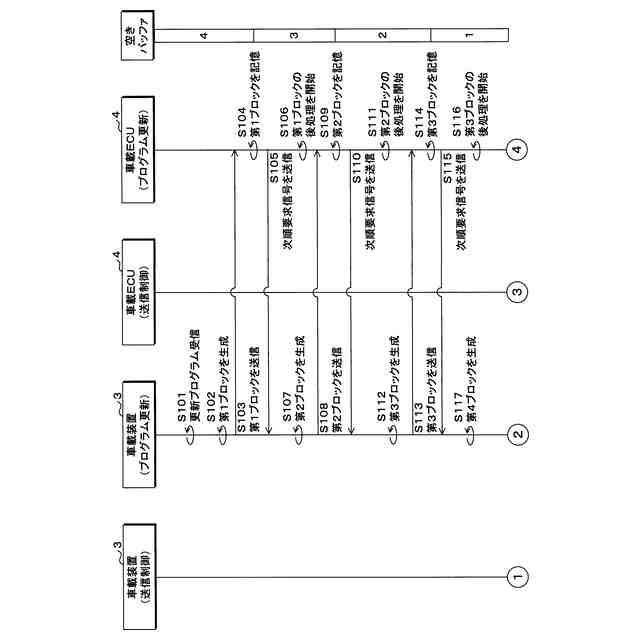
実施形態1に係る車載装置、及び更新対象の車載ECUによる処理の流れ(シーケンス)を例示する説明図である。
実施形態1に係る車載装置、及び更新対象の車載ECUによる処理の流れ(シーケンス)を例示する説明図である。
実施形態1に係る車載装置、及び更新対象の車載ECUによる処理の流れ(シーケンス)を例示する説明図である。
実施形態1に係る車載装置、及び更新対象の車載ECUのプログラム更新処理を例示するフローチャートである。
更新対象の車載ECUのブロックの後処理のサブルーチンを例示するフローチャートである。
実施形態1に係る車載装置、及び更新対象の車載ECUの送信制御処理を例示するフローチャートである。
ECUテーブルの一例を示す説明図である。
実施形態2に係る車載装置、及び更新対象の車載ECUによる処理の流れ(シーケンス)を例示する説明図である。
実施形態2に係る車載装置、及び更新対象の車載ECUによる処理の流れ(シーケンス)を例示する説明図である。
実施形態2に係る車載装置、及び更新対象の車載ECUによる処理の流れ(シーケンス)を例示する説明図である。
実施形態2に係る車載装置、及び更新対象の車載ECUによる処理の流れ(シーケンス)を例示する説明図である。
実施形態2に係る車載装置、及び更新対象の車載ECUの送信制御処理を例示するフローチャートである。
実施形態3に係る車載更新システムの構成を示す模式図である。
実施形態3に係る端末装置、車載装置、及び更新対象の車載ECUによる処理の流れ(シーケンス)の概略を例示する模式図である。
実施形態4に係る車載装置及び車載ECUの物理構成を例示するブロック図である。
実施形態3に係る車載装置、及び更新対象の複数の車載ECUによる処理の流れ(シーケンス)の概略を例示する模式図である。
実施形態4に係る車載装置の送信制御処理及びプログラム更新処理の連関を例示するフローチャートである。
【発明を実施するための形態】
【0009】
[本開示の実施形態の説明]
最初に、本開示の実施態様を列挙して説明する。また、以下に記載する実施形態の少なくとも一部を任意に組み合わせてもよい。
【0010】
(1)本開示の一態様に係る車載更新システムは、車両に搭載される車載ECUと、前記車両外の外部サーバから送信される更新プログラムを取得し、前記車載ECUのプログラムを更新するための処理を行う車載装置とを含む車載更新システムであって、前記車載装置は、前記更新プログラムを所定のサイズにて分割されたブロックにて順次に前記車載ECUに送信し、前記車載ECUは、前記ブロックを受信した場合、受信した前記ブロックを順次にメモリに記憶し、前記車載ECUは、前記メモリの少なくとも一部の領域をワーク領域として用いることにより、前記メモリに記憶した前記ブロックに対する後処理を行い、前記車載装置は、前記車載ECUが前記メモリに記憶した前記ブロックに対する後処理を実行中においても、後処理を実行中の前記ブロックの次順となる次のブロックを前記車載ECUに送信する。
(【0011】以降は省略されています)
この特許をJ-PlatPat(特許庁公式サイト)で参照する
関連特許
個人
詐欺保険
5日前
個人
縁伊達ポイン
5日前
個人
地球保全システム
18日前
個人
QRコードの彩色
9日前
個人
冷凍食品輸出支援構造
1か月前
個人
為替ポイント伊達夢貯
1か月前
個人
表変換編集支援システム
1か月前
個人
農作物用途分配システム
4日前
個人
残土処理システム
11日前
個人
知的財産出願支援システム
12日前
個人
知財出願支援AIシステム
1か月前
個人
パスワード管理支援システム
1か月前
個人
AIによる情報の売買の仲介
1か月前
個人
行動時間管理システム
1か月前
個人
AIキャラクター制御システム
1か月前
株式会社キーエンス
受発注システム
17日前
個人
食品レシピ生成システム
17日前
株式会社キーエンス
受発注システム
17日前
株式会社アジラ
進入判定装置
1か月前
個人
システム及びプログラム
1か月前
株式会社キーエンス
受発注システム
17日前
個人
パスポートレス入出国システム
1か月前
日本精機株式会社
施工管理システム
1か月前
個人
海外支援型農作物活用システム
1か月前
個人
冷凍加工連携型農場運用システム
1か月前
個人
社会還元・施設向け供給支援構造
1か月前
個人
人格進化型対話応答制御システム
1か月前
個人
帳票自動生成型SaaSシステム
12日前
個人
食事受注会計処理システム
1か月前
大同特殊鋼株式会社
疵判定方法
24日前
個人
SaaS型勤務調整支援システム
1か月前
個人
未来型家系図構築システム
1か月前
サクサ株式会社
中継装置
1か月前
個人
音声対話型帳票生成支援システム
1か月前
キヤノン株式会社
表示システム
17日前
個人
音声・通知・再配達UX制御構造
12日前
続きを見る
他の特許を見る