TOP
|
特許
|
意匠
|
商標
特許ウォッチ
Twitter
他の特許を見る
公開番号
2025154084
公報種別
公開特許公報(A)
公開日
2025-10-10
出願番号
2024056891
出願日
2024-03-29
発明の名称
端子材料および電気接続端子
出願人
株式会社オートネットワーク技術研究所
,
住友電装株式会社
,
住友電気工業株式会社
代理人
弁理士法人上野特許事務所
主分類
C25D
7/00 20060101AFI20251002BHJP(電気分解または電気泳動方法;そのための装置)
要約
【課題】Ag被覆層の表面における接触抵抗が低減され、また耐摩耗性が向上された端子材料および電気接続端子を提供する。
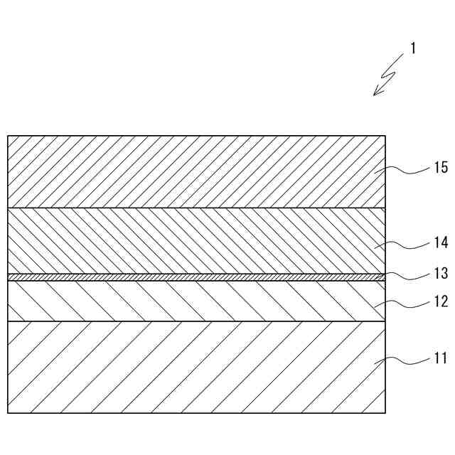
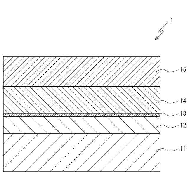
【解決手段】基材11と、AgまたはAg合金より構成され、前記基材11の表面を被覆する中間層14と、Agと、含硫黄有機化合物および炭素材料の少なくとも一方と、を含み、前記中間層14の表面に接触して、前記中間層14の表面を被覆する表層15と、を有し、前記中間層14は、前記表層15よりもAgの純度が高く、前記表層15は、表面粗さRzが1.2μm未満である、端子材料1とする。また、前記端子材料1を含んで構成され、少なくとも、相手方導電部材と接触する電気接点部において、前記基材11の表面に、前記中間層14および前記表層15が形成されている、電気接続端子とする。
【選択図】図1
特許請求の範囲
【請求項1】
基材と、
AgまたはAg合金より構成され、前記基材の表面を被覆する中間層と、
Agと、含硫黄有機化合物および炭素材料の少なくとも一方と、を含み、前記中間層の表面に接触して、前記中間層の表面を被覆する表層と、を有し、
前記中間層は、前記表層よりもAgの純度が高く、
前記表層は、表面粗さRzが1.2μm未満である、端子材料。
続きを表示(約 390 文字)
【請求項2】
前記中間層の厚さは、1.0μm以上である、請求項1に記載の端子材料。
【請求項3】
前記端子材料はさらに、前記基材と前記中間層の間に、前記中間層よりも厚さの小さいストライク層を有し、
前記中間層は、前記ストライク層の表面に接触している、請求項1に記載の端子材料。
【請求項4】
前記基材は、CuまたはCu合金より構成され、
前記端子材料は、前記基材と前記中間層との間に、前記基材の表面に接触して、NiまたはNi合金より構成された下地層をさらに有する、請求項1に記載の端子材料。
【請求項5】
請求項1から請求項4のいずれか1項に記載の端子材料を含んで構成され、少なくとも、相手方導電部材と接触する電気接点部において、前記基材の表面に、前記中間層および前記表層が形成されている、電気接続端子。
発明の詳細な説明
【技術分野】
【0001】
本開示は、端子材料および電気接続端子に関する。
続きを表示(約 1,800 文字)
【背景技術】
【0002】
自動車において、大電流用等の用途の電気接続端子として、Ag被覆層を表面に設けた電気接続端子が用いられる場合がある。Ag被覆層を表面に設けた端子は、耐熱性や耐食性、導電性に優れる一方、Agが軟らかく凝着を起こしやすい性質を有することに起因し、摺動を受けた際に、表面の摩耗を起こしやすい。そこで、耐熱性や導電性等、Agの優れた特性を利用しながら、摩耗を抑えるための手段の1つとして、Ag被覆層にSe等の添加元素を含有させることで、Ag被覆層の硬度を高め、硬質銀層とする手法がとられる場合がある。
【0003】
しかし、端子表面のAg被覆層を、Se等の添加元素の含有により、硬質銀層とすることでは、耐摩耗性を十分に向上させられない場合が生じうる。例えば、端子の大電流化に伴い、電気接点に高接触荷重を印加する必要が生じるが、そのように高接触荷重を印加して電気接点を摺動させる場合に、従来一般の硬質銀層では、必要とされる耐摩耗性を十分に満たせない場合がある。そのような場合に、端子の表面に設けるAg被覆層として、従来一般の硬質銀層よりも耐摩耗性に優れたAg被覆層を適用することが考えられる。例えば、特許文献1に、ベンゾチアゾール類またはその誘導体を含む銀めっき液を用いて、素材上に銀からなる表層を形成して銀めっき材を製造することが開示されている。これにより、従来よりも耐摩耗性に優れた銀めっき材が得られると記載されている。また、特許文献2に、Ag-グラフェン複合めっき膜により被覆された基板を有する金属製部品であって、Ag-グラフェン複合めっき膜に分散されたグラフェンが、特定のサイズおよび含有量、配置方向を有するものが開示されている。これにより、銀めっき膜について導電性向上と耐摩耗性改善が両立されると記載されている。
【先行技術文献】
【特許文献】
【0004】
特開2022-048977号公報
特開2022-170877号公報
【発明の概要】
【発明が解決しようとする課題】
【0005】
特許文献1,2に開示されている形態のように、電気接続端子に設けるAg被覆層に、有機化合物、あるいはグラフェン等、炭素材料よりなる添加剤を添加することで、耐摩耗性を向上させることができる。しかし、Ag被覆層を有する電気接続端子において、相手方の電気接続端子と嵌合接続する際に要する挿入力の低減や、電気接続端子の長寿命化の観点から、さらなる耐摩耗性の向上、また表面の摩擦係数の低減が望まれている。
【0006】
以上に鑑み、Ag被覆層の表面における接触抵抗が低減され、また耐摩耗性が向上された端子材料および電気接続端子を提供することを課題とする。
【課題を解決するための手段】
【0007】
本開示の端子材料は、基材と、AgまたはAg合金より構成され、前記基材の表面を被覆する中間層と、Agと、含硫黄有機化合物および炭素材料の少なくとも一方と、を含み、前記中間層の表面に接触して、前記中間層の表面を被覆する表層と、を有し、前記中間層は、前記表層よりもAgの純度が高く、前記表層は、表面粗さRzが1.2μm未満である。
【0008】
本開示の電気接続端子は、前記端子材料を含んで構成され、少なくとも、相手方導電部材と接触する電気接点部において、前記基材の表面に、前記中間層および前記表層が形成されている。
【発明の効果】
【0009】
本開示の端子材料および電気接続端子は、Ag被覆層の表面における接触抵抗が低減され、また耐摩耗性が向上されたものとなる。
【図面の簡単な説明】
【0010】
図1は、本開示の一実施形態にかかる端子材料の構成を模式的に示す断面図である。
図2は、本開示の一実施形態にかかる電気接続端子の構造を示す斜視図である。
図3A,3Bは、端子材料の断面を観察した電子顕微鏡像である。図3Aは低倍率像であり、図3Bは図3Aの中間層の近傍を拡大して観察した高倍率像である。
図4は、中間層の厚さが異なる複数の試料について、表面粗さ、摩擦係数、耐摩耗性の評価結果を表形式で示している。
【発明を実施するための形態】
(【0011】以降は省略されています)
この特許をJ-PlatPat(特許庁公式サイト)で参照する
関連特許
有限会社 ナプラ
端子
1か月前
株式会社ノーリツ
電解水生成装置
1か月前
本田技研工業株式会社
電解装置
1か月前
株式会社カネカ
可撓性ガス拡散電極
20日前
株式会社東芝
アルマイト処理方法
1か月前
本田技研工業株式会社
水電解システム
1か月前
本田技研工業株式会社
水電解スタック
16日前
一般財団法人電力中央研究所
電解反応装置
16日前
本田技研工業株式会社
水電解システム
1か月前
SECカーボン株式会社
カソードアセンブリ
12日前
株式会社荏原製作所
蒸気発電プラント
9日前
本田技研工業株式会社
電気化学スタック
1か月前
本田技研工業株式会社
CO2電解装置
16日前
トヨタ自動車株式会社
水電解スタック
1か月前
本田技研工業株式会社
電解セルの製造方法
24日前
古河電気工業株式会社
端子
10日前
メルテックス株式会社
極薄電解銅箔及びその製造方法
2日前
三菱マテリアル株式会社
皮膜付端子材及びその製造方法
10日前
NOK株式会社
セルユニット
20日前
NOK株式会社
セルユニット
20日前
ナミックス株式会社
銅部材
1か月前
NOK株式会社
セルユニット
20日前
NOK株式会社
セルユニット
20日前
株式会社神戸製鋼所
導電材料およびその製造方法
1か月前
株式会社豊田中央研究所
電極
20日前
本田技研工業株式会社
膜電極構造体の製造方法
10日前
三菱重工業株式会社
皮膜形成装置
9日前
東京瓦斯株式会社
水電解システム
27日前
本田技研工業株式会社
電気化学式水素昇圧システム
5日前
本田技研工業株式会社
電気化学式水素昇圧システム
16日前
株式会社SCREENホールディングス
前処理方法およびセル
1か月前
株式会社アイシン
電解システム
10日前
日本特殊陶業株式会社
ホットモジュール
10日前
株式会社東芝
電解装置及び電解方法
24日前
日本特殊陶業株式会社
ホットモジュール
10日前
株式会社デンソー
セル制御システム
9日前
続きを見る
他の特許を見る