TOP
|
特許
|
意匠
|
商標
特許ウォッチ
Twitter
他の特許を見る
10個以上の画像は省略されています。
公開番号
2025158316
公報種別
公開特許公報(A)
公開日
2025-10-17
出願番号
2024060737
出願日
2024-04-04
発明の名称
コンタクタ治具および検査治具
出願人
住友電気工業株式会社
代理人
個人
,
個人
,
個人
,
個人
主分類
G01R
31/26 20200101AFI20251009BHJP(測定;試験)
要約
【課題】コンタクタ治具の導電体が有するインダクタンスを補償して、半導体デバイスの入出力信号の劣化を抑制する。
【解決手段】コンタクタ治具は、絶縁性部材と、第1導電体と、第2導電体とを備える。絶縁性部材は、半導体デバイスと搭載部との間に配置される。第1導電体は、半導体デバイスと搭載部との並び方向である第1方向に沿って絶縁性部材を貫通し、半導体デバイスのグランド電極を搭載部の第1電極に接続する。第2導電体は、第1方向に沿って絶縁性部材を貫通し、第1方向と交差する第2方向において第1導電体と並んで設けられ、半導体デバイスの高周波電極を搭載部の第2電極に接続する。第1導電体は、第1方向および第2方向の双方と交差する第3方向に延びている。第1導電体は、第1突出部分を有する。第1突出部分は、第3方向において第2導電体と並ぶ第1部分を含む。
【選択図】図3
特許請求の範囲
【請求項1】
半導体デバイスの検査に用いられ、前記半導体デバイスが有するグランド電極および高周波電極それぞれと、前記半導体デバイスを搭載する搭載部が有する第1電極および第2電極それぞれとを相互に接続するコンタクタ治具であって、
前記半導体デバイスと前記搭載部との間に配置される絶縁性部材と、
前記半導体デバイスと前記搭載部との並び方向である第1方向に沿って前記絶縁性部材を貫通し、前記グランド電極を前記第1電極に接続する第1導電体と、
前記第1方向に沿って前記絶縁性部材を貫通し、前記第1方向と交差する第2方向において前記第1導電体と並んで設けられ、前記高周波電極を前記第2電極に接続する第2導電体と、
を備え、
前記第1導電体は、前記第1方向および前記第2方向の双方と交差する第3方向に延びており、
前記第1導電体は、前記第3方向と交差する方向に突出する第1突出部分を有し、
前記第1突出部分は、前記第3方向において前記第2導電体と並ぶ第1部分を含む、コンタクタ治具。
続きを表示(約 1,200 文字)
【請求項2】
前記第1導電体は、前記第3方向と交差する方向に突出する第2突出部分を更に有し、
前記第2突出部分は、前記第3方向において前記第2導電体と並ぶ第2部分を含み、
前記第2導電体は、前記第1部分と前記第2部分との間に位置する、請求項1に記載のコンタクタ治具。
【請求項3】
前記第1突出部分の突出方向における長さは、前記第1方向および前記突出方向の双方と直交する方向における前記第1突出部分の幅よりも大きい、請求項1に記載のコンタクタ治具。
【請求項4】
半導体デバイスの検査に用いられ、前記半導体デバイスが有するグランド電極および高周波電極それぞれと、前記半導体デバイスを搭載する搭載部が有する第1電極および第2電極それぞれとを相互に接続するコンタクタ治具であって、
前記半導体デバイスと前記搭載部との間に配置される絶縁性部材と、
前記半導体デバイスと前記搭載部との並び方向である第1方向に沿って前記絶縁性部材を貫通し、前記グランド電極を前記第1電極に接続する第1導電体と、
前記第1方向に沿って前記絶縁性部材を貫通し、前記第1方向と交差する第2方向において前記第1導電体と並んで設けられ、前記高周波電極を前記第2電極に接続する第2導電体と、
を備え、
前記絶縁性部材は、前記第1導電体と前記第2導電体との間に配置されて前記絶縁性部材の他の領域よりも高い誘電率を有する高誘電率領域を含む、コンタクタ治具。
【請求項5】
前記第1方向に垂直な断面における前記第1導電体の断面積は、前記第1方向に垂直な断面における前記第2導電体の断面積よりも大きい、請求項1から請求項4のいずれか1項に記載のコンタクタ治具。
【請求項6】
半導体デバイスの検査に用いられる検査治具であって、
グランド電極および高周波電極を有する半導体デバイスを搭載し、第1電極および第2電極を有する搭載部と、
コンタクタ治具と、
を備え、
前記コンタクタ治具は、
前記半導体デバイスと前記搭載部との間に配置される絶縁性部材と、
前記半導体デバイスと前記搭載部との並び方向である第1方向に沿って前記絶縁性部材を貫通し、前記グランド電極を前記第1電極に接続する第1導電体と、
前記第1方向に沿って前記絶縁性部材を貫通し、前記第1方向と交差する第2方向において前記第1導電体と並んで設けられ、前記高周波電極を前記第2電極に接続する第2導電体と、
を有し、
前記搭載部は、
前記第1電極と電気的及び熱的に接続された導電性の筐体と、
前記筐体と前記第2電極との間に設けられた誘電体と、
を更に有し、
前記第2電極は、
前記第2導電体との接続点から延伸する主部と、
前記主部から前記主部の延伸方向と交差する方向に突出するスタブと、
を含む、検査治具。
発明の詳細な説明
【技術分野】
【0001】
本開示は、コンタクタ治具および検査治具に関する。
続きを表示(約 2,500 文字)
【背景技術】
【0002】
特許文献1は、電子部品の性能検査治具を開示する。特許文献2は、半導体装置用評価装置を開示する。
【先行技術文献】
【特許文献】
【0003】
特開2004-55506号公報
特開2004-61290号公報
【発明の概要】
【発明が解決しようとする課題】
【0004】
例えば、トランジスタを内蔵するアンプといった半導体デバイスを製造する際には、その半導体デバイスを組み立てたのち、その半導体デバイスの性能評価のための検査を行う。製品の検査であるため、半導体デバイスの電極を、半田等により試験装置に導電接合することはできない。従って、半導体デバイスの電極を試験装置の電極と電気的に接続するための導電体を有するコンタクタ治具が用いられる。しかしながら、コンタクタ治具の導電体が有するインダクタンス等によって半導体デバイスの入出力信号が劣化すると、検査精度が低下する。
【0005】
本開示は、コンタクタ治具の導電体が有するインダクタンスを補償して、半導体デバイスの入出力信号の劣化を抑制することができるコンタクタ治具および検査治具を提供することを目的とする。
【課題を解決するための手段】
【0006】
本開示の一実施形態によるコンタクタ治具は、半導体デバイスの検査に用いられる。コンタクタ治具は、半導体デバイスの底面に設けられた高周波電極およびグランド電極それぞれと、前記半導体デバイスを搭載する搭載部の表面に設けられた第1電極および第2電極それぞれとを相互に接続する。コンタクタ治具は、絶縁性部材と、第1導電体および第2導電体と、を備える。絶縁性部材は、半導体デバイスの底面と対向する第1面、および搭載部の表面と対向する第2面を有する。第1導電体および第2導電体は、第1面から第2面にわたって絶縁性部材を貫通する。第1導電体および第2導電体は、第1面寄りに位置する第1端および第2面寄りに位置する第2端を有する。第1導電体および第2導電体は、第1面および第2面に沿った第1方向に並ぶ。第1導電体の第1端および第2端それぞれは、高周波電極および第1電極それぞれに接続される。第2導電体の第1端および第2端それぞれは、グランド電極および第2電極それぞれに接続される。第2導電体は、第1方向と交差し表面に沿った第2方向に延びている。第2導電体は、第2方向と交差する方向に突出する第1突出部分を有する。第1突出部分は、第2方向において第1導電体と並ぶ第1部分を含む。
【発明の効果】
【0007】
本開示によれば、コンタクタ治具の導電体が有するインダクタンスを補償して、半導体デバイスの入出力信号の劣化を抑制することができるコンタクタ治具および検査治具を提供できる。
【図面の簡単な説明】
【0008】
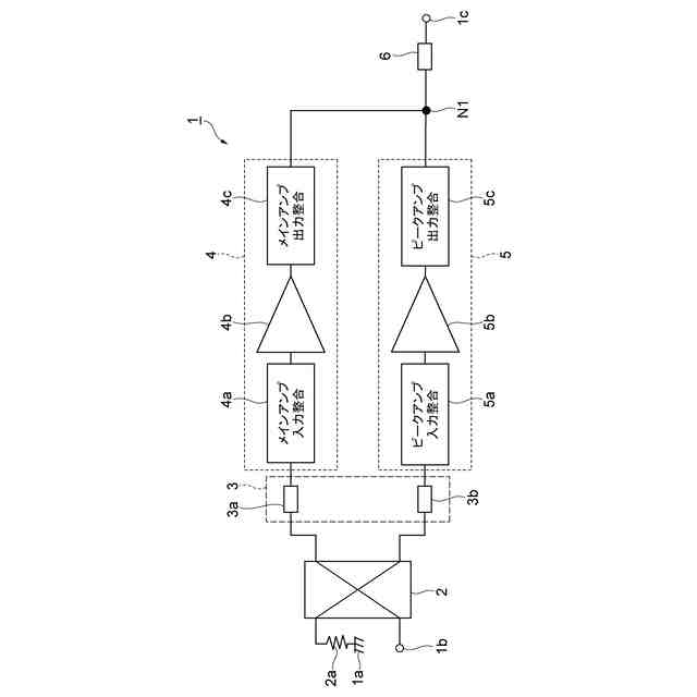
図1は、ドハティ増幅回路の構成を示す図である。
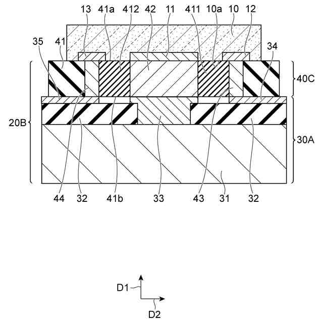
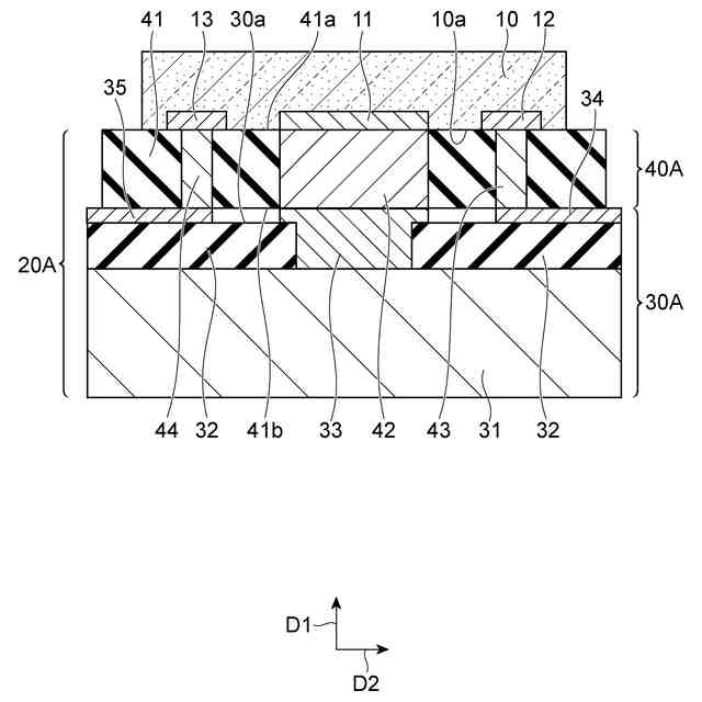
図2は、半導体デバイスおよび検査治具を示す側断面図である。
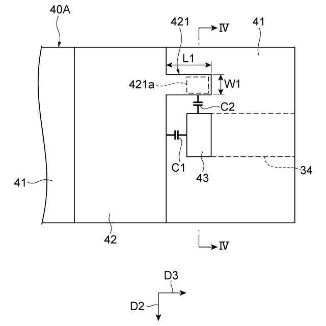
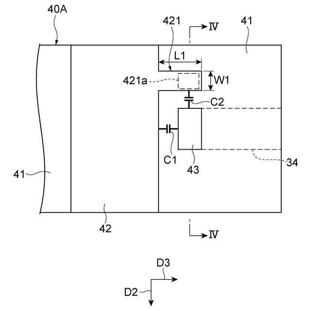
図3は、コンタクタ治具の一部を拡大して示す平面図である。
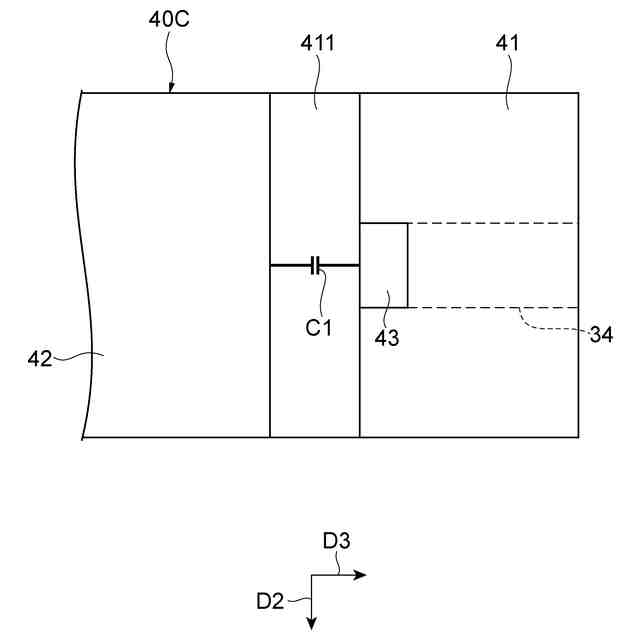
図4は、図3に示されたIV-IV線に沿った断面を示す図である。
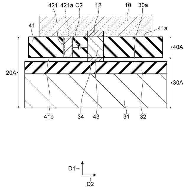
図5は、第1変形例に係るコンタクタ治具の一部を拡大して示す平面図である。
図6は、図5に示されたVI-VI線に沿った断面を示す図である。
図7は、検査治具を示す側断面図である。
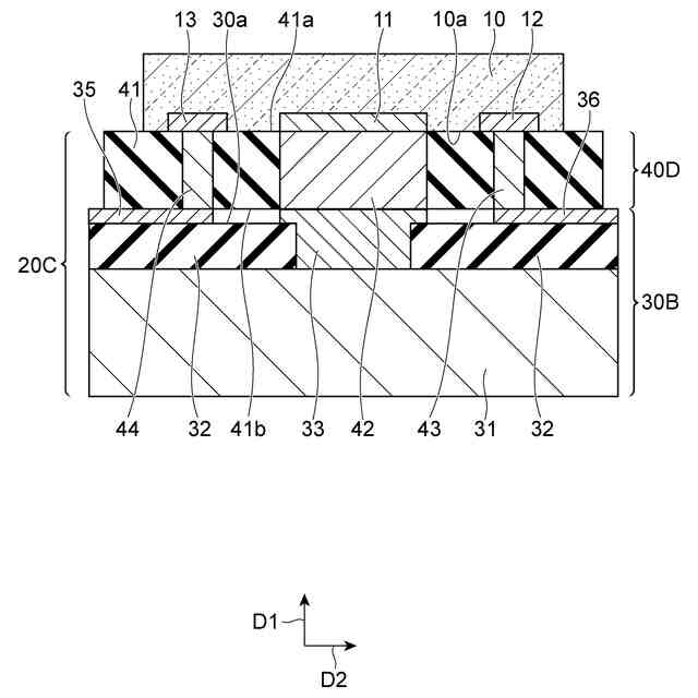
図8は、コンタクタ治具の一部を拡大して示す平面図である。
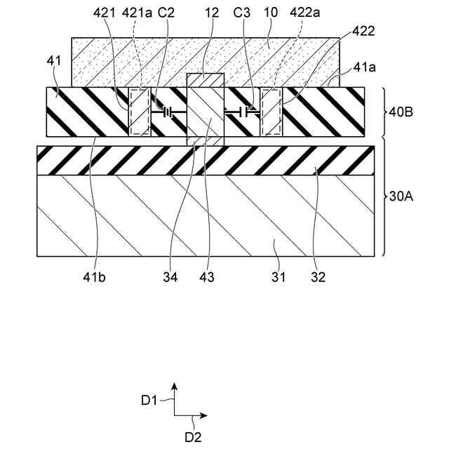
図9は、半導体デバイスおよび検査治具を示す側断面図である。
図10は、コンタクタ治具の一部を拡大して示す平面図である。
図11は、上記各実施形態の効果を検証したシミュレーション結果を示すスミスチャートである。
【発明を実施するための形態】
【0009】
[本開示の実施形態の説明]
最初に、本開示の実施形態の内容を列記して説明する。[1]本開示の一実施形態によるコンタクタ治具は、半導体デバイスの検査に用いられる。コンタクタ治具は、半導体デバイスが有するグランド電極および高周波電極それぞれと、半導体デバイスを搭載する搭載部が有する第1電極および第2電極それぞれとを相互に接続する。コンタクタ治具は、絶縁性部材と、第1導電体と、第2導電体とを備える。絶縁性部材は、半導体デバイスと搭載部との間に配置される。第1導電体は、半導体デバイスと搭載部との並び方向である第1方向に沿って絶縁性部材を貫通し、グランド電極を第1電極に接続する。第2導電体は、第1方向に沿って絶縁性部材を貫通し、第1方向と交差する第2方向において第1導電体と並んで設けられ、高周波電極を第2電極に接続する。第1導電体は、第1方向および第2方向の双方と交差する第3方向に延びている。第1導電体は、第3方向と交差する方向に突出する第1突出部分を有する。第1突出部分は、第3方向において第2導電体と並ぶ第1部分を含む。
【0010】
上記[1]のコンタクタ治具では、第1導電体がグランド電極を第1電極に接続し、第2導電体が高周波電極を第2電極に接続する。第1導電体と第2導電体との間には、第1導電体と第2導電体との間隔および対向面積に応じた大きさの容量が存在する。その容量は、第2導電体が有するインダクタンスを補償して、そのインダクタンスによる信号劣化を低減する。しかしながら、第1導電体と第2導電体との間隔および対向面積は、半導体デバイスのグランド電極および高周波電極の位置および大きさに依存するので、自由に変更することができない。そこで、上記[1]のコンタクタ治具では、第1導電体が第1突出部分を有し、第1突出部分は、第2導電体と並ぶ第1部分を含む。これにより、第1導電体と第2導電体との間の容量を増大させることができる。従って、上記[1]のコンタクタ治具によれば、第2導電体が有するインダクタンスをより効果的に補償して、そのインダクタンスによる信号劣化を抑制することができる。
(【0011】以降は省略されています)
この特許をJ-PlatPat(特許庁公式サイト)で参照する
関連特許
住友電気工業株式会社
分析方法
11日前
住友電気工業株式会社
高周波用電線
10日前
住友電気工業株式会社
充電システム
9日前
住友電気工業株式会社
光コネクタケーブル
9日前
住友電気工業株式会社
電線物理量測定装置
9日前
住友電気工業株式会社
OLT及び帯域割当方法
15日前
住友電気工業株式会社
半導体装置およびその製造方法
16日前
住友電気工業株式会社
コンタクタ治具および検査治具
1日前
住友電気工業株式会社
要因分析装置および要因分析方法
11日前
住友電気工業株式会社
方法、超電導線材、および制御システム
4日前
住友電気工業株式会社
センサシステム、座席、及びセンサユニット
11日前
住友電気工業株式会社
アクセスポイント装置および無線通信設定方法
15日前
住友電気工業株式会社
複合多孔質体、および複合多孔質体の製造方法
10日前
住友電気工業株式会社
半導体光素子、および半導体光素子の製造方法
9日前
住友電気工業株式会社
樹脂組成物、電線、樹脂組成物の製造方法、および電線の製造方法
1日前
住友電気工業株式会社
積層材の検査方法、積層材の製造方法、および積層材の検査システム
9日前
株式会社オートネットワーク技術研究所
車載装置
9日前
株式会社オートネットワーク技術研究所
コネクタ
11日前
株式会社オートネットワーク技術研究所
コネクタ
9日前
株式会社オートネットワーク技術研究所
コネクタ
11日前
株式会社オートネットワーク技術研究所
コネクタ
11日前
株式会社オートネットワーク技術研究所
接続構造体
9日前
株式会社オートネットワーク技術研究所
コネクタ装置
9日前
株式会社オートネットワーク技術研究所
コネクタ装置
9日前
株式会社オートネットワーク技術研究所
コネクタ装置
11日前
株式会社オートネットワーク技術研究所
コネクタ装置
11日前
株式会社オートネットワーク技術研究所
車載用制御装置
2日前
株式会社オートネットワーク技術研究所
ワイヤハーネス
15日前
株式会社オートネットワーク技術研究所
バスバー締結構造
15日前
株式会社オートネットワーク技術研究所
バスバー締結構造
15日前
住友電気工業株式会社
走行支援方法、走行支援装置、コンピュータプログラム、および走行支援システム
11日前
株式会社オートネットワーク技術研究所
ジョイントコネクタ
15日前
株式会社オートネットワーク技術研究所
コネクタのガイド構造
9日前
住友電工オプティフロンティア株式会社
光コネクタおよび光コネクタの取り付け方法
8日前
株式会社オートネットワーク技術研究所
機器モジュールの取付構造
10日前
株式会社オートネットワーク技術研究所
端子材料および電気接続端子
4日前
続きを見る
他の特許を見る