TOP
|
特許
|
意匠
|
商標
特許ウォッチ
Twitter
他の特許を見る
公開番号
2025155502
公報種別
公開特許公報(A)
公開日
2025-10-14
出願番号
2024113329
出願日
2024-07-16
発明の名称
方法、超電導線材、および制御システム
出願人
住友電気工業株式会社
代理人
弁理士法人深見特許事務所
主分類
H01B
13/00 20060101AFI20251002BHJP(基本的電気素子)
要約
【課題】超電導線材の製造工程の途中で形成される表面異常に起因する、超電導線材の歩留まりの低下を防止する。
【解決手段】本開示の方法は、超電導線材の製造工程における加工対象物の表面画像を取得するステップと、超電導線材の臨界電流値の分布を表す電流値分布を予測するステップと、少なくとも1つの第1部分、および少なくとも1つの第2部分に加工対象物を区分するステップとを含む。少なくとも1つの第1部分は、電流値分布において、長手方向における当該部分の位置での臨界電流値が基準値未満であると予測された部分である。少なくとも1つの第2部分は、電流値分布において、長手方向における当該部分の位置での臨界電流値が基準値以上であると予測された部分である。方法は、さらに、加工対象物から少なくとも1つの第1部分が切り離されるように加工対象物を切断するステップを含む。
【選択図】図16
特許請求の範囲
【請求項1】
超電導線材の製造工程において実施される方法であって、前記方法は、
前記超電導線材用の基板を含む、前記製造工程における加工対象物の表面画像を取得するステップと、
前記加工対象物の長手方向における、前記超電導線材の臨界電流値の分布を表す電流値分布を前記表面画像に従って予測するステップと、
少なくとも1つの第1部分、および少なくとも1つの第2部分に前記加工対象物を前記電流値分布の予測の結果に従って区分するステップとを含み、
前記少なくとも1つの第1部分は、前記電流値分布において、前記長手方向における当該部分の位置での前記臨界電流値が基準値未満であると予測された部分であり、
前記少なくとも1つの第2部分は、前記電流値分布において、前記長手方向における当該部分の位置での前記臨界電流値が前記基準値以上であると予測された部分であり、
前記方法は、さらに、
前記加工対象物から前記少なくとも1つの第1部分が切り離されるように前記加工対象物を切断するステップを含む、方法。
続きを表示(約 1,700 文字)
【請求項2】
前記少なくとも1つの第2部分は、前記長手方向において基準長さ未満の長さを有する複数の第3部分を含み、
前記方法は、さらに、
前記長手方向における、前記複数の第3部分の長さの合計が前記基準長さ以上である場合に、前記加工対象物の切断後に前記長手方向において前記複数の第3部分を接合するステップを含む、請求項1に記載の方法。
【請求項3】
前記少なくとも1つの第2部分の、前記長手方向における両端をマーキングするステップをさらに含む、請求項1に記載の方法。
【請求項4】
前記少なくとも1つの第2部分は、少なくとも1つの第4部分と、少なくとも1つの第5部分とを含み、
前記少なくとも1つの第4部分は、前記電流値分布において、前記長手方向における当該部分の位置での前記臨界電流値が前記基準値以上のしきい値未満であると予測された部分であり、
前記少なくとも1つの第5部分は、前記電流値分布において、前記長手方向における当該部分の位置での前記臨界電流値が前記しきい値以上であると予測された部分であり、
前記方法は、さらに、
前記少なくとも1つの第4部分の、前記長手方向における両端に第1マーキングを形成するとともに、前記少なくとも1つの第5部分の、前記長手方向における両端に前記第1マーキングとは異なる第2マーキングを形成するステップを含む、請求項1に記載の方法。
【請求項5】
前記製造工程は、前記基板を研磨する工程を含み、
前記加工対象物は、研磨前の前記基板としての未研磨基板を含み、
前記表面画像は、前記未研磨基板の表面を表す画像を含む、請求項1に記載の方法。
【請求項6】
前記製造工程は、前記基板を研磨する工程を含み、
前記加工対象物は、研磨後の前記基板としての研磨済基板を含み、
前記表面画像は、前記研磨済基板の表面を表す画像を含む、請求項1に記載の方法。
【請求項7】
前記製造工程は、
前記基板を研磨する工程と、
研磨後の前記基板上に中間層を形成する工程とを含み、
前記加工対象物は、研磨後の前記基板、および前記中間層を含む第1積層材を含み、
前記表面画像は、前記第1積層材の表面としての前記中間層の表面を表す画像を含む、請求項1に記載の方法。
【請求項8】
前記製造工程は、
前記基板を研磨する工程と、
研磨後の前記基板上に中間層を形成する工程と、
前記中間層上に超電導層を形成する工程とを含み、
前記加工対象物は、研磨後の前記基板、前記中間層、および前記超電導層を含む第2積層材を含み、
前記表面画像は、前記第2積層材の表面としての前記超電導層の表面を表す画像を含む、請求項1に記載の方法。
【請求項9】
前記製造工程は、
前記基板を研磨する工程と、
研磨後の前記基板上に中間層を形成する工程と、
前記中間層上に超電導層を形成する工程と、
前記超電導層の上に保護層を形成する工程とを含み、
前記加工対象物は、研磨後の前記基板、前記中間層、前記超電導層、および前記保護層を含む第3積層材を含み、
前記表面画像は、前記第3積層材の表面としての前記保護層の表面を表す画像を含む、請求項1に記載の方法。
【請求項10】
前記製造工程は、
前記基板を研磨する工程と、
研磨後の前記基板上に中間層を形成する工程と、
前記中間層上に超電導層を形成する工程と、
前記超電導層の上に保護層を形成する工程と、
前記保護層上に安定化層を形成する工程とを含み、
前記加工対象物は、研磨後の前記基板、前記中間層、前記超電導層、前記保護層、および前記安定化層を含む第4積層材を含み、
前記表面画像は、前記第4積層材の表面としての前記安定化層の表面を表す画像を含む、請求項1に記載の方法。
(【請求項11】以降は省略されています)
発明の詳細な説明
【技術分野】
【0001】
本開示は、方法、超電導線材、および制御システムに関する。
続きを表示(約 3,400 文字)
【背景技術】
【0002】
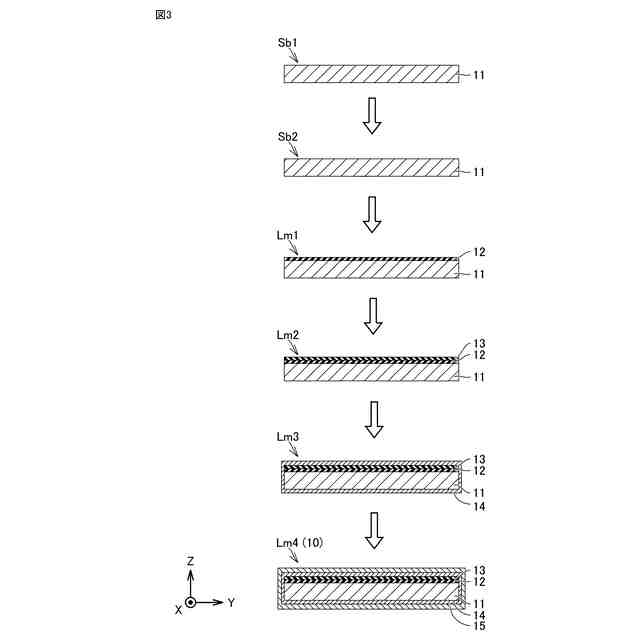
従来、超電導層を含む複数の層が積層されることによって製造される積層材が知られている。たとえば、特開2015-198015号公報(特許文献1)には、金属基板とセラミック製の中間層と酸化物超電導層とAg保護層とCu安定化層とが積層されることによって形成された酸化物超電導薄膜線材が開示されている。Cu安定化層は、金属基板とセラミック製の中間層と酸化物超電導層とAg保護層とがこの順に積層された積層体の外周に形成されている。
【先行技術文献】
【特許文献】
【0003】
特開2015-198015号公報
【非特許文献】
【0004】
Mark Friesen and Alex Gurevich, "Nonlinear current flow in superconductors with restricted geometries", PHYSICAL REVIEW B, VOLUME 63, 064521
【発明の概要】
【発明が解決しようとする課題】
【0005】
酸化物超電導薄膜線材などの超電導線材の製造工程の途中では、基板または積層材などの加工対象物の表面に異常が形成されることがある。そのような表面異常は、完成品としての超電導線材の臨界電流値を低下させ得る。表面異常が残存する場合、所望の臨界電流値を有する超電導線材の割合(歩留まり)が低下し得る。
【0006】
本開示は、上記のような問題を解決するためになされたものであって、その目的は、超電導線材の製造工程の途中で形成される加工対象物の表面異常に起因する、超電導線材の歩留まりの低下を防止することである。
【課題を解決するための手段】
【0007】
本開示の方法は、超電導線材の製造工程において実施される。方法は、超電導線材用の基板を含む、製造工程における加工対象物の表面画像を取得するステップと、加工対象物の長手方向における、超電導線材の臨界電流値の分布を表す電流値分布を表面画像に従って予測するステップと、少なくとも1つの第1部分、および少なくとも1つの第2部分に加工対象物を電流値分布の予測の結果に従って区分するステップとを含む。少なくとも1つの第1部分は、電流値分布において、長手方向における当該部分の位置での臨界電流値が基準値未満であると予測された部分である。少なくとも1つの第2部分は、電流値分布において、長手方向における当該部分の位置での臨界電流値が基準値以上であると予測された部分である。方法は、さらに、加工対象物から少なくとも1つの第1部分が切り離されるように加工対象物を切断するステップを含む。
【0008】
本開示の超電導線材は、上記の方法の実施により製造される。
本開示のシステムは、撮影装置と、切断装置と、制御装置とを備える。撮影装置は、超電導線材用の基板を含む、超電導線材の製造工程における加工対象物を撮像して加工対象物の表面画像を生成する。切断装置は、加工対象物を切断するように構成されている。制御装置は、予測処理、区分処理、および切断制御を実行する。予測処理は、加工対象物の長手方向における、超電導線材の臨界電流値の分布を表す電流値分布を表面画像に従って予測する処理である。区分処理は、少なくとも1つの第1部分、および少なくとも1つの第2部分に加工対象物を電流値分布に従って区分する処理である。少なくとも1つの第1部分は、電流値分布において、長手方向における当該部分の位置での臨界電流値が基準値未満であると予測された部分である。少なくとも1つの第2部分は、電流値分布において、長手方向における当該部分の位置での臨界電流値が基準値以上であると予測された部分である。切断制御は、加工対象物から少なくとも1つの第1部分が切り離されるように切断装置が加工対象物を切断するように切断装置を制御することである。
【発明の効果】
【0009】
本開示によれば、超電導線材の製造工程の途中で形成される加工対象物の表面異常に起因する超電導線材の歩留まりの低下を防止することができる。
【図面の簡単な説明】
【0010】
図1は、実施の形態1に従う超電導線材の断面図である。
図2は、超電導線材10の製造工程の概要を説明するための図である。
図3は、超電導線材10の製造工程の概要を説明するための図である。
図4は、実施の形態1に従う制御システムの一例を説明するための図である。
図5は、ストレージ196に記憶されるデータを説明するための図である。
図6は、予測処理の手法の一例を説明するための図である。
図7は、予測処理の手法の一例を説明するための図である。
図8は、予測処理の手法の別の例を説明するための図である。
図9は、予測処理の手法のさらに別の例を説明するための図である。
図10は、予測処理の手法のさらに別の例を説明するための図である。
図11は、グレーディング処理を具体的に説明するための図である。
図12は、実施の形態1において実行される区分処理の一例を説明するための図である。
図13は、実施の形態1において実行される切断制御の一例を説明するための図である。
図14は、実施の形態1において実行される区分処理および切断制御の別の例を説明するための図である。
図15は、実施の形態1において実行される区分処理および切断制御のさらに別の例を説明するための図である。
図16は、実施の形態1において制御装置190により実行される処理の一例を表すフローチャートである。
図17は、S110の詳細な手順の一例を表すフローチャートである。
図18は、S110の詳細な手順の別の例を表すフローチャートである。
図19は、S110の詳細な手順のさらに別の例を表すフローチャートである。
図20は、S110の詳細な手順のさらに別の例を表すフローチャートである。
図21は、変形例1における制御装置190の処理を説明するための図である。
図22は、変形例1において制御装置190により実行される処理の一例を表すフローチャートである。
図23は、変形例2において制御装置190により実行される制御を説明するための図である。
図24は、変形例2において制御装置190により実行される処理を表すフローチャートである。
図25は、変形例3において制御装置190により実行される処理を説明するための図である。
図26は、変形例4に従う制御システムの一例を説明するための図である。
図27は、変形例4に従う制御システムの別の例を説明するための図である。
図28は、長手方向における加工対象物の長さが超電導線材の製造工程において変化する様子を表す図である。
図29は、実施の形態2における、超電導線材の製造工程の概要を説明するためのフローチャートである。
図30は、実施の形態2における、超電導線材の製造工程の概要を説明するためのフローチャートである。
図31は、実施の形態2における、超電導線材の製造工程の概要を説明するためのフローチャートである。
図32は、実施の形態2における進捗度情報の一例を表す図である。
図33は、第1所定値の設定時に制御装置により実行される処理を例示するフローチャートである。
図34は、N個の超電導線材を製造する製造工程において、各超電導線材について、当該超電導線材用の加工対象物の長さが変化する様子を表す図である。
図35は、実施の形態2の変形例における、N個の超電導線材の製造工程の概要を説明するためのフローチャートである。
図36は、実施の形態2の変形例における進捗度情報の一例を表す図である。
【発明を実施するための形態】
(【0011】以降は省略されています)
この特許をJ-PlatPat(特許庁公式サイト)で参照する
関連特許
住友電気工業株式会社
コンタクタ治具および検査治具
2日前
住友電気工業株式会社
方法、超電導線材、および制御システム
5日前
住友電気工業株式会社
樹脂組成物、電線、樹脂組成物の製造方法、および電線の製造方法
2日前
株式会社オートネットワーク技術研究所
コネクタ装置
10日前
株式会社オートネットワーク技術研究所
車載用制御装置
3日前
住友電工オプティフロンティア株式会社
光コネクタおよび光コネクタの取り付け方法
9日前
株式会社オートネットワーク技術研究所
端子材料および電気接続端子
9日前
株式会社オートネットワーク技術研究所
筐体、および車両用充電装置
9日前
株式会社オートネットワーク技術研究所
端子材料および電気接続端子
5日前
株式会社オートネットワーク技術研究所
端子材料および電気接続端子
5日前
株式会社オートネットワーク技術研究所
端子金具、実装基板及び基板装置
4日前
株式会社オートネットワーク技術研究所
金属部材および金属部材の製造方法
9日前
株式会社オートネットワーク技術研究所
電気接続箱、及び電気接続箱の製造方法
4日前
住友電気工業株式会社
出力制御ユニット、電力変換装置、電力変換システム、電池残量管理方法およびコンピュータプログラム
2日前
株式会社オートネットワーク技術研究所
車載更新システム、車載装置、及び車載ECU
5日前
株式会社オートネットワーク技術研究所
電線導体、絶縁電線、およびワイヤーハーネス
9日前
株式会社オートネットワーク技術研究所
クランプ、ワイヤハーネス及びクランプセット
2日前
株式会社オートネットワーク技術研究所
ワイヤハーネス
2日前
株式会社オートネットワーク技術研究所
シールド導電路
4日前
株式会社オートネットワーク技術研究所
ワイヤハーネス
2日前
日本発條株式会社
積層体
20日前
個人
フレキシブル電気化学素子
9日前
ローム株式会社
半導体装置
11日前
ローム株式会社
半導体装置
16日前
株式会社ユーシン
操作装置
9日前
ローム株式会社
半導体装置
18日前
日新イオン機器株式会社
イオン源
5日前
個人
防雪防塵カバー
20日前
ローム株式会社
半導体装置
18日前
ローム株式会社
半導体装置
18日前
太陽誘電株式会社
コイル部品
9日前
株式会社GSユアサ
蓄電装置
16日前
個人
半導体パッケージ用ガラス基板
19日前
太陽誘電株式会社
全固体電池
16日前
株式会社GSユアサ
蓄電設備
9日前
株式会社ホロン
冷陰極電子源
16日前
続きを見る
他の特許を見る