TOP
|
特許
|
意匠
|
商標
特許ウォッチ
Twitter
他の特許を見る
公開番号
2025155559
公報種別
公開特許公報(A)
公開日
2025-10-14
出願番号
2024145447
出願日
2024-08-27
発明の名称
端子材料および電気接続端子
出願人
株式会社オートネットワーク技術研究所
,
住友電装株式会社
,
住友電気工業株式会社
代理人
弁理士法人上野特許事務所
主分類
H01R
13/03 20060101AFI20251002BHJP(基本的電気素子)
要約
【課題】添加剤の添加によって耐摩耗性を高めたAg被覆層を有する端子材料および電気接続端子であって、腐食が抑えられた端子材料および電気接続端子を提供する。
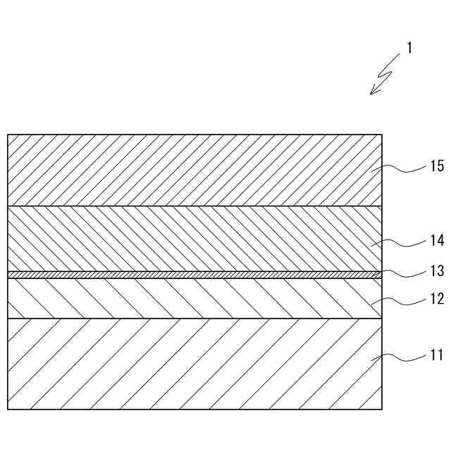
【解決手段】基材11と、AgまたはAg合金より構成され、前記基材11の表面を被覆するストライク層13と、AgまたはAg合金より構成され、前記ストライク層13の表面に接触して、前記ストライク層13の表面を被覆する中間層14と、Agと、含硫黄有機化合物および炭素材料の少なくとも一方と、を含み、前記中間層14の表面に接触して、前記中間層14の表面を被覆する表層15と、を有し、前記ストライク層13および前記中間層14は、前記表層15よりもAgの純度が高く、前記中間層14は、前記ストライク層13よりも厚くなっている、端子材料1とする。また、前記端子材料1を含んで構成される電気接続端子とする。
【選択図】図1
特許請求の範囲
【請求項1】
基材と、
AgまたはAg合金より構成され、前記基材の表面を被覆するストライク層と、
AgまたはAg合金より構成され、前記ストライク層の表面に接触して、前記ストライク層の表面を被覆する中間層と、
Agと、含硫黄有機化合物および炭素材料の少なくとも一方と、を含み、前記中間層の表面に接触して、前記中間層の表面を被覆する表層と、を有し、
前記ストライク層および前記中間層は、前記表層よりもAgの純度が高く、
前記中間層は、前記ストライク層よりも厚くなっている、端子材料。
続きを表示(約 420 文字)
【請求項2】
前記中間層を構成する結晶粒の平均粒径は、前記ストライク層の厚さよりも大きい、請求項1に記載の端子材料。
【請求項3】
前記中間層を構成する結晶粒の平均粒径は、前記ストライク層を構成する結晶粒の平均粒径よりも大きい、請求項1に記載の端子材料。
【請求項4】
前記中間層の厚さは、0.4μm以上、3.0μm以下である、請求項1に記載の端子材料。
【請求項5】
前記基材は、CuまたはCu合金より構成され、
前記基材と前記ストライク層との間に、NiまたはNi合金より構成された下地層をさらに有する、請求項1に記載の端子材料。
【請求項6】
請求項1から請求項5のいずれか1項に記載の端子材料を含んで構成され、少なくとも、相手方導電部材と接触する電気接点部において、前記基材の表面に、前記ストライク層、前記中間層、前記表層が形成されている、電気接続端子。
発明の詳細な説明
【技術分野】
【0001】
本開示は、端子材料および電気接続端子に関する。
続きを表示(約 2,400 文字)
【背景技術】
【0002】
自動車において、大電流用等の用途の電気接続端子として、Ag被覆層を表面に設けた電気接続端子が用いられる場合がある。Ag被覆層を表面に設けた端子は、耐熱性や耐食性、導電性に優れる一方、Agが軟らかく凝着を起こしやすい性質を有することに起因し、摺動を受けた際に、表面の摩耗を起こしやすい。そこで、耐熱性や導電性等、Agの優れた特性を利用しながら、摩耗を抑えるための手段の1つとして、Ag被覆層にSe等の添加元素を含有させることで、Ag被覆層の硬度を高め、硬質銀層とする手法がとられる場合がある。
【0003】
しかし、端子表面のAg被覆層を、Se等の添加元素の含有により、硬質銀層とすることでは、耐摩耗性を十分に向上させられない場合が生じうる。例えば、端子の大電流化に伴い、電気接点に高接触荷重を印加する必要が生じるが、そのように高接触荷重を印加して電気接点を摺動させる場合に、従来一般の硬質銀層では、必要とされる耐摩耗性を十分に満たせない場合がある。そのような場合に、端子の表面に設けるAg被覆層として、従来一般の硬質銀層よりも耐摩耗性に優れたAg被覆層を適用することが考えられる。例えば、特許文献1に、ベンゾチアゾール類またはその誘導体を含む銀めっき液を用いて、素材上に銀からなる表層を形成して銀めっき材を製造することが開示されている。これにより、従来よりも耐摩耗性に優れた銀めっき材が得られると記載されている。また、特許文献2に、Ag-グラフェン複合めっき膜により被覆された基板を有する金属製部品であって、Ag-グラフェン複合めっき膜に分散されたグラフェンが、特定のサイズおよび含有量、配置方向を有するものが開示されている。これにより、銀めっき膜について導電性向上と耐摩耗性改善が両立されると記載されている。
【先行技術文献】
【特許文献】
【0004】
特開2022-048977号公報
特開2022-170877号公報
【発明の概要】
【発明が解決しようとする課題】
【0005】
特許文献1,2に開示されている形態のように、電気接続端子に設けるAg被覆層に、有機化合物、あるいはグラフェン等、炭素材料よりなる添加剤を添加することで、耐摩耗性を向上させることができる。しかし、そのように添加剤を添加したAg被覆層を有する端子材料においては、端子材料の腐食が問題になる場合がある。端子材料の腐食が進行すると、表面の接触抵抗が増大することにより、電気接続端子の電気接点において安定した電気的接続を形成し、維持することが難しくなる。Ag被覆層を有する端子材料の腐食は、電気接続端子の輸送中や使用中において、高温・高湿環境に置かれることや、電解質液や腐食性ガスなど、腐食性の物質に接触することで、起こりうる。Ag被覆層を有する端子材料において、高い耐摩耗性を有することに加え、高温・高湿や腐食性物質との接触等、腐食の起こりやすい環境を経ても、低接触抵抗を保てるように、端子材料の耐食性を高めることが望まれる。
【0006】
以上に鑑み、添加剤の添加によって耐摩耗性を高めたAg被覆層を有する端子材料および電気接続端子であって、腐食が抑えられた端子材料および電気接続端子を提供することを課題とする。
【課題を解決するための手段】
【0007】
本開示の端子材料は、基材と、AgまたはAg合金より構成され、前記基材の表面を被覆するストライク層と、AgまたはAg合金より構成され、前記ストライク層の表面に接触して、前記ストライク層の表面を被覆する中間層と、Agと、含硫黄有機化合物および炭素材料の少なくとも一方と、を含み、前記中間層の表面に接触して、前記中間層の表面を被覆する表層と、を有し、前記ストライク層および前記中間層は、前記表層よりもAgの純度が高く、前記中間層は、前記ストライク層よりも厚くなっている。
【0008】
本開示の電気接続端子は、前記端子材料を含んで構成され、少なくとも、相手方導電部材と接触する電気接点部において、前記基材の表面に、前記ストライク層、前記中間層、前記表層が形成されている。
【発明の効果】
【0009】
本開示の端子材料および電気接続端子は、添加剤の添加によって耐摩耗性を高めたAg被覆層を有する端子材料および電気接続端子であって、腐食が抑えられたものとなる。
【図面の簡単な説明】
【0010】
図1は、本開示の一実施形態にかかる端子材料の構成を模式的に示す断面図である。
図2は、本開示の一実施形態にかかる電気接続端子の構造を示す斜視図である。
図3A,3Bは、端子材料の断面を観察した電子顕微鏡像である。図3Aは低倍率像であり、図3Bは図3Aの中間層の近傍を拡大して観察した高倍率像である。
図4A,4Bは、表層に含硫黄有機化合物を添加した場合について、腐食試験における中間層の厚さと接触抵抗の関係を示す図である。腐食試験として、図4Aは塩水噴霧を行った場合、図4Bは4種混合ガスの接触を行った場合を示している。それぞれ、腐食試験前のデータと腐食試験後のデータを表示している。
図5A,5Bは、表層にグラファイトを添加した場合について、腐食試験における中間層の厚さと接触抵抗の関係を示す図である。腐食試験として、図5Aは塩水噴霧を行った場合、図5Bは4種混合ガスの接触を行った場合を示している。それぞれ、腐食試験前のデータと腐食試験後のデータを表示している。
【発明を実施するための形態】
(【0011】以降は省略されています)
この特許をJ-PlatPat(特許庁公式サイト)で参照する
関連特許
日本発條株式会社
積層体
20日前
個人
フレキシブル電気化学素子
9日前
日新イオン機器株式会社
イオン源
5日前
ローム株式会社
半導体装置
18日前
ローム株式会社
半導体装置
18日前
ローム株式会社
半導体装置
11日前
株式会社ユーシン
操作装置
9日前
個人
防雪防塵カバー
20日前
ローム株式会社
半導体装置
18日前
ローム株式会社
半導体装置
16日前
株式会社GSユアサ
蓄電装置
16日前
株式会社ホロン
冷陰極電子源
16日前
個人
半導体パッケージ用ガラス基板
19日前
株式会社GSユアサ
蓄電設備
9日前
オムロン株式会社
電磁継電器
10日前
株式会社ホロン
冷陰極電子源
3日前
太陽誘電株式会社
コイル部品
9日前
太陽誘電株式会社
全固体電池
16日前
株式会社GSユアサ
蓄電装置
20日前
株式会社GSユアサ
蓄電設備
9日前
日本特殊陶業株式会社
保持装置
16日前
日本特殊陶業株式会社
保持装置
18日前
TDK株式会社
電子部品
16日前
日本特殊陶業株式会社
保持装置
16日前
ローム株式会社
電子装置
20日前
トヨタ自動車株式会社
二次電池
20日前
サクサ株式会社
電池の固定構造
9日前
ノリタケ株式会社
熱伝導シート
9日前
日東電工株式会社
積層体
10日前
トヨタ自動車株式会社
蓄電装置
9日前
トヨタ自動車株式会社
バッテリ
10日前
日本特殊陶業株式会社
保持装置
20日前
日本特殊陶業株式会社
電極
16日前
日本特殊陶業株式会社
電極
16日前
日本特殊陶業株式会社
電極
16日前
住友電装株式会社
コネクタ
20日前
続きを見る
他の特許を見る