TOP
|
特許
|
意匠
|
商標
特許ウォッチ
Twitter
他の特許を見る
10個以上の画像は省略されています。
公開番号
2025158485
公報種別
公開特許公報(A)
公開日
2025-10-17
出願番号
2024061063
出願日
2024-04-04
発明の名称
管理装置及び管理方法
出願人
サクサ株式会社
代理人
弁理士法人創光国際特許事務所
主分類
H04M
11/00 20060101AFI20251009BHJP(電気通信技術)
要約
【課題】機器の状態を検知する複数の検知装置を緊急度に応じて適切な順序で交換できるようにする。
【解決手段】機器の状態を検知する複数の検知装置のうち、利用期限から所定の範囲内の交換候補装置を特定する特定部442と、交換候補装置の使用状況に基づいて、交換候補装置の交換緊急度を決定する決定部443と、決定部443が決定した交換緊急度を出力する出力部444部と、を有する。管理装置400は、検知装置が利用期限から所定の範囲内であることを示す通知データを検知装置から受信する受信処理部441をさらに備え、特定部442は、利用期限から所定の範囲内の検知装置を交換候補装置として特定してもよい。
【選択図】図2
特許請求の範囲
【請求項1】
機器の状態を検知する複数の検知装置のうち、利用期限から所定の範囲内の交換候補装置を特定する特定部と、
前記交換候補装置の使用状況に基づいて、前記交換候補装置の交換緊急度を決定する決定部と、
前記決定部が決定した前記交換緊急度を出力する出力部と、
を有する管理装置。
続きを表示(約 1,000 文字)
【請求項2】
前記検知装置が前記利用期限から前記所定の範囲内であることを示す通知データを当該検知装置から受信する受信処理部をさらに備え、
前記特定部は、前記利用期限から前記所定の範囲内の前記検知装置を前記交換候補装置として特定する、
請求項1に記載の管理装置。
【請求項3】
前記決定部は、前記交換候補装置を経由する通信経路を介して通信可能な前記検知装置が存在し、かつ当該通信経路以外の通信経路により前記管理装置が当該検知装置と通信することができないという前記使用状況の前記交換候補装置の前記交換緊急度を、前記交換候補装置を経由する前記通信経路以外の通信経路により前記管理装置が当該検知装置と通信することが可能であるという前記使用状況の前記交換候補装置の前記交換緊急度よりも大きくする、
請求項1又は2に記載の管理装置。
【請求項4】
前記決定部は、直前の所定期間内において前記機器の状態を示す検針値の変動を検知したという前記使用状況の前記交換候補装置の前記交換緊急度を、前記所定期間内において前記検針値の変動を検知していないという前記使用状況の前記交換候補装置の前記交換緊急度に比べて高くする、
請求項1又は2に記載の管理装置。
【請求項5】
前記検知装置の利用期限までの期間と、前記検知装置を経由する通信経路に他の前記検知装置が依存する程度を示す依存度と、前記交換緊急度とを関連付けた管理テーブルを記憶する記憶部をさらに備え、
前記決定部は、前記管理テーブルを参照して前記交換緊急度を決定する、
請求項1又は2に記載の管理装置。
【請求項6】
前記出力部は、前記決定部が決定した前記交換緊急度の順に、前記交換緊急度に対応する前記交換候補装置に対して、前記交換候補装置を休止させるための制御信号を出力する、
請求項1又は2に記載の管理装置。
【請求項7】
コンピュータが実行する、
機器の状態を検知する複数の検知装置のうち、利用期限から所定の範囲内の交換候補装置を特定するステップと、
前記交換候補装置の使用状況に基づいて、前記交換候補装置の交換緊急度を決定するステップと、
決定した前記交換緊急度を出力するステップと、
を有する管理方法。
発明の詳細な説明
【技術分野】
【0001】
本発明は、機器の状態を検知する検知装置を管理するための管理装置及び管理方法に関する。
続きを表示(約 1,800 文字)
【背景技術】
【0002】
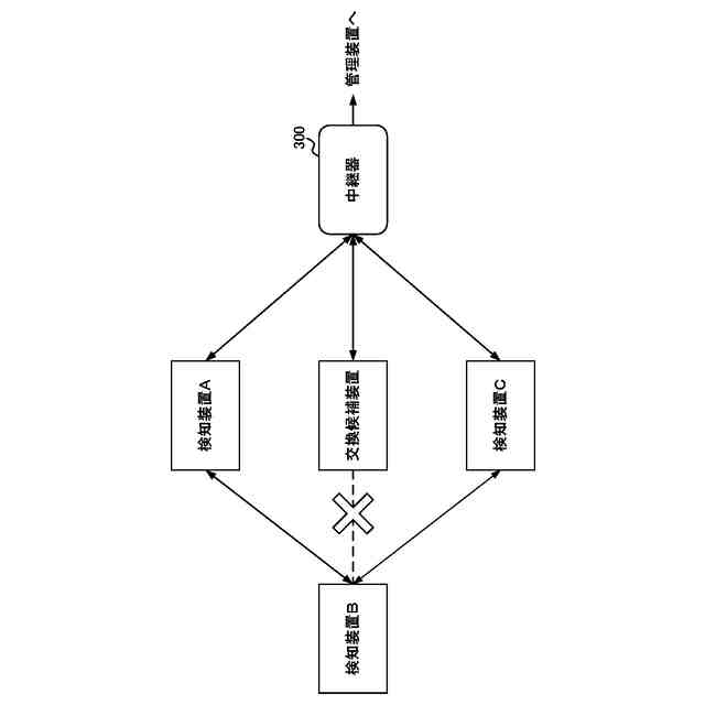
メータやセンサ等の端末機器の状態を検知する複数の子機から検知データを受信することにより端末機器の状態を管理するセンタ装置が知られている(例えば、特許文献1)。
【先行技術文献】
【特許文献】
【0003】
特許第5051607号公報
【発明の概要】
【発明が解決しようとする課題】
【0004】
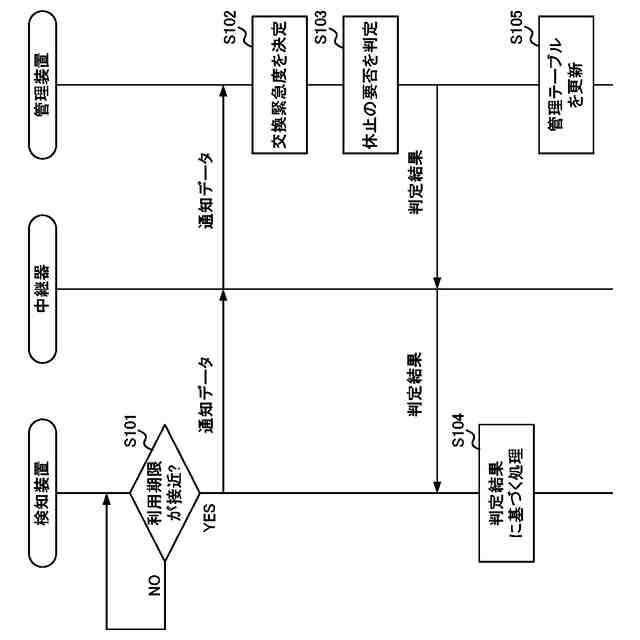
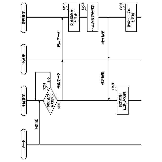
利用期限が到来した子機を使用し続けると、部品劣化・電池低下などの故障による誤作動により検知データが正常にセンタ装置に送信されなくなる場合がある。子機が他の端末と通信して連携するシステムにおいて、経年劣化による子機の故障が周囲の端末の動作にも影響を与えてしまい、周囲の端末が検知データをセンタ装置に送信できなくなる事象に発展する場合もある。そこで、利用期限が近づいた子機を順次交換する必要がある。しかし、多くの子機を交換するには費用と時間がかかるため、故障してから端末交換されているという実態がある。また、利用期限からは、端末が故障した時の影響が分からないことから、故障時の影響度が低い子機を先に交換してしまうと、故障時の影響度が高い子機の交換が遅れてしまうことで、子機が故障時の運用サービスへの影響が大きくなってしまうという問題があった。
【0005】
そこで、本発明はこれらの点に鑑みてなされたものであり、機器の状態を検知する複数の検知装置を緊急度に応じて適切な順序で交換できるようにすることを目的とする。
【課題を解決するための手段】
【0006】
本発明の第1の態様の管理装置は、機器の状態を検知する複数の検知装置のうち、利用期限から所定の範囲内の交換候補装置を特定する特定部と、前記交換候補装置の使用状況に基づいて、前記交換候補装置の交換緊急度を決定する決定部と、前記決定部が決定した前記交換緊急度を出力する出力部と、を有する。
【0007】
前記管理装置は、前記検知装置が前記利用期限から前記所定の範囲内であることを示す通知データを当該検知装置から受信する受信処理部をさらに備え、前記特定部は、前記利用期限から前記所定の範囲内の前記検知装置を前記交換候補装置として特定してもよい。前記決定部は、前記交換候補装置を経由する通信経路を介して通信可能な前記検知装置が存在し、かつ当該通信経路以外の通信経路により前記管理装置が当該検知装置と通信することができないという前記使用状況の前記交換候補装置の前記交換緊急度を、前記交換候補装置を経由する前記通信経路以外の通信経路により前記管理装置が当該検知装置と通信することが可能であるという前記使用状況の前記交換候補装置の前記交換緊急度よりも大きくしてもよい。
【0008】
前記決定部は、直前の所定期間内において前記機器の状態を示す検針値の変動を検知したという前記使用状況の前記交換候補装置の前記交換緊急度を、前記所定期間内において前記検針値の変動を検知していないという前記使用状況の前記交換候補装置の前記交換緊急度に比べて高くしてもよい。前記管理装置は、前記検知装置の利用期限までの期間と、前記検知装置を経由する通信経路に他の前記検知装置が依存する程度を示す依存度と、前記交換緊急度とを関連付けた管理テーブルを記憶する記憶部をさらに備え、前記決定部は、前記管理テーブルを参照して前記交換緊急度を決定してもよい。前記出力部は、前記決定部が決定した前記交換緊急度の順に、前記交換緊急度に対応する前記交換候補装置に対して、前記交換候補装置を休止させるための制御信号を出力してもよい。
【0009】
本発明の第2の態様の管理方法は、コンピュータが実行する、機器の状態を検知する複数の検知装置のうち、利用期限から所定の範囲内の交換候補装置を特定するステップと、前記交換候補装置の使用状況に基づいて、前記交換候補装置の交換緊急度を決定するステップと、決定した前記交換緊急度を出力するステップと、を有する。
【発明の効果】
【0010】
本発明によれば、機器の状態を検知する複数の検知装置を緊急度に応じて適切な順序で交換できるようにするという効果を奏する。
【図面の簡単な説明】
(【0011】以降は省略されています)
この特許をJ-PlatPat(特許庁公式サイト)で参照する
関連特許
サクサ株式会社
中継装置
23日前
サクサ株式会社
中継装置
22日前
サクサ株式会社
中継装置
1か月前
サクサ株式会社
無線システム
21日前
サクサ株式会社
無線通信装置
22日前
サクサ株式会社
無線通信装置
22日前
サクサ株式会社
電池の固定構造
21日前
サクサ株式会社
開き角度規制構造
21日前
サクサ株式会社
管理装置及び管理方法
14日前
サクサ株式会社
通信装置及びプログラム
3日前
サクサ株式会社
選曲装置及び選曲プログラム
21日前
サクサ株式会社
クッキー終端処理プログラム及び中継装置
21日前
個人
イヤーマフ
7日前
個人
監視カメラシステム
16日前
キーコム株式会社
光伝送線路
17日前
個人
スイッチシステム
1日前
サクサ株式会社
中継装置
22日前
サクサ株式会社
中継装置
23日前
個人
スキャン式車載用撮像装置
16日前
WHISMR合同会社
収音装置
1か月前
アイホン株式会社
電気機器
1か月前
個人
映像表示装置、及びARグラス
2日前
キヤノン電子株式会社
画像読取装置
1か月前
キヤノン電子株式会社
画像読取装置
1日前
株式会社リコー
画像形成装置
9日前
ヤマハ株式会社
放音制御装置
1日前
サクサ株式会社
無線システム
21日前
サクサ株式会社
無線通信装置
22日前
サクサ株式会社
無線通信装置
22日前
個人
ワイヤレスイヤホン対応耳掛け
1か月前
キヤノン電子株式会社
画像読取装置
15日前
個人
発信機及び発信方法
21日前
日本電気株式会社
海底分岐装置
17日前
キヤノン株式会社
撮像システム
1か月前
株式会社NTTドコモ
端末
17日前
沖電気工業株式会社
画像形成装置
1か月前
続きを見る
他の特許を見る